МАЛОГАБАРИТНЫЙ СИГНАЛ-ГЕНЕРАТОР
Малогабаритный сигнал-гоноратор предназначен для настройки и проверки работоспособности радиовещательных АМ приемников, работающих в диапазоне частот от 150 кгц до 12,2 Мгц,
Читать далееМалогабаритный сигнал-гоноратор предназначен для настройки и проверки работоспособности радиовещательных АМ приемников, работающих в диапазоне частот от 150 кгц до 12,2 Мгц,
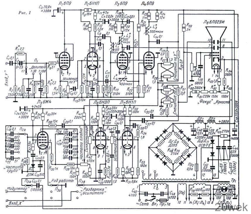
Читать далееполучить на экране кинескопа изображения белых и черных квадратов, расположенных в виде шахматной доски
Читать далее100—300 кгц, 300 кгц — 1 Мгц, 1—3 Мгц, 3—10 Мгц, 10—30 Мгц, 30—35 Мгц, 35—47 Мгц, 47—60 Мгц.
Читать далееПрибор собран на трех электронных лампах пальчиковой серии (6Ж5П, 6Н1П и 6П15П) и
Читать далееПреобразователем постоянного тока в переменный служит генератор, работающий в диапазоне частот 80—100 кгц
Читать далеегенератора разбит на семь поддиапазонов: 90—280 кгц; 243—670 кгц; 610 кгц — 1,65 Мгц; 1,58—3,2 Мгц; 2,8—7,0 Мгц; 6,4—15 Мгц 14—23,6 Мгц.
Читать далееразбит на четыре поддиапазона (20— 100 гц, 100—650 гц, 650—4000 гц и 4 — 24 кгц).
Читать далеесостоит из трех генераторов: несущей частоты, вертикальных полос и горизонтальных полос.
Читать далеевысокочастотном транзисторе перекрывает без переключений элементов контура диапазон частот от 4 до 30 Мгц.
Читать далеедает возможность измерять параметры полупроводниковых диодов и транзисторов, сопротивление резисторов, постоянный
Читать далееконденсаторы можно сделать из отрезков коаксиального кабеля РК-3, РК-6, РК-106 и др
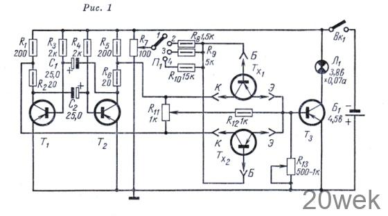
Читать далеепредназначен для подбора пар маломощных транзисторов с предельно допустимой мощностью рассеяния на коллекторе до 150 мвт
Читать далееисследовать периодические процессы в частотном диапазоне 20 гц — 1,5 Мгц
Читать далееконструкция защелки для скрепления между собой половинок пластмассового футляра
Читать далееАвтоматическое управление радиостанцией голосом оператора увеличивает оперативность работы и
Читать далееПределы измерения напряжения — 3,10, 30,100 и 300 в; сопротивления- 100 ом, 1, 10, 100 ком и 1 Мом; емкост
Читать далеенеобходимость стабилизации частоты задающего каскада с относительно большим уровнем генерируемой мощно
Читать далеепростой двухламповый осциллограф, изготовление и налаживание которого доступно радиолюбителям средней квалификации.
Читать далееИсточник питания анода и экранирующей сетки включен между точками, обозначенными
Читать далееся с необходимостью изготовления ферритовых колец, диаметр которых больше диаметра имеющегося ферритового стержн
Читать далее