Комбинированный измерительный прибор
М. СУББОТИН, А. ШОРИН, Радио №7/1966, ст.37
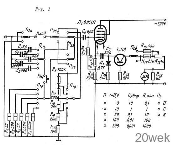
Описываемый прибор предназначен для измерения переменного напряжения звуковой частоты, сопротивления и емкости. Пределы измерения напряжения — 3,10, 30,100 и 300 в; сопротивления- 100 ом, 1, 10, 100 ком и 1 Мом; емкости-1000 пф, 0,01; 0,1; 1,0; 10 мкф. Погрешность измерения не превышает 3%, за исключением начального участка шкалы каждого диапазона. Шкала прибора линейная и общая для всех видов измерений.

Измеряемое переменное напряжение подается па зажимы «вход» (переключатель рода измерений П2 в верхнем положении) (см. рис. 1). Через один из резисторов R6-R10 делителя напряжения (в зависимости от положения переключателя пределов измерения П1) oнo поступает на управляющую сетку лампы Л1 (пентод в триодном включении) катодного повторителя. Последний необходим для повышения входного сопротивления прибора, которое в данном случае составляет 1 Мом. Далее напряжение выпрямляется транзисторно-диодным выпрямителем Т1Д1 и измеряется стрелочным прибором.

В качестве индикатора использован микроамперметр М-24 чувствительностью 100 мка, резистор R19 снижает чувствительность до 1 ма. Практически можно применить любой прибор, шкала которого имеет 100 делений.
Сопротивление и емкость измеряются дифференциальным методом. Если на последовательно соединенные резистор и конденсатор подать синусоидальное напряжение U1 частотой f, падение напряжения на резисторе составит U2. Измерив U2, можно определить R и С’
U2/U1=2пfRC
При измерении сопротивления включается эталонный конденсатор, а при измерении емкости — эталонный резистор. Шкала при этом получается линейной.
Если входное напряжение несинусоидальное, в результат измерения вкрадывается погрешность, которая возрастает к концу шкалы.
Диапазоны измерения сопротивлений и емкостей определяются набором эталонных резисторов и конденсаторов и частотой напряжения U1. В данном случае это напряжение сети частотой 50 гц, а постоянная времени RC на всех диапазонах выбрана равной 0,0005. Методическая погрешность в конце шкалы не превышает 1,2%.
Вольтметр, с помощью которого измеряется напряжение U2, должен иметь большое входное сопротивление, чтобы не шунтировать RС— цепи, поэтому введен катодный повторитель на лампе 6Ж1П в триодном включении, входное сопротивление которого около 50 Мом.
Резисторы R1—R10 лучше взять типа УЛИ или БЛП, так как они обладают повышенной стабильностью. Однако можно использовать и резисторы типа МЛ Т-1,0, причем желательно брать такие, которые уже проработали какое-то время. Конденсаторы C1—С5 типа KCO и МБГП.
Номиналы этих элементов нужно подобрать как можно точнее. Все другие детали могут иметь допуск по крайней мере до ±10%.
Кнопка Кн1 (нормально замкнутая) изготовлена из кнопочного выключателя для настольных ламп. Переключатели П1 и П2 галетные. Рекомендуется использовать транзистор с В = 20 — 40.
Питается прибор от сети переменного тока. Схема выпрямителя показана на рис. 2. Трансформатор прибора имеет сердечник Ш-16, толщина набора 25 мм. Обмотка I содержит 2300 витков провода ПЭВ 0,2; обмотка II (экран) — один слой провода ПЭВ 0,07; обмотка III—220 витков провода ПЭВ 0,07; обмотка IV—75 витков провода ПЭВ 0,25; обмотка V— 210 витков ПЭВ 0,15. Напряжение, питающее .КС-цепь подведено одновременно к гнезду Uо на передней панели. Индикатором включения прибора в сеть служит неоновая лампа. Прибор смонтирован на гетинаксовой плате, укрепленной на передней панели винтами. Резисторы R1— R10 и конденсаторы C1— С3 смонтированы на плате переключателя П1 Ось потенциометра R18 выведена под шлиц. Прибор помещен в алюминиевый кожух размерами 145x210x110 мм (рис. 3)


Налаживание прибора начинают с вольтметра. Установив с помощью автотрансформатора напряжение сети (220 в), переключают П2 в положение «U», а П1— на нижний предел измерения и подают на вход прибора напряжение 3 в частотой 50—100 гц, контролируемое по эталонному вольтметру. С помощью потенциометра R18 устанавливают стрелку на последнее деление шкалы. Уменьшая входное напряжение, проверяют линейность шкалы. В случае заметного нарушения линейности можно изменить сопротивления резисторов R14 и R15. Если же отклонений нет, движок потенциометра КR18 фиксируют. Затем проверяют прибор на других пределах измерения напряжения.
Переключив П2 в положение «R» или «С» (П1 может быть в любом положении), устанавливают стрелку .очно на середину шкалы с помощью потенциометра, временно включенного вместо резистора R17. Измерив затем введенное сопротивление потенциометра, заменяют его резистором постоянного сопротивления.
Переводя переключатель П1 поочередно во все положения, проверяют правильность подбора эталонных резисторов R1—R5 и конденсаторов C1—С5. На этом налаживание практически заканчивается.
При работе с прибором следует помнить, что его показания зависят от напряжения сети. Применять какой-либо из распространенных стабилизаторов (феррорезонансный пли барретер) нельзя, так как при этом искажается форма напряжения, что приводит к погрешностям измерения. Поэтому нужно контролировать напряжение следя за тем, чтобы стрелка прибора находилась на середине шкалы, когда переключатель П2 переведен в положение «R» или «С». Если напряжение сети изменилось, надо изменить и напряжение на первичной обмотке трансформатора (потенциометр R20 рис. 2).
При измерении R и С, надо подключить испытуемые резистор или конденсатор к входным гнездам и, нажав кнопку Кн1, отсчитать показание на шкале. Если питающее напряжение постоянно, регулировка R20 необходима только один раз, как в обычном омметре.
Прибор можно приспособить для измерения индуктивностей от десятков миллигенри и более. При этом испытуемую катушку следует включить вместо Rх, а эталонный резистор — вместо эталонного конденсатора. Показания прибора будут пропорциональны отношению Lх/Rэт. Такой метод измерения не требует эталонных индуктивностей, однако переключение рода работы существенно усложнится.
