«ДВОЙНОЙ КВАДРАТ» НА ДИАПАЗОНЕ 28 Мгц
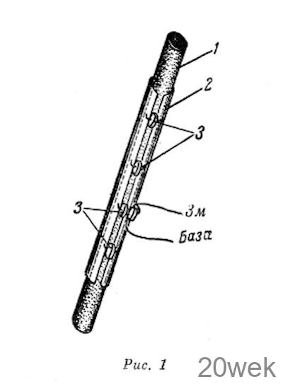
изготовлена из медных трубок диаметром 14 мм. Можно также применить трубки диаметром 10—16 мм или антенный
Читать далееизготовлена из медных трубок диаметром 14 мм. Можно также применить трубки диаметром 10—16 мм или антенный
Читать далееФерритовая антенна, имея более низкий коэффициент передачи полезного сигнала, обладает направленностью приема, что иногда полезно для
Читать далееК. ХАРЧЕНКО, С. ВЫШИНСКИЙ, Радио №2/1968, ст.31 Радиолюбители-коротковолновики для проведения связей довольно часто используют антенны горизонтальной поляризации, например симметричный вибратор.
Читать далееГ. ДЖУНКОВСКИЙ (UA1AB), Я. ЛАПОВОК, Радио №1/1968, ст.14 Передатчик предназначен для работы в УКВ диапазоне частот 28 — 29,7 Мгц
Читать далеевозбудитель работает в диапазоне частот 28,34-29,3 Мгц. Он собран на 12 транзисторах, четырех полуп
Читать далееможет работать на частотах 3,5-3,65 Мгц (80-метровый любительский диапазон) и 7,0-7,1 Мгц (40-метровый
Читать далееПреобразователь частоты с совмещенным гетеродином собран на транзисторе Т1 типа П402. Напряжение сигнала и гетеродина подается в цепь базы
Читать далееДиректор, вибратор и рефлектор изготовляют из дюралюминиевых труб диаметром 35—40 мм
Читать далееПередатчик с приставкой отдает мощность 5 вт
Читать далееЮ. ТАГОТИН, Радио №3/1967, ст.20 Приемник предназначен для «охоты на лис», ведущих передачи на частотах 28 4-29,7 Мгц. Его полный
Читать далееувеличив среднее значение коэффициента модуляции, можно получить значительное повышение громкости приема
Читать далееПрием телеграфных сигналов может производиться с помощью второго гетеродина (при дальнем поиске)
Читать далеедля работы в диапазоне 144—146 Мгц. Дальность действия этого передатчика при работе с типовым приемником для «охоты
Читать далеек любому широковещательному приемнику, имеющему КВ диапазон от 4,0 до 5,7 Мгц
Читать далееНа частотах 430—440 Мгц наличие антенного усилителя весьма желательно.
Читать далеена семи лампах и пяти полупроводниковых диодах
Читать далеепозволяет одновременно использовать две антенны с двумя отдельными фидерами. Он собран в металлическом корпусе
Читать далееКатушки колебательных контуров, включенных в антенну, имеют индуктивность 7,4 мкгн. Для них лучше
Читать далее3,5-3,65 Мгц (80 м); 7,0-7,1 МГц (40 м); 14,0-14,35 Мгц (20 м) и 21,0-21,45 Мгц (14 м), а также в диапазоне УКВ 28,0 -29,7 Мгц (10 м)
Читать далееАвтоматическое управление радиостанцией голосом оператора увеличивает оперативность работы и
Читать далее