Усилитель НЧ с экспандером
Под динамическим диапазоном, выражаемом в децибелах, подразумевается отношение наибольшей громкости звука к наимен
Читать далееПод динамическим диапазоном, выражаемом в децибелах, подразумевается отношение наибольшей громкости звука к наимен
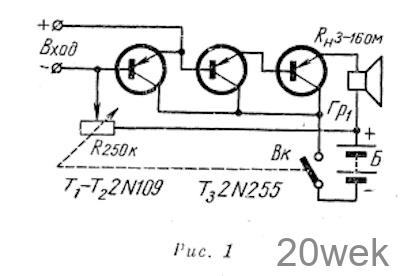
Читать далееТри транзистора, потенциометр для регулировки громкости с выключателем, громкоговоритель
Читать далеетранзисторные усилители могут удовлетворить самым высоким требованиям, предъявляемым к качеству воспроизведения звука. Вместе с тем
Читать далееРадио №4/1966, ст.59 Серьезным недостатком усилителей мощности на транзисторах с бестрансформаторным выходом является их чувствительность к короткому замыканию на выходе.
Читать далеебестрансформаторным транзисторным усилителям, так как устранение выходного трансформатора из схемы электронного
Читать далееприменение в переговорных устройствах и любительских радиостанциях
Читать далееСуществуют две основные разновидности таких регуляторов, условно называемых регуляторами первого и второго типа. Регуляторы первого типа
Читать далееосуществляется частотная модуляция колебаний генератора, причем глубина ее пропорциональна амплитуде усиливаемого
Читать далеелампа 6ФЗП. В одном баллоне этой лампы размещены триод и пентод, и на ней можно собрать двухкаскадный усилитель НЧ
Читать далееУсиление подводимых звуковых сигналов в каждом стереоканале производится раздельно для низших (от 20 до 500 гц) и высших (от 500 до 30 000 гц) частот, что позволило значительно
Читать далееВыходная мощность его 2 вт при коэффициенте нелинейных искажений менее 1%. Максимальная мощность 3 вт
Читать далееДля получения наибольшей мощности низкой частоты в нагрузке целесообразно применять усилители, собранные по мостовой схеме
Читать далеечто приводит к сокращению срока ее службы и разогреву всего аппарата. Это обстоятельство обусловлено выбором исходной рабочей точки на середине линейного
Читать далееКаскад, обладающий большим входным сопротивлением, может быть полезен для целого ряда устройств.
Читать далееНоминальная выходная мощность общего усилителя низших частот 6 вт при коэффициенте нелинейных искажений не более 0,1%.
Читать далееУсилитель был испытан при работе его от индуктивного датчика, предполагаемого для применения
Читать далееСоздать темцературно-стабильный усилитель можно, соединив оба каскада гальванической связью по постоянному току и введя
Читать далееширокополосные усилители обладают повышенным уровнем интермодуляционных искажений, которые возникают в выходных каскадах, а также в громкоговорителях при одновременном воспроизведении низших и высших звуковых
Читать далееЯвляясь усилителем тока, эмиттерный повторитель с дополнительной симметрией обладает очень малым выходным сопротивлением (порядка 5—30 ом), что и дает возможность использовать его в качестве мощного выходного каскада для бестрансформаторны
Читать далееУсилитель имеет два регулятора тембра, которые позволяют в очень широких пределах (до ±20 дб) регулировать усиление как в области низших, так и высших звуковых
Читать далее