ВЫПРЯМИТЕЛИ С ЭЛЕКТРОННЫМ РЕГУЛЯТОРОМ ДЛЯ ЗАРЯДКИ АККУМУЛЯТОРОВ
Б. ВАСИЛЬЕВ, А. ВАРДАШКИН, Радио №7/1966, ст.36
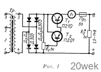
Выпрямитель (рис. 1) собран по мостовой схеме на четырех диодах Д1 — Д4 типа Д305. Регулирование силы зарядного тока производится при помощи мощного транзистора включенного по схеме составного триода. При изменении смещения, снимаемого на базу триода с потенциометра изменяется сопротивление цепи коллектор-эмиттер транзистора. Зарядный ток при этом можно изменять от 25 ма до 6 а при напряжении на выходе выпрямителя от 1,5 до 14 в.

Резистор R2 на выходе выпрямителя позволяет устанавливать выходное напряжение выпрямителя при отключенной нагрузке. Трансформатор собран на сердечнике сечением 6 см2. Первичная обмотка рассчитана на включение в сеть с напряжением 127 в (выводы 1—2) или 220 в (1—3) и содержит 350-325 витков провода ПЭВ 0,35, вторичная — 45 витков провода ПЭВ 1,5. Транзистор Т1 устанавливают на металлическом радиаторе, площадь поверхности радиатора должна быть не менее 350 см2. Поверхность учитывается с обеих сторон пластины при толщине ее не менее 3 мм.
* * *
Схема, приведенная на рис. 2, отличается от предыдущей тем, что с целью увеличения максимального тока до 10 а транзисторы Т1 и Т2 включены параллельно. Смещение на базы транзисторов, изменением которого регулируется зарядный ток, снимается с выпрямителя, выполненного на диодах Д5 — Д6. При зарядке 6-вольтовых аккумуляторов переключатель устанавливается в положение 1, 12-вольтовых — в положение 2.

Обмотки трансформатора содержат следующее количество витков: 1а — 328 витков ПЭВ 0,85; 16 — 233 витка ПЭВ 0,63; II — 41+41 виток ПЭВ 1,87; III — 7+7 витков ПЭВ 0,63. Сердечник — УШ35Х 55
