Прибор для подбора пар транзисторов
Радио №8/1966, ст.57
Часто бывает необходимо подобрать два транзистора с приблизительно одинаковыми параметрами (например, для выходного двухтактного каскада усилителя НЧ). Делать это при помощи обычного прибора для испытания транзисторов утомительно, так как приходится производить множество отдельных измерений. Для этой цели имеет смысл построить специальный прибор, тем более, что в нем можно не устанавливать довольно дорогой миллиамперметр, а использовать в качестве индикатора миниатюрную осветительную лампу. Ниже приводятся описания двух таких приборов.
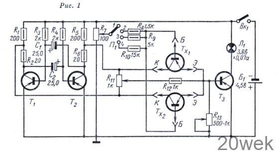
Первый — предназначен для подбора пар маломощных транзисторов с предельно допустимой мощностью рассеяния на коллекторе до 150 мвт. Второй — служит для подбора мощных транзисторов (предельная мощность рассеяния на коллекторе 1—4 вт). Принципиальные схемы приборов показаны соответственно на рис. 1 и 2.

Они отличаются друг от друга наличием в приборе для подбора маломощных транзисторов (рис. 1) мультивибратора, который осуществляет автоматическое переключение сравниваемых транзисторов. В приборе для подбора мощных транзисторов (рис. 2) мультивибратор отсутствует, так как схема его очень усложняется, и переключение сравниваемых транзисторов производится вручную при помощи переключателя П2, который выполнен в виде кнопки.

Мультивибратор прибора, схема которого изображена на рис. 1, собран на транзисторах Т1 и Т2. В качестве Т1 и Т2 можно использовать любые маломощные низкочастотные транзисторы с коэффициентом усиления В не хуже 15. Мультивибратор генерирует частоту 8— 10 гц. При такой частоте генерации лучше всего заметно мигание индикаторной лампы Л1.
Когда сравниваемые транзисторы Тх1 и Тх2 не установлены в прибор, а движок потенциометра R11 находится в среднем положении, индикаторная лампа Л1 горит ровно, не мигая. Это происходит потому, что, хотя на концах потенциометра R11 напряжение меняется (в зависимости от того, какой из транзисторов мультивибратора — Т1 или Т2 открыт или закрыт), на движке этого потенциометра напряжение относительно земли все время будет одинаковым. В результате ток протекающий через транзистор Т3, работающий в каскаде усилителя постоянного тока (в качестве Т3 можно использовать любой низкочастотный маломощный транзистор с коэффициентом усиления В не хуже 35), также не будет меняться, что приводит к ровному горению индикаторной лампы Л1. Как только движок потенциометра Rх11 будет выведен из среднего положения напряжение на нем (а следовательно и на базе транзистора Т3) будет меняться с частотой генерации мультивибратора, и индикаторная лампа Л1 начнет мигать с этой же частотой.
Когда сравниваемые транзисторы ТХ1 И Тх2 будут установлены на свои места их коллекторно-эмиттерные переходы окажутся подключенными параллельно половинам потенциометра R11 и через эти переходы на базу транзистора T3 будут протекать добавочные токи. Если токи Iк о. транзисторов Тх1 и Тх2 равны, то ток базы Т3 будет увеличиваться на одну и ту же величину и лампа Л1 будет гореть ровно, не мигая, но яркость ее свечения повысится. При различных Iк 0 транзисторов Тх1 и Тх2 лампа Л1 будет мигать (когда движок потенциометра R11 находится в среднем положении). Если разница токов /к0 транзисторов Тх1 и Тх2 такова, что они могут быть использованы в паре, то мигание лампы Л1 можно скомпенсировать вращением движка потенциометра R11 в сторону того сравниваемого транзистора, который имеет меньший /ко..
Чтобы избежать насыщения транзистора Т3, при котором лампа Л1 перестает мигать, в приборе установлен потенциометр R13, при помощи которого перед началом сравнения следует уменьшить яркость свечения лампы Л1 примерно до половины нормальной. Переключатель П1 во время сравнения Iк 0 должен находиться в положении 1 (базы Tx1 и Тх2 отключены).
После сравнения токов Iк 0 переключатель П1 переключают в положение 2, а движок потенциометра R7 устанавливают в нижнее (по схеме) положение. Тогда на базы сравниваемых транзисторов Тх1 и Тх2 будет подано небольшое положительное напряжение, и они будут заперты. При этом их токи Iк 0 несколько уменьшатся. Если токи будут разными и лампа Л1 начнет мигать, то необходимо подстроить потенциометр R11 (когда параметры транзисторов Тх1 и Тх2 одинаковы подстраивать R11 не приходятся). Яркость свечения лампы Л1 вновь подбирается при помощи потенциометра R13.
Теперь медленно вращают движок потенциометра R7 Тогда напряжение смещения на базах сравниваемых транзисторов проходит через нуль и становится все более отрицательным. Испытуемые транзисторы открываются и их рабочие точки постепенно сдвигаются все далее по характеристикам. Если при этом параметры транзисторов (в частности коэффициент усиления В) остаются одинаковыми, то лампа Л1 не мигает, но яркость ее свечения постепенно увеличивается. Последнюю следует уменьшать до среднего значения при помощи потенциометра R13. Как только параметры Тх1 и Тх2 станут различными, лампа Л1 сразу же начнет мигать. Во время этого испытания нельзя вращать движок потенциометра R11.
Наиболее пригодными для парной установки являются такие транзисторы Тх1 и Тх2, которые при вращении движка потенциометра R7 от упора до упора не вызывают мигания лампы Л1, особенно в том случае, когда движок потенциометра R11 находится в среднем положении.
В положениях 3 и 4 переключателя П1 проверяются транзисторы с большим коэффициентом усиления В.
В приборе для сравнения мощных транзисторов (рис. 2) в качестве Т3 применен транзистор с предельно допустимой мощностью рассеяния на коллекторе 4 вт и коэффициентом усиления не хуже 18. Радиатор для него не нужен.
Ввиду большого потребления тока от источника питания здесь следует применять аккумуляторную батарею, способную отдавать ток до 4 а.
Чтобы сравниваемые мощные транзисторы не перегревались, испытание их следует производить очень быстро. Как уже было указано, испытуемые транзисторы переключаются вручную, а в остальном методика сравнения ничем не отличается от описанной ранее (для маломощных транзисторов). Сравнивать транзисторы с мощностью менее чем 1 вт на приборе, построенном по схеме рис. 2, нельзя!
«Funkamateur», 1966, № 2
Примечание редакции. При включении транзисторов с «оторванной» базой, даже на короткое время, они могут выйти из строя, ввиду лавинообразного нарастания тока через транзистор. Поэтому при подборе с помощью описанного прибора пар транзисторов желательно измерения IК 0 заменить измерением начального тока коллектора IК н Для этого на то время, когда переключатель П1 находится в положении 1, базы испытываемых транзисторов Тх1 и Тх2 должны быть включены в соответствующие зажимы для эмиттеров. Эмиттеры транзисторов Тх1 и Тх2 в момент измерения IК н никуда не подключаются. Сравнение транзисторов по IК Н производится так же, как и по IК O. При переходе к подбору пар по коэффициенту В базы и эмиттеры транзисторов Тх1 и Tх2 следует подключить к своим зажимам.
В приборе для сравнения маломощных транзисторов в качестве T1, Т2 и T3 можно применить транзисторы П13, П14, П15 и П16, а в приборе для сравнения мощных транзисторов — транзистор П4Б или П4В.





