Прибор для налаживания телевизоров
Ю. СКРИПНИКОВ, Радио №2/1967, ст.18
Предлагаемый генератор облегчает налаживание телевизора в любительских условиях при отсутствии промышленных приборов. Он позволяет проконтролировать линейность разверток, определить их частоту, а также проверить прохождение сигнала по всему ВЧ тракту. Модуляционная частота (400 гц) может быть использована для проверки и налаживания НЧ тракта телевизора.
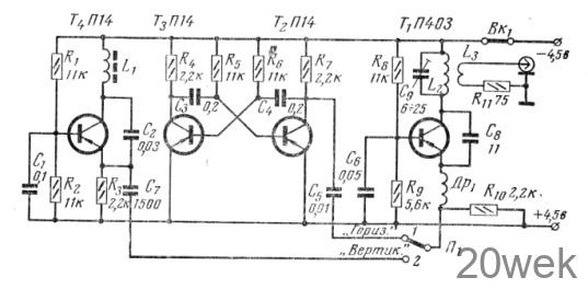
Принципиальная схема генератора приведена на рисунке. Фактически он состоит из трех генераторов: несущей частоты, вертикальных полос и горизонтальных полос. Генератор несущей частоты выполнен на транзисторе П403 (Т1) по схеме с емкостной обратной связью. Колебательный контур включен в цепь коллектора транзистора. Его резонансная частота устанавливается равной несущей частоте изображения первого телевизионного канала и определяется индуктивностью катушки L2 и емкостью конденсатора С9. Глубина положительной обратной связи подбирается изменением емкости конденсатора С8. База транзистора заземлена по переменному току через конденсатор Сб. Модуляция несущей частоты осуществляется в эмиттерной цепи транзистора, Т1. Дроссель Др1 является заградительным. Напряжение ВЧ поступает на выходной коаксиальный разъем через катушку связи L3. Резистор R11 на выходе генератора препятствует возникновению стоячих волн в соединительной линии между генератором и телевизионным приемником.

Генератор вертикальных полос выполнен на транзисторе П14 (Т4) по схеме с емкостной обратной связью. Частоту генератора, которая должна быть равна 156 кгц (в этом случае на экране телевизора получается десять вертикальных полос), определяет индуктивность катушки и ее собственная емкость. Выходное напряжение генератора снимается с эмиттера транзистора Т4 и подводится к контакту 2 переключателя П1 через разделительный конденсатор С7.
Генератор горизонтальных полос выполнен на транзисторах П14 (Т2, Т3) по схеме симметричного мультивибратора. Частота колебаний мультивибратора выбирается равной 400 гц и определяется параметрами цепей R5С3, R6С4. При частоте мультивибратора 400 гц на экране телевизора получается восемь горизонтальных полос. С одного из плеч мультивибратора через конденсатор С5 выходные импульсы подводятся к контакту 1 переключателя П1.
Прибор собран в прямоугольном металлическом кожухе размерами 65x25x130 мм. Все детали его смонтированы на гетинаксовой плате толщиной 1,5 мм. На лицевой панели прибора размещены переключатель П1, выключатель питания Вк1 и разъем для подключения выходного кабеля.
В приборе использованы транзисторы, имеющие В не менее 20. Катушка L1 выполнена на ферритовом кольце Ф-2000 с наружным диаметром 17 мм и содержит 11 витков провода ПЭВ 0,35. Катушка L2 намотана на полистироловом каркасе диаметром 9 мм и содержит 8 витков провода ПЭВ 0,25, катушка L3 намотана поверх катушки L2 тем же проводом. Она имеет 3 витка. Дроссель Др1 намотан на резисторе ВС-0,25 с сопротивлением не менее 1 Мом проводом ПЭВ 0,1 до заполнения каркаса резистора. В качестве переключателя П1 и выключателя питания Вк1 используются тумблеры на два положения. Питание прибора осуществляется от батареи напряжением 4,5 в. Потребление тока не превышает 10 ма.
Работа с прибором заключается в следующем. Отрезком кабеля длиной 20—30 см прибор подключается к антенному гнезду телевизора. Включается питание, и переключатель П1 ставится в положение «Гориз.». При частоте генератора горизонтальных полос, равной 400 гц, на экране телевизора получается восемь горизонтальных полос. При линейной кадровой развертке телевизора расстояние между полосами должно быть одинаковым. В противном случае, если телевизор не удается подстроить ручкой потенциометра «линейность по вертикали», необходимо заново наладить соответствующий узел.
Одновременно сигнал частотой 400 гц проходит в канал звукового сопровождения телевизора и может быть использован для проверки и настройки усилителя ПЧ звукового сопровождения и усилителя НЧ. В положении переключателя П1 «Вертик.» на экране телевизора получается десять вертикальных полос (при частоте генератора 156 кгц). Регулировка линейности строчной развертки производится так же, как и кадровой, по одинаковому расстоянию между отдельными полосами.
Генератор ВЧ, настроенный на частоту первого телевизионного канала, может быть использован для настройки и проверки ПТК и всего ВЧ тракта телевизора.
