НИЗКОЧАСТОТНЫЙ ГЕНЕРАТОР
В. ЛОМАНОВИЧ, А. ШАПИРО, Радио №2/1967, ст.48
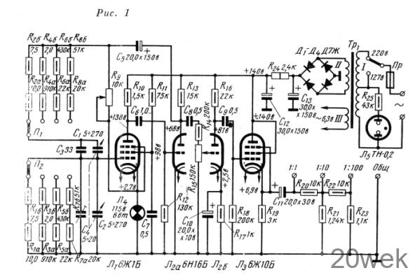
На рисунке показана принципиальная схема генератора, работающего в диапазоне частот от 20 гц до 24 кгц, который разбит на четыре поддиапазона (20— 100 гц, 100—650 гц, 650—4000 гц и 4 — 24 кгц). Погрешность установки частоты на всех поддиапазонах не превышает ±5%.

Выходное напряжение можно менять плавно в пределах от 0 до 10 в, а также с помощью ступенчатого делителя (1:1; 1 : 10 и 1 : 100). На всех частотах амплитуда генерируемого напряжения равна 10 ±1,0 в (при степени деления 1 : 1).

Генератор собран на трех сверхминиатюрных лампах: 6Ж1Б, 6Н16Б и 6Ж10Б, однако его можно выполнить и на лампах пальчиковой серии или же на лампах с октальным цоколем. В последнем случае увеличатся его размеры.
Прибор питается от сети переменного тока напряжением 127 пли 220 в, потребляемая им мощность не превышает 15 вт. Вес прибора —1,16 кг.
Задающий генератор прибора представляет собой RC-генератор. От обычного усилителя НЧ он отличается тем, что часть его выходного напряжения вновь поступает на вход, в результате чего возникает положительная обратная связь, приводящая к самовозбуждению генератора. Однако самовозбуждение должно происходить на строго определенной частоте. Для этого в цепь обратной связи вводят фазовый RС-мост (R1—R8, C1—С2). Чтобы изменить частоту генерируемых колебаний, достаточно изменить параметры любого из элементов этого моста (R или С). Практически это достигается одновременным изменением емкости блока конденсаторов C1 и С2. Переключая резисторы R1—R8, можно дополнительно расширить диапазон генерируемых частот. Поскольку глубокая .положительная обратная связь может вызвать перегрузку ламп Л1, Л2 и, как следствие этого, искажение формы генерируемых колебаний, в возбудитель дополнительно вводят цепь отрицательной обратной связи. Она представляет собой делитель напряжения R9Л4. Падение напряжения на лампе Л4 должно быть немного меньше входного напряжения UВХ, подводимого к управляющей сетке лампы Л1 из цепи положительной обратной связи. Между сеткой и катодом Л1 в этом случае будет действовать напряжение, представляющее собой разность двух противоположных по фазе напряжений UВХ и Uк Регулируя сопротивление резистора R9, подбирают величину этого напряжения так, чтобы возбудитель работал устойчиво, а искажения формы генерируемых колебаний были минимальными.
Лампа накаливания Л4, включенная в катодную цепь Л1, выполняет роль стабилизатора амплитуды генерируемых колебаний. В данном случае она равносильна нелинейному сопротивлению с положительным температурным коэффициентом.
Лампу накаливания можно заменить термистором ТП2/0,5. Этот термистор, рассчитанный на рабочее напряжение 2 в, имеет пределы стабилизации 1,6—3,0 в, при максимально допустимом изменении напряжения 0,4 в. Его включают вместо резистора R9, последовательно с потенциометром сопротивлением 5,1 ком, а лампу накаливания Л4 в катодной цепи Л1 заменяют обычным резистором сопротивлением 1 ком.
Напряжение обратной связи с анода лампы Л2а, через конденсатор большой емкости С5 и фазирующую цепь подается на управляющую сетку лампы Л1. Плавное изменение частоты генерируемых колебаний достигается с помощью блока конденсаторов переменной емкости C1—C2. Сдвоенный переключатель П1—П2 позволяет подключать различные сопротивления R1 — R8 в мостовой фильтр при переходе от одного поддиапазона частот к другому. Генерируемые возбудителем синусоидальные колебания усиливает двухкаскадный усилитель НЧ, собранный на правом триоде Л2б и пентоде Л3, включенном как триод. Выходное напряжение генератора регулируют потенциометром R15 в цепи управляющей сетки лампы Л2б. В оконечном каскаде усилителя НЧ используется катодный повторитель, который, как известно, имеет низкое выходное сопротивление и потому хорошо согласуется с различными нагрузками. К выходу катодного повторителя подключен делитель напряжения R20—R23 следующими степенями деления: 1 : 1; 1 : 10 и 1 : 100. Расчет сопротивления резисторов декадного делителя напряжения несложен. Известно, что в цепи из последовательно включенных резисторов падение напряжения на каждом из них пропорционально их сопротивлениям. В делителе из двух последовательно соединенных резисторов R1 и R2 падение напряжения на каждом из них (U1 и U2) можно определить, воспользовавшись соотношениями:

При определении величины сопротивления резистора R21 приходится учитывать также шунтирующее действие двух последовательно включенных резисторов R22 и R2з. Поэтому сопротивление резистора R21 должно иметь несколько большую величину, чем 1,1 ком, чтобы компенсировать влияние общего сопротивления делителя (R22 + R2з). Для определения величины R21 можно воспользоваться соотношением:

Питается генератор от сети переменного тока напряжением 127 или 220 в. Напряжение питания анодных цепей всех ламп снимается с выхода мостового выпрямителя (Д1—Д4). Цепи накала ламп питаются переменным напряжением 6,3 в, снимаемым с обмотки III силового трансформатора Tp1. Неоновая лампа Л5 служит индикатором включения прибора.

Конструкция и детали генератора. Прибор смонтирован на дюралюминиевой угловой панели и помещен в такой же кожух размерами 145Х85Х85 мм. Мелкие детали и лампы генератора расположены на гетинаксовой плате размерами 110Х80Х2 мм, которая с помощью двух угольников установлена вертикально на расстоянии 20 мм от заднего края угловой панели. Переключатели П1 и П2 вместе со всеми резисторами и конденсаторами фазирующей цепи (кроме блока С1—С2) заключены в алюминиевый экран размерами 70 X 55 X 50 мм. Блок конденсаторов переменной емкости также экранирован (размер экрана 55 X 40 X22 мм) и примыкает непосредственно к экрану переключателей П1, П2. На переднюю панель прибора выведены ручки управления блоком C1—С2 (установка частоты), переключателя поддиапазонов П1—П2 и потенциометра R15 (регулировка амплитуды напряжения). Там же расположены гнезда ступенчатого делителя напряжения и индикаторная лампа Л5.
Блок конденсаторов переменной емкости с твердым диэлектриком взят от радиоприемника «Гауя». Но можно использовать любой другой подходящий сдвоенный блок конденсаторов с твердым или воздушным диэлектриком. Подстроечный конденсатор С4 типа КГ1К-М, можно применить КПК-Т или КПК-1. Конденсатор С3 керамический, типа КГ-1, КД-1 или же слюдяной типа КСО-1, С6—С9 — типа МБМ или БМ. Электролитические конденсаторы С10, С11 типа ЭТО-1, а С5, С12 и С13 — типа ЭГЦ. Вместо конденсаторов типа ЭТО можно использовать ЭМ или КЭ-16, а вместо ЭГЦ — КЭ-1а Все резисторы типа МЛТ, потенциометры СГЮ-0,5. Переключатели П1—П2— малогабаритные одноплатные переключатели на 4 положения. Каждый из них можно заменить любым другим галетным переключателем. Обмотки трансформатора Tp1 намотаны на сердечнике из пластин Ш20, толщина набора 22 мм. Сетевая обмотка I содержит 2320 витков провода ПЭЛ 0,15 с отводом от 1340-го витка (секция 127 в). Последующие 980 витков наматывают проводом ПЭЛ 0,12. Обмотка II имеет 1600 витков провода ПЭЛ 0,12, обмотка Ill — 83 витка провода ПЭЛ 0,56.
При желании для монтажа мелких деталей и ламп можно изготовить печатную монтажную плату из фольгированного гетннакса
Налаживание и градуировка генератора. Перед включением генератора необходимо тщательно проверить монтаж и затем, включив питание, убедиться, что напряжения на электродах всех ламп соответствуют указанным на схеме. Если никаких ошибок в монтаже нет и все детали генератора исправны, он должен заработать сразу же после включения. Подключив к выходным гнездам 1 : 1 телефоны пли громкоговоритель, проверяют наличие генерации па всех поддиапазонах. Желательно попутно проверить форму генерируемых колебаний с помощью осциллографа. Если синусоида искажена, регулируют сопротивление резистора R9 в цепи обратной связи, добиваясь устранения искажений.
В дальнейшем налаживание прибора сводится к регулировке порога и плавности возбуждения на всех четырех поддиапазонах так, чтобы генерация возникла при одном и том же положении движка резистора R9. Это достигается введением в фазирующую цепь уравнивающих конденсаторов C2 и С4. Их емкости подбирают так, чтобы они компенсировали влияние входной емкости лампы Л1, действующей параллельно с конденсатором С2. Это достигается регулировкой емкости подстроечного конденсатора С4.
Затем следует убедиться в перекрытии частоты на границах соседних поддиапазонов. Это можно контролировать на слух, подключив к выходу генератора телефон. Вслед за этим надо проверить возможность установки одной и той же частоты па двух соседних поддиапазонах. В том случае, когда этого добиться не удается, пли наоборот, перекрытие оказывается слишком велико, подбирают величины граничных частот соответствующих поддиапазонов, изменяя сопротивления резисторов —
Градуировать генератор лучше всего с помощью калиброванного прибора и осциллографа. Ври под- диапазонной градуировке генератора используют метод фигур Лиссажу. Установив на контрольном генераторе минимальную частоту первого поддиапазона (20 гц), плавно изменяют частоту градуируемого генератора до тех пор, пока на экране осциллографа не будет получена одна из неподвижных фигур. Лиссажу (например, круг при соотношении частот двух генераторов 1 : 1).
При отсутствии эталонного генератора можно воспользоваться частотой сети как эталоном. Для этого осциллограф синхронизируют с частотой сети и подают на вход канала вертикального отклонения напряжение с выхода градуируемого генератора. Меняя частоту генерируемых колебаний, наблюдают за изображением на экране осциллографа, пока не будет получено изображение одного периода синусоиды (частота 60 гц), затем двух (100 гц) и т. д. Таким образом можно получить калибровочные точки через каждые 50 гц. Установив частоту 200 или 500 гц, регулируют частоту развертки осциллографа до тех пор, пока вновь не появится изображение одного полного периода. Так можно получить калибровочные точки через 200 пли 500 гц. Используя этот метод, можно проградуировать генератор на всех поддиапазонах.
При некотором навыке можно проградуировать генератор на слух с помощью камертонов пли рояля. У правильно настроенного рояля частота среднего «до» равна 265 гц. Каждое следующее «до» имеет по сравнению с предыдущим удвоенную частоту. Подбирая на слух совпадение высоты тона рояля и генератора, можно получить калибровочные точки на шкале генератора в диапазоне от 36 до 8000 гц. Ступенчатый делитель напряжения калибруют с помощью эталонного вольтметра. Для этого делитель отсоединяют от генератора, подают на него калиброванное напряжение (например, 50 в) и затем проверяют правильность его деления на выходных гнездах прибора и в случае необходимости изменяют сопротивления резисторов R21 и R22, (начав с R23).
