СИСТЕМЫ АРУ НА ТРАНЗИСТОРАХ
И. ВАСИЛЬКЕВИЧ, Радио №3/1964, ст.38
Принцип построения систем АРУ для транзисторных схем (рис. 1) такой же, как и для ламповых. В ламповых усилителях наиболее часто применяется система АРУ, основанная на изменении режима ламп по постоянному току, причем изменяется в основном крутизна ламп, а входные и выходные параметры ее остаются постоянными. Перенести полностью этот принцип на транзисторные усилители нельзя, так как изменение режима транзистора по постоянному току вызывает значительное изменение всех его параметров и затрудняет построение цепей АРУ в транзисторных схемах.

Эффективность регулировки характеризуется коэффициентом у. Чем больше у, тем эффективнее регулировка. Об эффективности различных схем регулировки усиления можно судить по результатам их экспериментального исследования для каскада усилителя ПЧ, собранного на транзисторе П15 (промежуточная частота f0 = 128 кгц, полоса пропускания 2 Дf = 4 кгц), приведенным в таблице 1. Из таблицы видно, что наибольший коэффициент у имеют системы АРУ, в которых для регулировки применены колебательные контуры. Однако в аппаратуре такие системы все же не применяются, так как их практическое осуществление встречает значительные трудности.

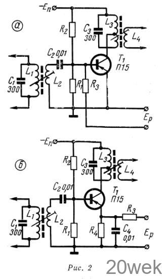
В существующих конструкциях транзисторных приемников используется главным образом регулировка усиления, при которой напряжение АРУ подается в цепь базы (рис. 2, а) или в цепь эмиттера (рис. 2, б) регулируемого каскада, вызывая изменение его эмиттерного тока. На рис. 3, а и 3, б показаны экспериментально снятые зависимости параметров схем, приведенных на рис. 2, а и 2, б от тока эмиттера. Границы регулировки определяются пределами возможного изменения тока эмиттера. Нижний предел ограничивается величиной тока fко, который сильно зависит от температуры. Верхний предел порядка 1 ма выбирается из условия максимального усиления.

Из приведенных на рис. 3 экспериментальных кривых видно, что при изменении тока эмиттер а в пpеделах от 0,1 до 1 ма, коэффициент усиления по напряжению меняется в 5—10 раз, резонансная частота уменьшается на 1,2—1,5%, а полоса пропускания на 14—18% (расстройка и изменение полосы пропускания относятся только к входному контуру).

Влияние транзистора на параметры колебательных контуров ограничивает применение схем АРУ, основанных на изменении режима транзистора по постоянному току. Поэтому в настоящее время наиболее перспективной нужно считать схему регулировки усиления, основанную на изменении величины межкаскадной связи, где элементом связи служит полупроводниковый диод (рис. 4, а и 4, б). Такие схемы представляют собою управляемые делители напряжения, Эквивалентные схемы их по переменному току показаны на рис. 5, а и 5, б. Принцип действия управляемых делителей подобен действию электрических фильтров. Входной сигнал перераспределяется между управляемым делителем и входом транзистора. Чтобы с ростом величины входного сигнала Uвх напряжение на входе транзистора Uвхо оставалось примерно постоянным, сопротивление диодов переменному току в управляемых делителях (рис. 4) также должно увеличиваться. В исходном состоянии (сигнал отсутствует или величина его меньше напряжения задержки Uвыхо) Диоды управляемого делителя отперты, что достигается соответствующим выбором величин сопротивлений R1R2. По мере увеличения входного сигнала диоды делителя запираются постоянным напряжением, поступающим с детектора АРУ.


Ток через диоды управляемого делителя при отсутствии сигнала должен быть порядка 50—100 мка. Сопротивление диода уже при таком токе обычно достаточно мало, по сравнению с входным сопротивлением транзистора. При большем начальном токе увеличивается мощность, необходимая для нормальной работы системы АРУ.
Диод для управляющего делителя системы АРУ необходимо выбирать, исходя из следующих соображений:
- Сопротивление диода переменному току в исходном состоянии (диод открыт) должно быть таким, чтобы коэффициент передачи со входа управляемого делителя на вход транзистора (рис. 5) был возможно более близок к единице

Это условие выполняется, если сопротивление диода составляет примерно

где Zвх— приведенное входное сопротивление транзистора(параллельное соединение полного входного сопротивления транзистора и сопротивлений температурной стабилизации каскада). Например, если ZBX =1кОм, то сопротивление диода в открытом состоянии равно

Этому требованию в большей степени удовлетворяют плоскостные и микросплавные диоды, имеющие меньшее прямое сопротивление, чем точечные.
2) Максимальное сопротивление диода (в закрытом состоянии) для эффективной работы системы АРУ должно быть возможно большим по сравнению с входным сопротивлением транзистора

Наибольшее сопротивление в запертом состоянии имеют точечные кремниевые диоды, обладающие к тому же малой конструктивной емкостью.
3) Диапазон регулирования системы АРУ определяется соотношением

Наилучшим для применения в управляемом делителе (при соблюдении первого требования) будет тот диод, у которого это соотношение будет наибольшим.
4) Если система АРУ работает в диапазоне температур, параметры ее не должны сильно зависеть от температуры. Из этих соображений в управляемом делителе также лучше применять кремниевые диоды.
Управляемый делитель целесообразно включать между смесителем и первым каскадом усилителя ПЧ. Для работы в схеме управляемого делителя были исследованы различные типы диодов, причем для выяснения закономерности испытывалось около 50 диодов каждого типа. Результаты измерений и расчетов приведены на рис. 7—8 и в таблице 2.

Наилучшие результаты в схеме управляемого делителя дают диоды типа Д223 (рис. 8), имеющие малое сопротивление в открытом состоянии (Zд/мин = 100 ом), достаточно большое отношение

и малые габариты. Для этого типа диодов на рис. 6 приведены зависимости затухания, вносимого управляемыми делителями, изображенными на рис. 4 от постоянного тока через диод и напряжения на нем (кривая «а» соответствует управляемому делителю, показанному на рис. 4, а, а кривая «б» — делителю на рис. 4,6).







