ШИРОКОПОЛОСНЫЙ УСИЛИТЕЛЬ
Н. Федосов, Радио №4/1964, ст.28
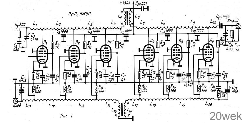
На рис. 1 приведена принципиальная схема усилителя бегущей волны, который работает в диапазоне 20—120 Мгц. Его коэффициент усиления колеблется от трех до пяти в зависимости от рабочей частоты.

Особенность усилителя состоит в том, что сеточные и анодные катушки индуктивности второй половины усилителя (ламп Лз, Л4 и Л5) включены так, что напряжения на них находятся в противофазе с напряжениями на катушках индуктивности первой половины усилителя (лампы Л1 Л2 и Лз). Благодаря этому достигается почти полное отсутствие перекрестных искажений в сигнале на выходе усилителя.
Усилитель собран на дюралюминиевом коробчатом шасси размерами 250X80X60 мм. Расстояние между центрами отверстий для ламповых панелек равно 25 мм. При таком расстоянии соединительные проводники между катушками индуктивности и соответствующими электродами ламп будут наиболее короткими. Монтаж в подвале шасси виден на рис. 2. Концы катушек L5, L6, L14 и L15 нужно включать так, как указано на принципиальной схеме. Данные катушек усилителя указаны в таблице.


Питание усилителя осуществляется от сети через отдельный выпрямитель, схема которого дана на рис.3. Силовой трансформатор Tp1 можно применить от любого промышленного приемника второго класса («Муромец», «Октава», «Латвия» и др.) или другой, напряжение на повышающей обмотке которого не менее 250 в. Для использования в качестве дросселя Др1 пригодны дроссели любого промышленного приемника или телевизора.

Усилитель не нуждается в налаживании, если монтаж его сделан правильно и аккуратно.
В принципиальной схеме усилителя (рис. 1) точку соединения сопротивлений R14 и R15 нужно присоединить к шасси.
ПРИМЕЧАНИЕ: Катушки L1-L4, L7-L10, L11-L14L17-L20 наматываются без перерыва провода. Разделение достигается путем отпаек в соответствующих местах.





