Приемники с питанием от «земляной» батареи
В. Ногин, П. Усов Радио №10/1963 ст.48
Любые два электрода из различных материалов, помещенные во влажный грунт, образуют своеобразный земляной гальванический элемент. Качество такого элемента зависит от грунта, а также от размеров и материала электродов. Так, при жирных влажных грунтах качество элемента выше, чем при песчаных или сухих. С увеличением площади электродов понижается внутреннее сопротивление источника, а значит, и максимально возможная отдаваемая им мощность. От материалов электродов зависит в небольших пределах (0,8—1,1) в эдс. Наибольшую эдс удается получить, используя гальванические пары цинк —уголь, алюминий—медь, цинк — медь. На рис. 1 приведены кривые зависимости напряжения U элемента и отдаваемой мощности Р от тока нагрузки I для гальванической пары цинк — уголь (использованы угли от элементов типа 6С и лист цинка размером 170×210 мм) во влажном илистом грунте. При подключении к такому источнику сопротивления нагрузки напряжение на последнем начинает снижаться и только через 15—30 мин достигает установившегося значения. Поэтому каждая точка кривой U—f(I) фиксировалась по истечении этого времени. Числовые данные, приведенные на рис. 1, не могут быть распространены на каждый частный случай, но из него видно, что для того, чтобы земляной элемент отдавал приемнику максимальную мощность, приемник должен быть рассчитан на определенные ток и напряжение питания. Как показал эксперимент, для маломощных германиевых транзисторов типа П13— П15 величина начальных участков выходных характеристик в схеме с общим эмиттером составляет по коллекторному напряжению, в среднем 0,15 в (для токов коллектора до 5 ма). Полагая, что 90% тока от источника потребляет выходной каскад, можно написать зависимость (рис. 1) максимально достижимой выходной мощности от тока, потребляемого приемником (выходной каскад выполнен по однотактной схеме с общим эмиттером).


Чтобы наилучшим образом использовать элемент, надо взять напряжение U и ток I, соответствующие максимуму Кривой Рвыхмакc и на них рассчитать приемник. Для круглогодичной работы электроды надо помещать на глубину 1—1,5 м на расстоянии нескольких десятков сантиметров друг от друга или размещать их в подполе, так как промерзание земли вокруг электродов парализует работу земляного элемента. Выводы от положительных электродов (уголь, медь) можно делать голым медным проводом, а от отрицательных (цинк, алюминий) .либо .алюминиевым, либо медным изолированным (голый медный провод заметно ухудшает качество земляного источника, так как при этом образуется довольно активный дополнительный элемент, замкнутый накоротко цинк—медь или алюминий — медь).у Места присоединения проводов к электродам нужно пропаять.
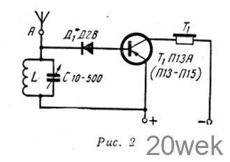
Рассмотрим теперь некоторые схемы приемников с питанием от земляной батареи. На рис.2 показана схема приемника, обеспечивающего значительно более громкий прием, чем детекторный. Катушка L контура намотана внавал проводом ПЭЛШО-0,25 на каркасе диаметром 9 мм, расстояние между щечками — 8 мм. Внутрь катушки вставлен ферритовый (Ф-600) сердечник диаметром 8 и длиной 30 мм. При наружной антенне длиной 40 м и высотой 10 м для диапазона длинных волн 170—250 кгц катушка должна содержать 165 витков. Для диапазона средних волн (1734—1000 кгц) требуется 36 витков. Выполнить двухдиапазонный приемник можно, сделав отвод от 32-го витка катушки, но при этом сильно снижается добротность средневолновой секции (от 87 до 20), поэтому лучше сделать отдельные катушки, а в схему ввести переключатель. Можно рекомендовать вместо контура LC применить переменную индуктивность, например блок настройки от радиоприемников «Тула» или «Заря». При использовании пьезоэлектрических телефонов их надо шунтировать сопротивлением 15 ком. Близ мощных радиостанций транзистор может работать с отсечкой коллекторного тока в области насыщения, и появятся нелинейные искажения (передача будет слышна слабой с хрипом). В этом случае-телефоны надо зашунтировать переменным сопротивлением 10 ком и установить его в такое положение, при котором искажения минимальны, а громкость максимальна. Если окажется, что величину этого сопротивления приходится устанавливать не более 2 ком, то целесообразно телефоны соединить параллельно, что еще больше увеличит громкость. Диод Д1 можно, применить любой, не обязательно — точечного типа, однако, чтобы повысить громкость, нужно- по авометру отобрать, диод, обладающий наименьшим, прямым сопротивлением (отбирать можно и на слух по максимуму громкости).

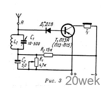
Если принимаемый сигнал слаб, громкость работы и чистоту звучания можно повысить, подав дополнительное смещение на транзистор (рис. 3). Это выводит рабочую точку из области очень малых токов коллектора, где характеристика ik= =f(iб) нелинейна, а коэффициент усиления в транзистора мал. Величина сопротивления R1 устанавливается по максимальной слышимости станции. Применение такой схемы увеличивает напряжение на выходе в среднем в 2 раза, причем выигрыш тем больше, чем больше в транзистора (в стандартном режиме) и чем слабее сигналы, и иногда доходит до 5.

Схема радиоприемника, изображенная на рис. 4, может работать как на головные телефоны, так и на громкоговоритель. С нагрузки детектора R1C2 напряжение подается на двухкаскадный усилитель НЧ с непосредственным межкаскадным соединением. За счет жесткой стабилизации режима транзистора Т1 вся схема достаточно, стабильна. Регулятор громкости R1 исключает возможные перегрузки усилителя при сильных сигналах, поэтому его положение при прослушивании передачи определяется необходимой громкостью и приемлемыми искажениями.

Выходной трансформатор собирается из пластин типа Ш14, толщина набора 14 мм. Такой сердечник широко применяется в трансформаторах трансляционных громкоговорителей. Первой наматывают первичную обмотку, можно и внавал. Приемник может быть рассчитан на источник питания либо 0,5 в, 1 ма, либо 0,6 в, 2мА. В первом случае I обмотка трансформатора должна содержать 470 витков ПЭЛ-0,18, а// — 63 витка провода ПЭЛ-0,55. Во втором — 380 витков ПЭЛ-0,23 и 73 витка провода ПЭЛ-0,55. Чувствительность приемника в первом случае составляет 4 мв, а во втором — 3мв. Во втором случае, несмотря на большую выходную мощность, чувствительность больше за счет того, что транзистор Т1 работает при большем токе покоя, где больше коэффициент усиления транзистора в. Громкоговоритель лучше всего использовать типа 1ГД-8, поскольку он чувствительнее других. Но если его достать не удастся, то можно купить абонентский громкоговоритель, перемотав его трансформатор, и весь монтаж схемы разместить в его футляре. Если полное сопротивление звуковой катушки громкоговорителя Z не равно 6 ом, то число витков вторичной обмотки должно быть умножено на коэффициент √Z/6, причем если Z<6 ом, то, насколько позволяют размеры окна сердечника трансформатора, надо увеличить диаметр провода вторичной обмотки. Подбор сопротивления R2 проще всего произвести при питании приемника от одного гальванического элемента через потенциометр сопротивлением около 100 ом, установив необходимое напряжение питания. Величина сопротивления R2 подбирается такой, чтобы миллиамперметр, включенный в цепь коллектора транзистора Т2, показывал соответственно 1 или 2 ма. Подбирать сопротивление R2 можно и на слух при питании прямо от земляной батареи, для этого вместо сопротивления R2 ставят переменное сопротивление около 100 ком и, регулируя R2 и R1, добиваются максимальной неискаженной громкости, после чего переменное сопротивление заменяется постоянным. Следует отметить, что чувствительность такого приемника повышается в 2—3 раза, если диод Д1 подсоединить прямо к базе транзистора Т1, а сопротивления R1, R2, R3 и конденсатор С2 убрать. Но тогда режим приемника по постоянному току полностью определяется уровнем несущей и приемник становится критичным к величине сигнала. При увеличении ее сверх нормального уровня чрезмерно увеличивается смещение в выходном каскаде и начинается одностороннее ограничение, в результате чего снижается громкость и качество звучания.


Более совершенный приемник для работы на громкоговоритель можно собрать по схеме, изображенной на рис. 5. Приемник может быть рассчитан (см. таблицу) на те же данные источника питания, что и приемник, описанный выше. Сопротивление R2 подбирается по максимуму громкости. Сопротивления R4 и R6 можно подобрать описанным выше способом с помощью миллиамперметра, руководствуясь данными, приведенными в таблице. Неплохо можно наладить приемник и на слух при питании прямо от земляной батареи. В этом случае сопротивления R2, R4 и R6 заменяются на время потенциометрами в 1 Мом, 220 ком и 22 ком соответственно. Регулируя величины сопротивлений R2, R4 и R6 поочередно по несколько раз, нужно добиться максимальной неискаженной громкости при речевой передаче. Величина сопротивления R2 устанавливается по максимальной громкости. После этого все три потенциометра заменяются постоянными сопротивлениями с округлением до номиналов в сторону увеличения.

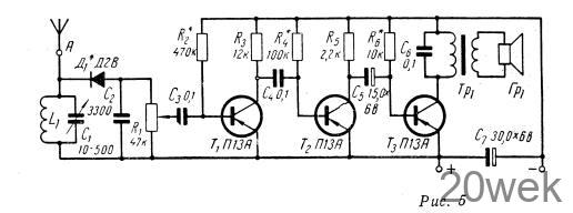
Все описанные приемники обладают полосой пропускания от 200 гц до 8 кгц, а коэффициент нелинейных по входу не превышает 10%. Для выключения приемников можно предложить схему, изображенную на рис.6, в которой при выключении приемника антенна заземляется автоматически. Переключатель П1 используется от грозопереключателя. Если после нескольких месяцев работы напряжение земляного элемента при работе приемника будет в среднем значительно ниже, чем требуется по расчету, то необходимо увеличить площадь электродов или, в крайнем случае, уменьшить ток, потребляемый выходным каскадом.





