РАДИОПРИЕМНИК «МИР»
К. ЛОКШИН, И. БОЖКО, Радио №1/1964 ст.36
Карманный супергетеродинный радиоприемник «Мир», разработан в СКВ Минского радиозавода. Приемник предназначен для приема передач радиовещательных станций, работающих в диапазоне длинных и средних волн. Прием осуществляется на внутренние магнитные антенны, одна из которых используется в диапазоне длинных волн, другая — в диапазоне средних волн.

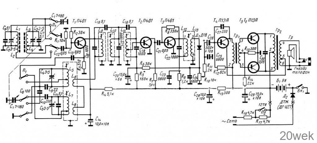
Чувствительность приемника в диапазоне длинных волн не хуже 2,5 мв/м, а в диапазоне средних волн — 1,3 мв/м. избирательность по соседнему каналу не менее 24 дб, номинальная выходная мощность — 70 мвпг при кпд не менее 40%. Питание приемника осуществляется от сухой батареи «Крона», или от аккумулятора 7Д-0,1. Подзарядка аккумулятора производится от сети переменного тока напряжением 127 или 220 в с помощью однополупериодного выпрямителя на диоде ДГ-Ц27 или Д7Ж. При отсутствии сигнала приемник потребляет ток не более 8 ма. Он сохраняет работоспособность при снижении напряжения питания до 5,6 в. Размеры приемника 137X80X39 мм, вес — 400 г. Принципиальная схема приемника приведена на рис. 1.

Приемник собран по супергетеродинной схеме на 6 транзисторах. В преобразовательном каскаде применен транзистор П401 (T1), с цепью базы которого связаны входные контуры, состоящие для длинноволнового диапазона из катушки L1 и конденсаторов С1, С2, С6 (катушка связи L2), а для средневолнового, из катушки Lз и конденсаторов С1, Сз, C7 (катушка связи L4). Катушки ДВ и СВ диапазонов намотаны на отдельных ферритовых стержнях. Гетеродин собран по схеме с индуктивной обратной связью (контурные катушки L5 и L7, катушки обратной связи L6 и L8). Напряжение гетеродина подается на эмиттер преобразователя с части витков катушек L5 и L7.
Нагрузкой преобразователя является трехконтурный фильтр сосредоточенной селекции (контуры L9C15, L10C17 и L11C19) с емкостной связью между контурами через конденсаторы С16 и C18. Необходимый режим транзистора Т1 устанавливается и его рабочая точка стабилизируется при помощи сопротивлений R1, R2 и R3.
Усилитель промежуточной частоты приемника — двухкаскадный. Первый каскад УПЧ апериодический, а второй — резонансный. С нагрузки второго каскада УПЧ — контура L12C22 через катушку связи L13 напряжение подается на диодный детектор, выполненный на диоде Д1В (Д1). Нагрузкой детектора служит переменное сопротивление R10 регулятора громкости, с которого напряжение низкой частоты поступает на базу транзистора П13А (Т4) каскада предварительного усилителя НЧ. Постоянная составляющая продетектированного напряжения используется в качестве напряжения АРУ. Это напряжение с сопротивления R10 через развязывающий фильтр R6C20 поступает на базу транзистора Т2, обеспечивая необходимые пределы регулировки усиления. Предварительный каскад усиления низкой частоты — трансформаторный. Со вторичной обмотки трансформатора Tp1 напряжение НЧ подается на базы триодов Т5 и Т6, работающих в двухтактном выходном каскаде. Режим выходного каскада определяют сопротивления R14 и R15.

Весь усилитель низкой частоты охвачен глубокой отрицательной обратной связью. Напряжение обратной связи снимается с части вторичной обмотки выходного трансформатора Тр2 и подается на эмиттер транзистора Т4. Конденсатор С27 служит для коррекции частотной характеристики усилителя в области высоких частот. Для устойчивой работы приемника в цепях питания включены развязывающие фильтры R4C14, R9C 23, R1зС28.

Монтаж приемника выполнен печатным способом на плате из фольгированного гетинакса размерами 107×74 мм. Монтажная плата, громкоговоритель и источник питания заключены в двухцветный пластмассовый футляр. Катушки L1—L4 намотаны на каркасах, расположенных на ферритовых стержнях Ф-600 длиной 74 мм и диаметром 8 мм. Катушки фильтров промежуточной частоты и гетеродина намотаны на каркасах, помещенных в горшкообразные броневые сердечники из феррита Ф-600. Данные катушек приведены в таблице 1, а трансформаторов — в таблице 2. В приемнике применен громкоговоритель типа 0,25 ГД-1





