ПРИЕМНИК НА ТРЕХ ТРАНЗИСТОРАХ
В. Ступеньков, Радио №5/1964, ст.46
Радиоприемник предназначен для приема одной станции на фиксированной волне 1141 м. Он монтируется в оправе облегченных солнечных очков и имеет вес около 30 г.
Питается приемник от одного аккумулятора типа Д-0,06 напряжением 1,25 в и потребляет ток 3 ма. Заряженного аккумулятора достаточно на 12 ч непрерывной работы приемника.
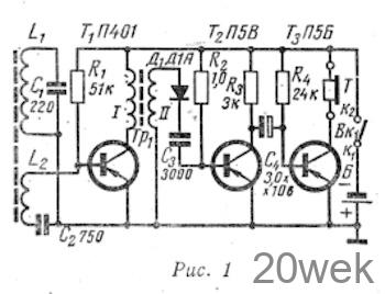
Как видно из рис. 1, приемник собран по схеме прямого усиления на трех транзисторах и одном германиевом диоде. Входной контур L1C1 настроен на одну фиксированную частоту. Усилитель ВЧ выполнен по схеме апериодического усиления на транзисторе Т1 типа П401. Нагрузкой каскада служит высокочастотный трансформатор Tp1. Сигнал, снимаемый со вторичной обмотки трансформатора, детектируется диодным детектором Д1 и через конденсатор связи Сз подается на базу транзистора Т2 — П5В первого каскада усилителя НЧ. Выходной каскад усилителя НЧ собран на транзисторе Тз—П5Б. Его нагрузкой служит обмотка телефона типа ВТМ-1.

В приемнике применен квадратный ферритовый стержень Ф-600 размером 4×4 мм и длиной 90 мм. Он изготовляется из круглого ферритового стержня диаметром 8 мм путем обработки на среднезернистом наждачном камне. Катушка входного контура L1 содержит 240 витков провода ЛЭШО 10×0,07, намотанных виток к витку. Катушка связи L2 намотана сверху катушки на манжете и имеет 24 витка провода ПЭЛ-0,2. Трансформатор Tp1 намотан на ферритовом кольце Ф-600 с внешним диаметром 8—10 мм. Его первичная обмотка содержит 80 витков, а вторичная — 240 витков провода ПЭЛШО —0,1.
Конденсаторы С1С2 — типа КСО, КТ К или КДС, Сз — типа КДС, С4 — электролитический типа ЭМИ или фирмы «Тесла». Диод Д1— типа Д1А или группы Д9. Сопротивления R1R4 — типа УЛМ.

В приемнике применен электромагнитный телефон типа ВТМ-1 от слухового аппарата «Кристалл». Общий вид и конструкция очков хорошо видны на рис. 2 и 3. Металлическая основа оправы очков используется в качестве плюсовой шины. К ней в правой заушине (рис. 2, 6) с помощью 10 стоек (1 —10) из органического стекла крепится минусовая шина I. Стойки 3—8 имеют 8 монтажных штырьков для крепления деталей приемника (на рисунке показаны точками). Штырьки изготовлены из медного провода диаметром 0,5 мм.

В левой заушине (см. рис. 3) с помощью четырех стоек (1—4) крепится шина II, которая служит наружной антенной приемника. Шины изготовлены из медного провода диаметром 0,8—1,0 мм.
Выключатель Вкг представляет собой винт М2 с головкой. При завертывании винта происходит замыкание контактов K1 и К2 (рис. 1)
Аккумулятор устанавливается в специальное гнездо и удерживается в нем контактными пружинами Kn1 Kn2 (рис. 2, а).
Для защиты монтажа приемника от внешних воздействий применены чехлы из полиэтиленовой пленки. Соединение швов выполнено с помощью сварки на пламени спиртовой горелки. Чехлы могут быть окрашены в любой цвет. Монтаж приемника показан на рис. 3. В левой заушине очков размещен антенный контур, состоящий из ферритового стержня с катушками L1 и L2 и конденсаторов С1 и С2. В правой заушине смонтированы усилители ВЧ и НЧ, детектор, источник питания и гнезда для включения телефона.
Для соединения катушки связи с базой транзистора T1 используется литцендрат, приклеенный к стеклахм очков с внутренней стороны.
Налаживание приемника заключается в подборе и установке режима транзисторов. Режимы и коэффициенты усиления В транзисторов приемника приведены в таблице 1.

Указанные на схеме приемника транзисторы можно заменить следующими: П401 — на П402, П403, П19; П5Б и П5В — на Г15 с любой буквой или П19. При замене необходимо подобрать сопротивления смещения R1, R2 и R4 так, чтобы токи коллекторов транзисторов соответствовали величинам, указанным в таблице.
При возбуждении приемника необходимо поменять местами концы катушки связи L2 (рис. 1) или вторичной обмотки высокочастотного трансформатора Тр1. При измерении потребляемого тока авометром к источнику питания необходимо параллельно подсоединить электролитический конденсатор емкостью 10—25 мкф.
Практически радиоприемник может быть настроен на несколько фиксированных частот местных или удаленных радиостанций в диапазоне средних или длинных волн. Для этого надо изменить число витков катушки и конденсатора С1 (рис. 1).
При налаживании приемника необходимо принять во внимание расстройку контура L1C1, вносимую телом человека. Особенно заметно она сказывается при приеме сигналов удаленных радиостанций. Поэтому для точного подбора емкость С1 в приемнике составлена из двух конденсаторов.
Для зарядки аккумуляторов используется зарядное устройство типа ЗУ-З или самодельный выпрямитель, схема которого приведена на рис. 4.

Радиоприемник сохраняет работоспособность при снижении напряжения источника питания до 0,5 в.
Радио №5/1965, ст.60






