ПРИЕМНИК НА ОДНОМ ТРАНЗИСТОРЕ (В очках)
Б.Минин, Радио №5/1964, ст.45
Радиоочки являются приемником индивидуального пользования и предназначены для приема двух радиостанций, работающих на волнах 1734 м и 547 м. Приемник сконструирован на базе слуховых очков, выпускаемых промышленностью для людей с пониженным слухом. В качестве источника питания используется один аккумулятор типа Д-0,06 или элемент ОР-1к напряжением 1,25 в.
Приемник собран по схеме прямого усиления с одним каскадом усиления высокой частоты на транзисторе типа П402. Во входной цепи для уменьшения количества деталей при достаточной простоте переключателя диапазонов использован контур с последовательным резонансом.
Катушки антенного контура намотаны на ферритовом стержне Ф-600 диаметром 8 мм и длиной 70 мм. Катушка Lr содержит 165 витков провода ПЭЛШО-0,23; Д и L3 — по 30 витков провода ПЭЛ-0,12.

Дроссель Др1 намотан на ферритовом кольце Ф-1000 с внешним диаметром 7 мм и содержит 200 витков провода ПЭЛ-0,05. Он зашунтирован диодами (Д1, Д2), включенными противопараллельно. Такая цепочка является симметричным относительно нуля нелинейным элементом и в небольшом (10—20 дб) динамическом диапазоне может выполнять функции автоматической регулировки усиления. Действие ее основано на том, что динамическая проводимость двух включенных противопараллельно диодов при малых уровнях сигнала (до 0,05—0,2 в) близка по величине к учетверенной обратной проводимости диодов, а при больших уровнях сигнала (1—3 в) — к удвоенной проводимости диодов в прямом направлении. Это объясняется тем, что при малых уровнях сигнала наклон вольтамперной характеристики диода небольшой и практически симметричен относительно начала координат. Другими словами, обе полуволны напряжения каждым диодом шунтируются приблизительно в одинаковой степени, но незначительно. Таким образом, если такая цепочка включена параллельно нагрузке усилителя ВЧ, оказывается, что на малых уровнях сигнала, когда динамическое сопротивление цепочки намного больше выходного сопротивления каскада, она на работу схемы практически не влияет. На больших же уровнях сигнала шунтирующее действие такой цепочки резко увеличивается, так как крутизна характеристики диода в прямом направлении увеличивается приблизительно в квадратичной зависимости от уровня приложенного напряжения. Таким образом, начинает резко проявляться асимметрия амплитудной характеристики каждого диода относительно оси напряжений. Это означает, что «прямая» полуволна переменного напряжения (приложенная в прямом для диода направлении) шунтируется каждым диодом значительно сильнее, чем «обратная».
Противопараллельное включение диодов позволяет исключить полярную асимметрию, так что общий эффект от применения такой цепочки заключается в плавном увеличении шунтирования обеих полуволн переменного напряжения при увеличении его уровня.
Следует отметить, что применение описываемой цепочки для целей АРУ в цепях низкой частоты приводит к заметным искажениям, однако для сигналов высокой частоты с коэффициентом модуляции не более 20— 30% искажения даже на большом уровне сигнала практически не ощущаются.
Для детектирования используется диод Дз типа Д1Д.
Принципиальная схема усилителя ВЧ и детектора радиоочков приведена на рис. 1. В качестве усилителя НЧ в радиоочках используется усилитель слуховых очков с небольшими изменениями: телефон переставлен на место изъятого микрофона (подводка сделана экранированным проводом). Сопротивление в цепи смещения выходного транзистора увеличено до 130 ком (для людей с нормальным слухом), при этом потребляемый ток уменьшается с 12 ма до 4 ма.

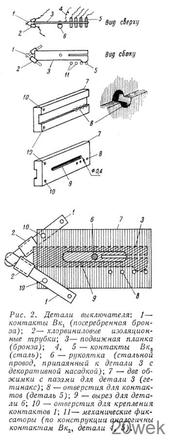
Чтобы радиоочками можно было пользоваться как обычными очками (когда прием станций не производится), применен выключатель питания, совмещенный с переключателем диапазонов. Конструкция переключателя приведена на рис. 2. Особое внимание при конструировании переключателя уделено устройству контактов Вк1. Эти контакты, с целью предотвращения самовозбуждения усилителя должны иметь минимальное переходное сопротивление. Этого можно достигнуть, применив, например, пару серебро—серебро. Применять для контактов пару из разнородных металлов, например бронза — серебро, не рекомендуется. Переключатель на схеме рис.1 показан в выключенном положении. В положении «1734 м» контакты Вк1 и Вк2— замкнуты. В положении «547м» контакты Bk1 замкнуты, а Вк2 разомкнуты.
Для зарядки аккумулятора Д—0,06 применен простейший однополупериодный выпрямитель, схема которого приве- на рис. 3. Время зарядки — 12 ч.

Расположение деталей в заушинах радиоочков показано на рис. 4.

В заключение необходимо отметить, что радиоочки весьма экономичны, надежны в работе и удобны в эксплуатации; качество звучания отличается большим динамическим диапазоном и малыми частотными и нелинейными искажениями





