МИЛЛИВОЛЬТМЕТР НА ТРАНЗИСТОРАХ
В.Нуждин Радио №3/1963 ст.50
В статье приведено описание несложного милливольтметра на транзисторах, изготовление которого доступно для радиолюбителя средней квалификации.
Прибор предназначен для измерений переменных напряжений в диапазоне частот 10 гц—30 кгц и имеет 10 поддиапазонов: 0—10 мв\ 0— 30 мв, 0—100 мв, 0—300 мв, 0—1 в, 0—3 б, 0—10 в, 0—30 в, 0—100 в и 0—300 б. Входное сопротивление вольтметра на первых пяти поддиапазонах около 1 Мом, на остальных —2 Мом; входная емкость не более 15 пф. Точность измерений напряжений во всем диапазоне частот при температуре от +10° до +30cC не хуже ±5%. При изменении напряжения питания на ±20% точность показаний милливольтметра ухудшается на 1 —1,5%. Шкала милливольтметра проградуирована в децибелах, поэтому прибор удобен для смятия частотных характеристик усилителей НЧ, регуляторов тембра, громкости и т. п. Милливольтметр питается от 4-х батарей ФБС-0,25, потребляемый ток не превышает 2,5 ма. Прибор небольшой по размерам, 35х 135х 180 мм.

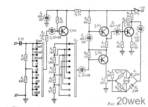
Принципиальная схема милливольтметра приведена на рис. 1. Измеряемое напряжение подается на вход первого каскада усилителя НЧ, выполненного по схеме эмиттерного повторителя. Основное преимущество эмиттерного повторителя — большое входное сопротивление и линейная амплитудная характеристика. На входе и в цепи нагрузки первого каскада включены элементы аттенюатора, с помощью которого переключаются пределы измерений милливольтметра. Когда переключатель Я1 находится в верхнем по схеме положении, чувствительность усилителя такова, что стрелка гальванометра на выходе усилителя отклоняется полностью при подаче на входные гнезда прибора напряжения 10 мв. При измерении напряжения до 1 б на вход первого каскада подается все измеряемое напряжение, а на последующие каскады лишь часть его (с делителя R3 —R7). При измерении напряжения выше 1 в делитель R1— R2 в 316 раз (на 50 дб) ослабляет напряжение на входе. Таким образом, диапазон измерений расширяется от 1 до 300 б.
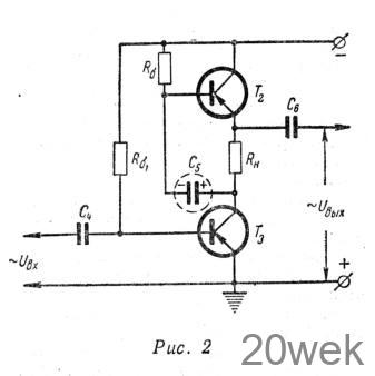
Второй каскад усилителя выполнен по несколько необычной последовательной схеме на двух транзисторах (рис. 2). Транзисторы по постоянному току включены последовательно. Т2 включен по схеме с общим эмиттером и нагружен сопротивлением RH и внутренним сопротивлением транзистора Т2. Переменное напряжение с сопротивления Rн подается на базу транзистора Т2, который со стороны выхода включен как эмиттерный повторитель.
Благодаря этому коэффициент усиления каскада равен 1200—1500, если использованы транзисторы с В=30ч-40. Кроме того, каскад имеет хорошую частотную и фазовую характеристики. Режим работы транзистора Т3 стабилизирован сопротивлением R12, поэтому нет необходимости в специальной стабилизации транзистора Т2.

Оконечный каскад собран на транзисторе Т4. Коллекторный ток последнего стабилизирован сопротивлениями Rn — R1Q. Кроме того, от величины этих сопротивлений зависит выбор рабочей точки. Сопротивление R15 увеличивает входное сопротивление оконечного каскада. Это несколько снижает коэффициент усиления последнего.
Напряжение, снятое с нагрузки оконечного каскада (с сопротивления R17), выпрямленное двухполупериодным мостовым выпрямителем, измеряется гальванометром М-24. Гальванометр зашунтирован сопротивлением R20, поэтому его первоначальная чувствительность 100 мка снижена до 0,5 ма, а ток через диоды увеличен. При больших токах вольтамперная характеристика диода линейна, следовательно шкала прибора тоже линейна.
Усилитель охвачен глубокой отрицательной обратной связью, поэтому параметры усилителя стабильны, а шкала прибора линейна. Напряжение обратной связи подается с выхода усилителя в цепь эмиттера транзистора Т3. Глубину обратной связи регулируют потенциометром R13 при налаживании усилителя. Из-за обратной связи входное сопротивление второго каскада, а в конечном счете всего усилителя увеличивается. Коэффициент усиления усилителя из-за обратной связи уменьшается до 50. Такую глубокую обратную связь удалось получить лишь благодаря последовательной схеме второго каскада, во всех других случаях столь глубокая обратная связь приводит к самовозбуждению усилителя.

Конструкция и детали.
Милливольтметр выполнен в прямоугольном металлическом футляре размерами 35x135x 180 мм со съемной задней стенкой (рис. 3). К Лицевой панели прикреплены гальванометр, переключатель П1 , тумблер включения питания Вк1 и входные зажимы. Элементы ФБС в круглых патронах из органического стекла расположены на задней стенке прибора. Их можно расположить и внутри корпуса, по обеим сторонам гальванометра. Все детали усилителя, за исключением конденсатора С1 и сопротивлений обоих делителей, смонтированы на гетинаксовой монтажной плате размерами 70 х 115 мм (рис. 4). Конденсатор и сопротивления делителей припаивают непосредственно к выводам переключателя и к входным зажимам.


В приборе использованы сопротивления МЛТ-0,5 и конденсаторы ЭМ и БМ. Емкость конденсатора С4 не следует брать выше указанной на схеме, иначе работа прибора будет неустойчивой. Величины всех остальных конденсаторов могут отличаться от указанных на 50% — 100%. Величины сопротивлений R1—R7 надо подобрать с возможно большей точностью, так как от этого зависит точность измерения. В крайнем случае можно допустить отклонения на +5%. Чувствительность микроамперметра М—24 100 мка, сопротивление рамки 1600 ом. Можно использовать любой другой гальванометр с чувствительностью до 0,5 ма. В этом случае сопротивление R20 надо исключить. Очень удобно использовать гальванометр со шкалой, имеющей 100 делений.
Переключатель П1 двухплатный на 11 положений, для уменьшения высоты прибора расстояние между соседними платами уменьшено до9лш. Потенциометр R13 типа СПО—0,5.
Вместо транзисторов П14 можно использовать без ущерба для качества прибора П13, П13А, П15, П16, П401 и т. п. Необходимо лишь применять транзисторы с коэффициентом усиления по току не менее 20, причем транзисторы Т3, 74 должны быть с большим В, а 7\, Т2 могут иметь меньшее. Вместо точечных диодов Д9Ж можно применить плоскостные Д7, точечные диоды других типов не рекомендуются, так как при этом труднее получить линейную шкалу. ‘
Налаживание.
При налаживании и градуировке милливольтметра рекомендуется пользоваться звуковым генератором ЗГ-10 или другим подобным налаживаемому вольтметром переменного тока достаточно высокого класса точности и осциллографом (последний не обязателен).
Включив питание, ставят переключатель поддиапазонов в положение 10 мв. Устанавливают движок потенциометра R13 в нижнее по схеме положение и проверяют коэффициент усиления усилителя при минимальной глубине отрицательной обратной связи. Для этого на вход усилителя от звукового генератора подается напряжение частоты 1000 гц, причем такой величины (0,1—0,3 мв), чтобы стрелка прибора отклонилась на всю шкалу. Если стрелка гальванометра отклоняется полностью при значительно большем напряжении, значит режим работы второго каскада (Т2, Т3) выбран неправильно. В этом случае постоянные сопротивления /?1Э и R12 следует заменить переменными в 1 Мом. Плавно изменяя величины этих сопротивлений, добиваются максимального усиления. По мере увеличения коэффициента усиления, а следовательно, и отклонения стрелки гальванометра, выходное напряжение генератора надо постепенно уменьшать. Подобрав величины сопротивлений, их измеряют, и переменные сопротивления заменяют постоянными. Если при любых значениях Rl0 и R12 полное отклонение стрелки гальванометра наблюдается при входном напряжении более 0,5 мв, следует проверить исправность оконечного каскада. Для этого к выходу звукового генератора через электролитический конденсатор 5—10 мкф подключают базу транзистора Т4. При выходном напряжении генератора 50—100 мв стрелка гальванометра должна отклониться на всю шкалу. Если есть осциллограф, надо проверить форму напряжения сигнала на коллекторе транзистора Т4 при полном отклонении стрелки гальванометра. Форма напряжения должна быть синусоидальной. В противном случае надо изменить величину сопротивления Ru. При налаживании прибора приходится измерять малые напряжения порядка единиц, долей милливольта. Это представляет определенную трудность. Если же звуковой генератор имеет декадный аттюнеатор с пределами регулировки не менее 60—80 дб, поступают так: выход генератора подключают к контрольному вольтметру. Ручкой плавной регулировки устанавливают выходное напряжение равным 1 в, при этом декадный аттенюатор должен стоять в положении 0 дб. Теперь с помощью декадного аттюнюатора можно получить любое напряжение. Если установить его в положение 60 дб, то выходное напряжение генератора будет равно 1 мв, положение 70 дб соответствует напряжению 0,3 мв, положение 80 дб — 0,1 мв.
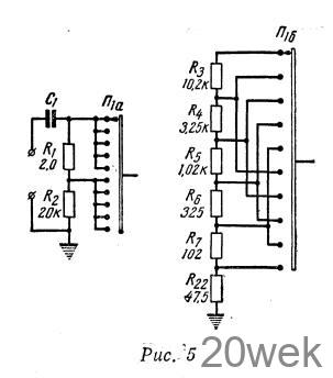
После того, как получена необходимая величина коэффициента усиления, можно приступить к калибровке милливольтметра. В зависимости от того, какая шкала используется в приборе, выбирают и величины сопротивлений делителей R1— R2 и R3—R7.
На схеме (рис. 1) величины сопротивлений делителей указаны для случая, когда прибор имеет две шкалы: одну для пределов измерения 10 мв, 100 мв и т. п., другую — для 30 мв, 300 мв и т. п., причем последние деления на двух шкалах совпадают. В этом случае милливольтметр калибруют так. На его вход от звукового генератора подают напряжение, по величине равное одному из пределов измерений, например 1 в, и контролируемое образцовым вольтметром. Переключатель пределов милливольтметра ставят в положение 1 в и; плавно вращая движок потенциометра R13, устанавливают стрелку гальванометра на последнее деление шкалы. Более удобна шкала, проградуированная в децибелах. В этом случае величины сопротивлений делителя надо изменить (рис. 5). Если коэффициент деления делителя равен 3,18, то деления двух соседних шкал отличаются на 10 дб.

Шкалу в децибелах легко вычертить самому, пользуясь рис. 6 и табл. 1. Шкала в децибелах градуируется относительно делений шкалы 1 в. Для удобства на лицевой панели рядом с пределами измерений в милливольтах и вольтах, следует нанести деления в децибелах по табл* 2.


Работа с прибором.
За 3—5 мин. до начала измерения милливольтметр надо включить. В остальном прибором пользуются так же, как любым другим ламповым. Однако следует иметь в виду, что из-за включения шунтирующего сопротивления R20 время установления стрелки гальванометра значительно больше, чем в аналогичных ламповых приборах.
При снятии частотных характеристик напряжение на выходе исследуемого устройства устанавливают таким, чтобы стрелка милливольтметра показывала 0 дб. Предел измерения милливольтметра выбирается так же, как обычно. После этого изменяют частоту генератора и записывают отсчеты по шкале децибел.. Если при измерении приходится переключать милливольтметр на другие пределы, то к отсчетному значению децибел надо прибавить (или вычесть) 10 дб при переходе на один соседний поддиапазон и 20 дб при переходе на два поддиапазона. Например, нуль децибел (на частоте 1000 гц) был установлен на шкале 3 в (4-10дб). При определении завала частотной характеристики на частоте 20 гц переключатель ставят в положение 300 мв (—10 дб), а отсчет пб шкале децибел равен — 6 дб. Тогда завал на частоте 20 гц. равен 26 дц (20 раз).





