ЛЮБИТЕЛЬСКИЙ ТРАНЗИСТОРНЫЙ СУПЕРГЕТЕРОДИН
М. РУМЯНЦЕВ, Радио №2.1964, ст.25
Приемник рассчитан на работу в диапазоне длинных — 732 — 2 000 м (150 — 410 кгц) и средних — 200 — 577 м (520 — 1500 кгц) волн. Промежуточная частота 465 кгц. Избирательность приемника по соседнему каналу (при расстройке на ±10 кгц) не менее 15 дб. Чувствительность его при работе на магнитную антенну в диапазоне длинных волн — 1,5—2 мв/м, а в диапазоне средних — 1 — 1,5 мв/м. Полоса пропускания всего тракта приемника 350—3 500 гц. Номинальная выходная мощность около 150 Вт. Звуковое давление, развиваемое громкоговорителем, в указанной полосе частот при номинальной мощности равно 0,25 н/м2. Приемник питается от сухой батареи типа «Крона» напряжением 9 в. Средний ток, потребляемый приемником, равен 15—17 ма. При работе с максимальной громкостью запаса электроэнергии батареи хватает на 5—6, а со средней на 10—12 ч. Внешние размеры приемника 151X 91X41 мм, вес его около 450 г.

Принципиальная схема. Входные цепи приемника состоят из катушек L1—L5, причем на длинных волнах работают катушки L2, L3, а на средних L4, L5. Катушка L1 с конденсатором C1 является элементом связи с внешней антенной. Входные катушки переключаются секциями П1а и П1б переключателя диапазонов П1. Преобразователь частоты и гетеродин работают на одном транзисторе Т1 типа П401. Гетеродин собран по схеме с индуктивной обратной связью, которая осуществляется катушками L7, L9, индуктивно связанными с гетеродинными катушками L6, L8. В диапазоне длинных волн работают катушки L6, L7, а в диапазоне средних — L8, L 9. Катушки коммутируются секциями П1В, П1Г и П1Д переключателя диапазонов П1. В усилителе ПЧ работают транзисторы Т2 и Тз, а в детекторе — полупроводниковый диод Д1. Напряжение АРУ снимается с нагрузки диода и подается на вход транзистора Т2. Транзисторы Т4— T7 работают в усилителе НЧ. Выходной каскад нагружен на сопротивление катушки громкоговорителя Гр, вместо которого через гнездо Г1 можно подключить либо другой громкоговоритель, либо головной телефон (внутренний громкоговоритель при этом автоматически отключается). Регулятор громкости R9 объединен с выключателем Вк1. Внешняя батарея, подключается к приемнику через гнездо Г2, при этом внутренняя батарея отключается.

Детали приемника. В приемнике применены промышленные и самодельные детали. Перечень промышленных деталей, необходимых для постройки приемника приведен в таблице 1. Самостоятельно следует изготовить контурные катушки, трансформаторы, монтажную плату, переключатель диапазонов, футляр и некоторые другие мелкие детали.

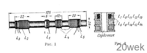
Входные катушки магнитной антенны намотаны на бумажные гильзы, которые свободно перемещаются по ферритовому стержню (рис. 1).

Катушки контуров гетеродина и фильтров промежуточной частоты намотаны на трехсекционные полистироловые каркасы и помещены в горшкообразные сердечники типа СБ—1а из карбонильного железа. Намоточные данные катушек приемника приведены в таблице 2, а их конструкция показана на рис. 2.
Согласующие низкочастотные трансформаторы Тр1 и Тр2 выполнены на пермаллоевых (ПН50 или ПН70) сердечниках из пластин Ш4 толщина набора 10 мм. Намоточные данные обмоток трансформатора приведены в табл. 3. Монтажная плата размерами 145X 85X2 мм изготовлена из гетинакса или текстолита.

Для радиолюбителей может представлять интерес конструкция гнезд автоматического выключателя внутреннего громкоговорителя или батареи питания, показанная на рис. 3. Контактные подвижные пружины 2, 3 вырезаны из хорошо пружинящего материала (нагартованная латунь, бронза) толщиной 0,2—0,3 мм. Неподвижным контактом 1 служит медная заклепка небольшого диаметра.

Батарея питания укреплена с помощью пружинящего хомутика из бронзы толщиной 0,3—0,4 мм. Металлический хомутик можно заменить резиновым. Колодка с контактами для подключения батареи к приемнику используется от старой батареи «Крона». Пружинящие контакты для подключения громкоговорителя вырезаны из бронзы толщиной 0,15—0,2 мм. На изоляционной планке магнитной системы громкоговорителя закреплены неподвижные контакты, соединенные с выводами звуковой катушки. При желании, пружинящие контакты можно заменить гибкими проводниками.
Сборка и монтаж. Перед сборкой на монтажной плате следует установить опорные стоечки из впрессованных с клеем БФ-2 кусочков медного луженого провода диаметром 0,8—1 мм или пустотелых заклепок. После этого, руководствуясь рисунками монтажа, приведенным рисунке закрепить основные детали и приступить к монтажу. Монтажные соединения между отдельными деталями приемника выполнены медным луженым проводом без изоляции диаметром 0,5—0,8 мм снизу монтажной платы. Сопротивления, конденсаторы и, особенно транзисторы и диод следует паять, пользуясь теплоотводом (пинцет или длинногубцы). Налаживание. Усилитель НЧ приемника налаживают с помощью звукоснимателя, трансляционной сети или фабричного радиоприемника, отключив его от высокочастотной части. При налаживании подбирают сопротивления R11, R12, R14 и R15, добиваясь максимального неискаженного сигнала. Выходной каскад усилителя работает в экономичном режиме близком к классу В, поэтому сопротивление R15, задающее его режим, надо подобрать особенно тщательно. При правильно выбранном режиме в отсутствии сигнала ток, потребляемый усилителем, не должен превышать 5—7 мА, а при максимальном сигнале 25—30 ма. Пользуясь контрольным миллиамперметром, влюченным в разрыв минусового провода батареи, можно контролировать и усиление остальных каскадов приемника. Чем больше сигнал на входе выходного каскада, тем больший ток зафиксирует миллиамперметр. Наладив усилитель НЧ, восстанавливают схему приемника и проверяют его работоспособность. Для этого подстроечные сердечники гетеродинных катушек и фильтров усилителя ПЧ ставят в среднее положение и, вращая ротор блока конденсаторов переменной емкости, настраиваются на одну из станций. Если принять радиостанцию не удается, то, в первую очередь, следует поменять местами выводы катушек обратной связи L7 или L9, в зависимости от того, на каком диапазоне производится проверка приемника. Если при настройке в громкоговорителе прослушиваются различные изменяющиеся свисты, а приема нет, нужно подстроить соответствующую гетеродинную катушку. Приняв сигнал какой-либо станции, подстраивают входную катушку и фильтры усилителя ПЧ. После этого подбирают величины сопротивлений R1, R4 и R6. При подстройке усилителя ПЧ цепь АРУ надо отключить, соединив нижний по схеме вывод сопротивления R5 с плюсовым проводом цепи питания. Устанавливают границы диапазонов, окончательно подстраивают усилитель ПЧ и сопрягают входные и гетеродинные контуры обычным способом, который неоднократно описывался на страницах журнала «Радио» и другой радиотехнической литературе.
Контурные катушки приемника не экранированы, поэтому при другой компановке деталей на монтажной плате или уменьшении ее размеров схема может возбудиться по тракту промежуточной частоты. Это же явление наблюдается и при использовании во втором каскаде усилителя ПЧ транзистора с большим, чем указано в описании, коэффициентом усиления, а также при неправильном выборе величины сопротивления или величины обратной связи гетеродина. В последнем случае приемник возбуждается при работе на каком-либо небольшом участке диапазона. Чтобы не перематывать катушку обратной связи, можно последовательно с одним из ее выводов включить сопротивление, величину которого подбирают экспериментально. Если же приемник возбуждается на какой-либо одной станции, нужно попытаться увеличить емкость конденсатора С17 до 10 000— 50 000 пф, Указанная неисправность в конце средневолнового или в начале длинноволнового диапазонов может возникнуть при неточной настройке на промежуточную частоту. При слишком острой настройке на средневолновом диапазоне можно попытаться зашунтировать гетеродинную катушку сопротивлением 20—50 ком. То же самое можно сделать и с катушкой L10, если приемник имеет большое усиление и высокую избирательность.
В стационарных условиях при прослушивании музыкальных передач к выходу приемника можно подключить громкоговоритель мощностью 0,5—1,5 Вm, это значительно повысит качество звучания.





