Усилители НЧ на транзисторах с малым В
В. Розов, Радио №4/1964, ст.39
Подавляющее большинство схем усилителей НЧ, описанных в литературе, рассчитано на применение транзисторов с коэффициентом усиления по току В=50—100, реже 30—40. Однако в распоряжении любителя часто имеются транзисторы со значительно меньшим коэффициентом В=10—20. Такой коэффициент усиления по току, кстати, предусмотрен и техническими условиями на эксплуатацию полупроводниковых приборов (так для многих кремниевых транзисторов минимально допустимая величина В может составлять 9, для транзисторов типа П13—12, П401 —16, и для П14, П15—20). Основным недостатком таких транзисторов является меньшее, чем у обычных, усиление по мощности в схеме с общим эмиттером. Поэтому, чтобы использовать транзисторы с низким коэффициентом усиления, в схемах усилителей НЧ нужно прежде всего найти способ повышения общего усиления.
Таких способов может быть несколько. Можно., например, увеличить число транзисторов в схеме усилителя; использовать наивыгоднейший режим их работы, хорошо согласовать отдельные каскады или применить положительную обратную связь.
Наиболее просто повысить усиление, увеличив число каскадов с общим эмиттером. Однако такой способ встречает ряд трудностей и его не всегда можно реализовать. Известно, что усиление каскада с общим эмиттером по напряжению почти пропорционально величине коэффициента В. Так, если в двухкаскадном усилителе заменить транзисторы с коэффициентом В = 30 на транзисторы с коэффициентом В=10, усиление упадет приблизительно в 10 раз. Добавив один каскад с общим эмиттером и усилением по напряжению 10, можно, казалось бы, очень просто вернуться к прежней величине усиления. Однако трехкаскадный усилитель неустойчиво работает и легко возбуждается на низших частотах из-за связи через источник питания. Чтобы повысить устойчивость работы усилителя, придется применять развязки, что резко увеличит число деталей, которое и так возросло из-за дополнительных переходных конденсаторов и элементов смещения. Из сказанного ясно, что в данном случае увеличивать количество каскадов нерационально.
Целесообразнее разработать специальные схемы для транзисторов с малым коэффициентом В, либо применять их в схемах усилителей, имеющих большой запас по усилению и глубокую отрицательную обратную связь. Можно рекомендовать также включать такие транзисторы по схеме с общей базой, незаслуженно забытой в любительской литературе. В этом случае, работа каскада совершенно не будет зависеть от величины коэффициента В.


Использовать транзисторы с малым коэффициентом усиления В можно, включая их по схеме составного транзистора (рис. 2) или эмиттерного повторителя с непосредственной связью (рис. 1). Усиление по мощности одного такого каскада (оба они примерно равноценны) меньше, чем у двух каскадов с общим эмиттером, собранных на тех же транзисторах, и даже меньше, чем у эмиттерного . повторителя без связи по постоянному току. Это вызвано тем, что транзистор Т1 в схемах (рис. 1, 2) работает при малом токе коллектора, равном току базы транзистора Т2, и усиление его по току в этих условиях снижается. Преимуществом этих схем является повышенное входное сопротивление, что облегчает соединение отдельных каскадов между собой и сопряжение их с другими узлами схемы, например детектором, а недостатком — плохая температурная стабильность режима, которая может быть устранена с помощью некоторых специальных мер.
Хорошие качественные показатели усилителей на транзисторах с малым коэффициентом усиления можно получить, применяя одновременно положительную и отрицательную обратные связи. Положительная обратная связь в одном или нескольких каскадах выбирается такой величины, чтобы без отрицательной обратной связи они находились на пороге самовозбуждения, что позволяет условно говорить о «бесконечном усилении». Отрицательная обратная связь, охватывающая весь усилитель, снижает усиление до заданной величины и стабилизирует его работу. Комбинация положительной и отрицательной обратных связей позволяет получить выходное сопротивление усилителя, близкое к нулю и весьма малые нелинейные искажения. В обычных схемах для этого пришлось бы ввести отрицательную обратную связь значительной глубины.
Все названные способы повышения усиления были проверены на конкретных схемах усилителей. В соответствии с методикой, приведенной в статье И. Василькевича, были рассчитаны и собраны несколько простейших схем усилителей НЧ для приемников на транзисторах. Затем, все транзисторы с коэффициентом усиления В=30—50 были заменены транзисторами с коэффициентом 5—9—16, после чего произведена подгонка режимов. Параметры таких усилителей — входное сопротивление, коэффициент усиления, величина нелинейных искажений — оказались хуже, чем это требовалось для нормальной работы, поэтому все эти схемы были изменены так, чтобы и при использовании транзисторов с низким коэффициентом В их параметры оставались в допустимых пределах.

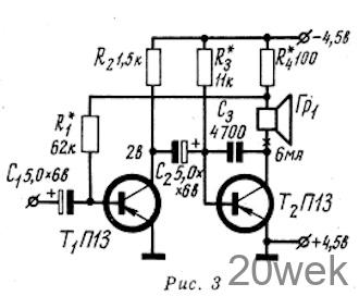
На рис. 3 приведена схема двухкаскадного усилителя НЧ с однотактным выходом, часто используемого в карманных приемниках. Если считать, что обратной связи нет, то есть сопротивление R4 замкнуто накоротко, то получится обычный двухкаскадный усилитель. В таком усилителе транзистор Т1 берут обычно с коэффициентом В=35—50, а Т2— с В=25—30. Общее усиление составляет, примерно 250—300 при входном сопротивлении 1,2—1,5 ком. Частотная характеристика имеет вид, показанный на рис. 4, а. При замене транзистора T1 на транзистор с коэффициентом В=16—18 и Т2 на транзистор с В=10—12 усиление снижается до 75—80, а входное сопротивление до 500 ом. Если же ввести положительную обратную связь по току, напряжение которой подать с сопротивления R4 на базу транзистора Т1 то входное сопротивление возрастет, а выходное — уменьшится. При величине сопротивления R4 около 100 ом входное сопротивление составляет 2—2,5 ком, усиление по: напряжению повышается до 180 (сопротивление источника сигнала 6 ком). Диапазон частот, воспроизводимых усилителем с обратной связью сужается, оставаясь вполне удовлетворительным для усилителя нагруженного на электромагнитный капсюль (рис. 4, б). Если использовать транзисторы с коэффициентом В большим, чем указано в статье, усилитель может возбудиться, в этом случае нужно несколько уменьшить сопротивление R4.

В усилителе НЧ (рис. 5) для согласования низкого входного сопротивления оконечного каскада с входным каскадом применен эмиттерный повторитель. Оконечный каскад нагружен на электромагнитный капсюль ДЭМ-4м с сопротивлением обмотки постоянному току 65 ом и 450 ом на частоте 1000 гц. Транзистор Тз применен с коэффициентом усиления В=11 при токе 1 ма, но так как коллекторный ток транзистора Тз составляет в среднем 6—8 ма, его В возрастает до 16—18. Входное сопротивление транзистора Тз из-за малого коэффициента В вместо обычных 800—1000 ом составляет 350 ом. Коэффициент усиления каскада по напряжению равный, как известно В*Rнаг/Rвх составляет в данном случае 16*450/350=20

Низкое входное сопротивление затрудняет согласование каскадов, поэтому между транзисторами Т1 и Тз включен эмиттерный повторитель, собранный на транзисторе Т2 с коэффициентом В=16 при токе 1 ма. Коллекторный ток транзистора Т2 равен току базы транзистора Тз и составляет 0,4—0,5 ма.. Из-за столь малого тока усиление транзистора Т2 снижается до 10. Входное сопротивление эмиттерного повторителя превышает сопротивление нагрузки в 5 раз и составляет 3,5 ком. При такой нагрузке усиление первого каскада по напряжению равно 25 при коэффициенте усиления транзистора Т1 по току 16—18. Общее усиление по напряжению равно 500—550 при входном сопротивлении 700 ом что вполне достаточно для работы от диодного детектора. Оконечный каскад собран по экономичной схеме, описанной в журнале «Радио» № 12 за 1963 г. Сопротивление Rз подбирается таким, чтобы ток коллектора транзистора Тз в режиме молчания составлял 2—3 ма, а при максимальном сигнале ток возрастал до 13 ма. Сопротивление R4 выбрано из условия наименьших искажений при сильном сигнале. Чтобы повысить стабильность режима оконечного каскада смещение на базу транзистора Т2 подается с коллектора транзистора Т1. С ростом температуры ток коллектора транзистора T1 растет, а напряжение на его коллекторе падает. При этом уменьшается ток базы транзистора Т2, а значит коллекторный ток транзистора Тз меняется меньше, чем при подаче смещения с минуса источника питания. Нижняя граница полосы пропускания описанного усилителя равна 500 гц, а верхняя определяется емкостью конденсатора Сз и составляет 4—5 кгц.

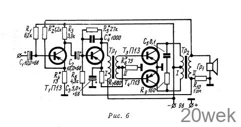
Усилитель, схема которого приведена на рис. 6 трехкаскадный. Оконечный каскад — двухтактный, с выходным и согласующим трансформаторами. Выходная мощность — 100—150 мВт. Все транзисторы — типа П13 с коэффициентом усиления В=9—16. Без обратных связей входное сопротивление усилителя составляет 500—700 ом, а чувствительность со входа 18—20 мв. Выход усилителя рассчитан на динамический громкоговоритель 0,1ГД-6 с сопротивлением звуковой катушки 10 ом. Для повышения усиления применена положительная обратная связь по току, напряжение которой снимается с сопротивления R10 и подается на базу транзистора Т2. Входное сопротивление, транзистора Т2 в результате этого повышается, так как напряжение обратной связи подается на базу параллельно с напряжением сигнала, а выходное сопротивление всего усилителя снижается. Однако, каскады усилителя, охваченные положительной обратной связью работают неустойчиво, поэтому в усилитель дополнительно введена отрицательная обратная связь, напряжение которой со вторичной обмотки трансформатора Тр2 подается в цепь эмиттера транзистора T1 через делитель R3—R4. Глубина отрицательной обратной связи выбирается такой, чтобы чувствительность, а значит и устойчивость усилителя оставались теми же, что и без обратных связей. Входное сопротивление при этом удается повысить до 6—8 ком.
Выходной трансформатор Тр2 выполнен на пермаллоевом сердечнике (45Н) типа Ш4Х6 его первичная обмотка содержит 2X350 витков провода ПЭВ 0,13, а вторичная — 95 витков провода ПЭВ 0,21. Согласующий трансформатор Тр1 намотан на таком же сердечнике. Первичная обмотка его содержит 1800 витков провода ПЭВ 0,08, вторичная — 2X250 витков провода ПЭВ 0,1. Сопротивление R4 состоит из двух сопротивлений УЛМ-27 ом, соединенных параллельно.
Транзисторы с минимальными величинами В ставятся в оконечный каскад, с максимальным — в первый. Налаживать усилитель нужно с подгонки режима транзистора Т1 с помощью сопротивления R1. При этом цепи обратных связей должны быть разорваны, для этого сопротивление R2 нужно вообще отключить от схемы, а нижний (по схеме) вывод сопротивления R6 присоединить к общему плюсу. Добившись напряжения на коллекторе транзистора Т1 4 в, можно подгонять режимы последующих каскадов. Режимы транзисторов Т2 и Тз—Т4 взаимосвязаны. Поэтому достаточно сопротивлением R5 подогнать суммарный ток оконечного каскада (замеренный в средней точке обмотки I выходного трансформатора) до 3—4 ма. Режим транзистора Т2 контролировать не нужно, так как он заведомо будет соблюден. Затем восстанавливают цепь обратной связи с сопротивлением R6. Если знак ее положителен, то усилитель возбудится на частоте 500— 800 гц. Подбирая величину сопротивления R6, нужно добиться, чтобы усилитель находился на пороге возбуждения или был слегка перевозбужден. Если возбуждение не возникает, следует поменять местами концы любой из обмоток трансформатора Tp1. Затем нужно восстановить отрицательную обратную связь через сопротивление R2. Возбуждение должно прекратиться. Следует учесть, что налаживание усилителя должно производиться с тем источником сигнала, от которого в дальнейшем будет работать усилитель.





