Транзисторный усилитель на 10 ватт
Радио №9/1965, ст.60
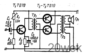
Усилитель (см. рис.) двухкаскадный, первый каскад собран по однотактной, а второй по двухтактной схеме. Максимальная выходная мощность усилителя 10 вт, при коэффициенте нелинейных искажений менее 7%. Усилитель воспроизводит полосу звуковых частот от 60 до 10 000 гц и рассчитан на громкоговоритель с сопротивлением звуковой катушки 15 ом.

Сопротивления R1 R2 служат для стабилизации режима транзистора Т1. Оконечный каскад работает в режиме класса В, который намного экономичнее режимов класса АВ и А. Усилитель охвачен отрицательной обратной связью, напряжение которой со вторичной обмотки выходного трансформатора Тр2 через R3C2 подается в цепь эмиттера транзистора Т1.
Оба трансформатора намотаны на сердечниках Ш22Х22. Первичная обмотка трансформатора Тр1 содержит 400 витков провода ПЭЛ 0,45, а вторичная 2X650 витков провода ПЭЛ 0,25. Обмотки I и II трансформатора Тр2 насчитывают по 100 витков провода ПЭЛ 0,7, обмотка III—11,2 и обмотка IV—8 витков того же провода.
«Radioamator i krótkofalowiec», 1965, N 3
От редакции: транзисторы TG70 можно заменить транзисторами П201, подобрав заново их режимы.
Радио №9/1966, ст.62






