ТАХОМЕТР, ОСНОВАННЫЙ НА ЭФФЕКТЕ ХОЛЛА
Е. КУЧИС,Т. ЯЗБУТИС Радио №3/1964 ст.26
Высокий уровень современной техники обусловливает широкое применение самых разнообразных механизмов с одним или многими вращающимися валами, При этом возникает необходимость измерения не только скорости вращения в широком диапазоне частот, но и определения равномерности вращения,
Известные бесконтактные измерители скорости вращения, такие как импульсные (емкостные, индуктивные и фотоэлектрические), индукционные и стробоскопические имеют ряд недостатков. К ним относятся сложность измерений, особенно при малых скоростях вращения, зависимость амплитуды электрического сигнала от скорости вращения и невозможность контроля за равномерностью вращения.
Разработанный тахометр, принцип действия которого основан на эффекте Холла, не имеет упомянутых недостатков и дает возможность определить равномерность вращения. Принцип его работы заключается в следующем. При пропускании постоянного тока через датчик Холла ДХ, представляющий собою пластинку полупроводника, размещенную в магнитном поле Я постоянного магнита SN, на зондах Холла, перпендикулярных току, появится электродвижущая сила Холла Ехол, величина которой зависит от угла наклона плоскости датчика к направлению линий магнитного поля:

где К — коэффициент, прямо пропорциональный постоянной Холла, силе тока в образце и обратно пропорциональный толщине датчика, Я — напряженность магнитного поля в зазоре магнита.
Следовательно, при вращении датчика в зазоре магнита эдс Холла будет изменяться по синусоидальному закону и может быть измерена электронным частотомером. Если принять во внимание, что напряженность магнитного поля в объеме вращения легко можно сделать однородной, то форма эдс Холла будет точно воспроизводить закономерность вращения датчика Холла. Преимуществом тахометра с датчиком Холла является также независимость величины эдс Холла от скорости вращения. Таким образом, можно измерять и наблюдать сколь угодно малую скорость вращения. Однако основным достоинством является возможность достижения очень большой точности измерения скорости вращения, ограничиваемой лишь точностью измерителей частоты. Если принять во внимание точность частотомеров, достигающую 10 ~э, то очевидно, что возможная точность тахометра с датчиком Холла на четыре — пять порядков выше по сравнению с лучшими современными тахометрами.
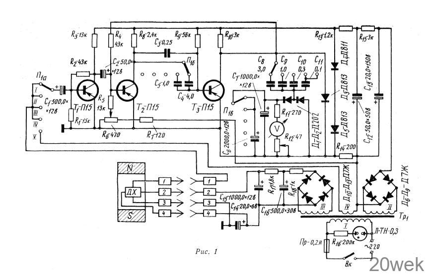
Тахометр предназначен для бесконтактного измерения скорости вращения в диапазоне скоростей от 30 до 6000 оборотов в минуту (от 0,5 до 100 гц) с точностью 1,5%. Соответственно требованиям была выбрана схема измерения. С целью получения возможности бесконтактного измерения скоростей вращения датчик Холла ДХ закрепляется неподвижно на вспомогательном штативе, расположенном в зазоре постоянного магнита. Магнит же прикрепляется к торцу вращающегося вала. Таким образом отпадает необходимость в применении скользящих контактов для соединения датчика с измерительным устройством. В качестве датчика Холла применена пластинка германия п- типа. Питание датчика осуществляется от выпрямителя на диодах Д10— Д13 (Д7Ж) с RC фильтром (R17, R18, С14— C16). Емкость С14 служит для уменьшения уровня пульсации выпрямленного напряжения. С датчика снимается переменная эдс Холла с частотой вращения вала, которая подается на вход транзисторного измерителя частоты. В основу схемы частотомера положена схема, предложенная инженерами Ивановым И. Н. и Сафоновым В. И. Частотомер позволяет получить точность измерения 1,5%.
Измеритель состоит из усилителя напряжения на транзисторе Т1., ждущего мультивибратора на транзисторах Т2 и Т3, зарядного устройства (С7—С11, Д1—Д3, R11—R12) с индикатором, выпрямителя (Д6—Д9) с фильтром (R13—R15, С12—С13) и стабилизатором напряжения (Д4— Д5);
Усиленное переменное напряжение отпирает в отрицательный полупериод мультивибратор, на выходе которого (в цепи коллектора Т3) образуется отрицательный импульс с длительностью, определяемой цепочкой С3—С5R9 и амплитудой, ограничиваемой кремниевым стабилитроном Д3. Эти импульсы, следующие с частотой измеряемого сигнала, заряжают один из конденсаторов С8— C11. Разрядный ток указанных конденсаторов протекает через индикатор прибора. Таким образом, показания индикатора пропорциональны частоте следования импульсов и величине емкости одного из конденсаторов С8— С11. Переключатель П1 позволяет менять диапазоны измерения частоты (0—3, 0—10, 0—30 и 0—100 гц соответственно) и в пятом положении включает калибровку частоты (50 гц от отдельной обмотки трансформатора), которая дает возможность калибровать показания индикатора потенциометром R12. Потенциометр R6 служит для установки порога срабатывания ждущего мультивибратора, что необходимо при наличии паразитных сигналов с амплитудой меньше измеряемого сигнала.

Конструктивно датчик и сам прибор выполнены следующим образом. Пластинка германия, размерами 8Х X 6X0,3 мм, помещена в медную трубку с наружным диаметром 6 мм, заполненную компаундом. Эта трубка является как защитным чехлом, так и несущей конструкцией, так как она прикрепляется к штативу. С помощью четырехжильного кабеля датчик электрически соединяется с измерительным прибором. Магнит имеет форму кольца с магнитными полюсами, расположенными по диаметру внутри кольца. Кольцо наружным диаметром 35 мм изготовлено из стали. Магнитные полюса трапецеидальной формы вырезаны из любого магнита. С помощью соответствующей цанги, выточенной из латуни, магнит закрепляется на конце вращающегося вала.
Собственно измеритель частоты с источником питания датчика смонтированы в отдельном блоке, размерами 170X200X240 мм. На лицевой панели находятся индикатор А, потенциометр уровня R6, переключатель диапазонов П1 включатель сети Вк1, индикаторная неоновая лампочка Л1 и штепсельный разъем. Силовой трансформатор Тр1 взят от радиоприемника «Рекорд», в котором перемотаны вторичные обмотки (обмотки II, III и IV имеют по 650, 400 и 5 витков соответственно, намотанных проводом ПЭВ 0,12). Следует отметить, что размеры магнита и датчика легко могут быть уменьшены в 2—3 раза. Также и блок измерителя может быть значительно уменьшен, если использовать малогабаритные детали и специальный силовой трансформатор.





