СДВОЕННЫЙ БЛОК КОНДЕНСАТОРОВ ПЕРЕМЕННОЙ ЕМКОСТИ
В. Джемелла, Радио №5/1964, ст.39
Плоский сдвоенный блок конденсаторов переменной емкости на 10—410 пф для каждой секции не требует для его изготовления дефицитных материалов, мал по габаритам (высота 5 мм) и благодаря этому удобен для использования в карманных приемниках; блок имеет верньер, обеспечивающий точную настройку на радиостанции.

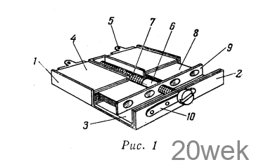
Внешний вид конденсатора приведен на рис. 1, а размеры его отдельных деталей — на рис. 2.

Основание конденсатора (деталь 1) выполнено из листовой мягкой стали толщиной 0,5 мм. Заготовка изогнута и пропаяна так, как показано на рис. 3, а. Для упрочнения основания к передней стойке (рис. 3, а) припаивается пластинка (деталь 2), изготовляемая из того же материала, что и основание.

Изоляционные прокладки (детали 3 и 4) вырезают из гетинакса толщиной 0,5 мм (можно использовать прокладку от селенового выпрямителя АВС-80 или АВС-120). К прокладкам (деталь 3) приклепывают алюминиевыми заклепками, предварительно смазанные клеем БФ-2, опорные стойки (деталь 5, рис. 3, б). Изоляционные прокладки наклеивают клеем БФ-2 на основание блока (деталь 1) и на каждую прокладку (рис. 3, в, деталь 4).
Гайку подвижной системы (деталь 6) изготавливают из латунной трубки подходящих размеров или путем обжима винта с резьбой М2,6 полоской меди толщиной 0,8—1 мм и затем припаивают к, ползуну (деталь 9). В качестве червяка (деталь 7) используется болт с метрической резьбой 2,6 мм.
Пластины секций конденсатора (деталь 8) вырезают лезвием безопасной бритвы из латуни или бронзы толщиной 0,05 мм. Для того чтобы не было заусенцев, вырезать пластины необходимо на гладком, твердом основании. Если все же на краях пластин заусенцы будут, их можно удалить мелкой наждачной бумагой.
Изоляционные прокладки (деталь 12) нарезают из слюды толщиной. 0,05 мм, а прокладки (деталь 13) — из плотной бумаги толщиной 0,15 мм.
Сборка секций конденсаторов не составляет большого труда. Сначала набирают пакет пластин неподвижной секции, состоящей из шести пластин (деталь 8) и семи бумажных прокладок (деталь 13). Пакет выравнивают, зажимают плоскогубцами или тисками и с торца, где выступают пластины, пропаивают (рис. 4, а). Таких секций заготавливают две штуки. Затем бумажные прокладки (деталь 13) удаляют. Аналогично собирают две подвижные секции конденсатора, состоящие из пяти пластин.

В неподвижные секции конденсатора между всеми пластинами вставляют по две слюдяные пластинки (деталь 12) с проложенной между ними бумагой толщиной 0,05 мм. Перед укладкой каждой пары слюдяных пластинок последние с наружной стороны слегка (в центре) смазываются клеем БФ-2. Набранный пакет неподвижных пластин со слюдой выравнивают, зажимают и хорошо просушивают. После сушки бумажные прокладки удаляются.
Пластины подвижных секций вводятся между пластинками слюды неподвижных
секций. Чтобы эту операцию облегчить, предварительно между пластинками слюды нужно ввести полоски бумаги (5×20 мм) толщиной 0,15 мм. При этом пластины несколько разойдутся веером и между ними будет легко вставить пластины подвижной секции. Сборку конденсатора производят в следующем порядке. К основанию (деталь 1) алюминиевой заклепкой приклепывают «земляной» контакт (деталь 10, рис. 1). Устанавливают винт (деталь 7) с ползуном (деталь 9) и гайкой (деталь 6). На торец винта надевают две шайбы (деталь 11). Прижав головку винта к «земляному» контакту (рис. 4, в), конец винта припаивают к верхней шайбе (деталь 11). После этого винт слегка смазывают техническим вазелином.
Секции конденсатора в полностью введенном состоянии укладываются на свои места. При вращении винта (деталь 7) ползун (деталь 9) прижимается к подвижным секциям конденсатора. Убедившись в правильной укладке секций, их следует осторожно, через отверстия в ползуне, припаять к нему и к опорным стойкам (деталь 5).
Для создания постоянного усилия сжатия секций на них накладывают по одной пластинке (деталь 4, рис. 1) и по краям смазывают клеем БФ-2.
Для вращения блока на головку винта (деталь 7) на клею насаживают зубчатое колесо из пластмассы диаметром 8—10 мм, которое может выступать из футляра приемника целиком или только торцом.
Емкость секций блока при желании может быть изменена как за счет увеличения или уменьшения числа пластин, так и изменения их размеров. При использовании более тонкого ведущего винта толщину блока можно уменьшить до 3 мм. При сохранении емкости секций 10—410 пф и толщины конденсатора 5 мм, изменив размеры пластин секций и увеличив их число, можно значительно уменьшить габариты конденсатора по плоскости.





