ПТК НА 2—3 КАНАЛА
С. КРАШЕНИННИКОВ, Радио №3/1964, ст.30
Установить унифицированный переключатель телевизионных каналов (ПТК) в любительском телевизоре не всегда доступно. Его можно заменить простым переключателем на два-три телевизионных канала, который легко может быть построен радиолюбителем.
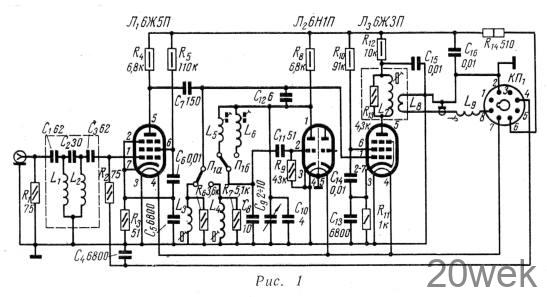
Схема. Принципиальная схема переключателя на два телевизионных канала приведена на рис. 1. Для упрощения конструкции переключатель имеет апериодически»!! вход. Вместо входного ВЧ контура в нем применен фильтр высоких частот (C1, С2, Сз, L1, L2), ослабляющий частоты ниже 46 Мгц, на которых наблюдаются наиболее интенсивные помехи.

Усилитель ВЧ собран на лампе 6Ж5П (Л1) по схеме с параллельным питанием. Его анодной нагрузкой является контур, состоящий из катушки L3 или L4, внутриламповых и монтажных емкостей. Настройка этого контура на нужную частоту осуществляется изменением индуктивности катушки при помощи латунного сердечника. Напряжение с усилителя ВЧ через разделительный конденсатор С7 поступает на сетку преобразовательной лампы 6ЖЗП (Лз), в анодную цепь которой включен фильтр промежуточной частоты. Первичная обмотка фильтра (L7) настроена на частоту 27,75 Мгц. Эта обмотка, а также катушка связи L8 намотаны на каркасе, укрепленном на шасси переключателя. Вторичная обмотка фильтра (L9) вынесена в колодку, посредством которой переключатель соединяется с телевизором и настроена на частоту 34,25 Мгц.
В гетеродинном каскаде с емкостной обратной связью используют один триод лампы 6Н1П (Л2). Контурные катушки гетеродина (L5L6) при налаживании переключателя настраиваются карбонильными сердечниками. Подстройка гетеродина во время приема телепередач производится конденсатором переменной емкости С9. Цепь управляющей сетки лампы Л1 усилителя ВЧ выведена на ножку 4 соединительной колодки так, как это сделано в унифицированном ПТК. Это дает возможность регулировать контрастность путем подачи изменяющегося отрицательного напряжения смещения на лампу Л1 Остальные цепи питания переключателя также присоединены к тем же ножкам соединительной колодки, как в унифицированном ПТК. Благодаря этому переключатель можно присоединить к любому телевизору.
Конструкция и детали. Переключатель собран на дюралюминиевом шасси толщиной 1,5—2 мм размерами 145x75x45 мм. Внешний вид переключателя показан на рис. 2. В нем применены следующие самодельные детали: контурные катушки, фильтр промежуточной частоты и соединительная колодка. Контурные катушки L3, L4, L5 и L6 наматываются на каркасах диаметром 7,5 мм (от контуров ПЧ телевизора «Рубин») и не имеют экранов. Данные этих катушек для первых пяти телевизионных каналов приведены в таблице. Для изготовления фильтра ПЧ используется экран и каркас диаметром 9 мм от контура ПЧ телевизора «Старт» любого выпуска. Катушка L7 фильтра содержит 23 витка, а катушка связи L8 — 3 витка провода ПЭЛ 0,31. Намотка однослойная, виток к витку. Расстояние между L7 и L8 1 мм. Входной фильтр переключателя — от телевизора «Экран», но может быть изготовлен и самостоятельно. Его данные следующие: катушки L1 и L2 намотаны на одном каркасе диаметром 12 мм проводом ПЭЛ 0,65, и имеют по 2,5 витка. Расстояние между L1 и L2 35 мм .Переключатель каналов (П1) обычный, одноплатный, на 3—5 положений. В качестве конденсатора переменной емкости, подстройки гетеродина (С9) можно использовать подстроечный конденсатор с воздушным диэлектриком.
Соединительную колодку для подключения переключателя к телевизору изготовляют из цоколя стеклянной лампы октальной серии. В углубление ключа цоколя вклеивают клеем БФ-2 деревянный стержень. На выступающей части стержня укрепляют катушку L9, которая наматывается на таком же каркасе, как катушки L7, L8 и имеет 16 витков провода ПЭЛ 0,31. Настройка катушек L7 и L9 и производится латунными сердечниками. Катушка связи L8 соединяется с катушкой L9 коаксиальным кабелем РК-19 длиной 150—250 мм.
Налаживание. Правильно собранный ПТК сразу начинает работать. Настройка его ведется при помощи заведомо исправного промышленного телевизора по телевизионной испытательной таблице в следующем порядке. Сначала настраивают гетеродин, вращая сердечник катушки L5 (L6) до получения изображения на экране телевизора. При этом ротор конденсатора С9 должен находиться в среднем положении. Затем настраивают катушки L3 и L4 усилителя ВЧ и последним фильтр ПЧ, при чем настройку его начинают с катушки L7. Закончив настройку фильтра ПЧ, снова переходят к усилителю ВЧ и гетеродину. При настройке добиваются наиболее четкого изображения, а также громкого и неискаженного звукового сопровождения.
В описанном переключателе можно без каких-либо изменений его схемы и данных деталей применить лампы 6Ж4 (Л1, Л3) и 6Н8С (Л2).





