МАЛОГАБАРИТНЫЕ ЭЛЕКТРОДИНАМИЧЕСКИЕ ГРОМКОГОВОРИТЕЛИ
Радио №3/1964, ст.57
Малогабаритные громкоговорители, предназначенные для транзисторных приемников, выпускаются с круглым диффузором на номинальную мощность от 0,1 до 0,25 ва. Их основные электроакустические параметры и конструктивные данные приведены в таблице 1. Громкоговорители имеют магнитную систему с керновым магнитом из высококачественного магнитного сплава типа ЮНДК-24 (АНКО-4). Такая магнитная система имеет минимальное поле рассеяния,, а потому может располагаться вблизи внутренней ферритовой антенны, не уменьшая ее эффективности. Исключение составляет громкоговоритель типа 0,25ГД-2, имеющий кольцевой магнит из ферроксдюра типа ЗБА (МБА- 2), который необходимо экранировать стальным или пермаллоевым экраном, толщиной не менее 0,5 мм в том случае, если расстояние между магнитной системой и ферритовой антенной меньше 3—4 см.

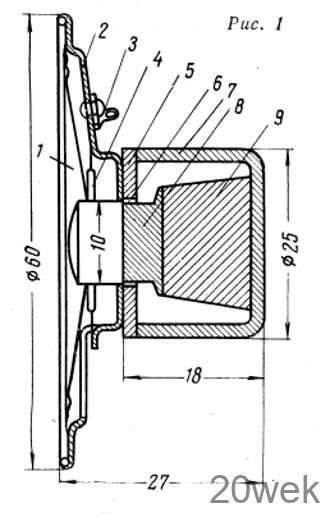
Первые четыре типа громкоговорителей, указанных в таблице 1, имеют конструктивно совершенно одинаковую закрытую магнитную систему со штампованным цилиндрическим магнитопроводом—стаканом, ко дну которого укрепляется магнит в форме усеченного конуса. Конструкция и размеры одного из таких громкоговорителей типа 0,1ГД- 6 показаны в разрезе на рис. 1, где 1 — диффузор, 2 — диффузородержатель, 3 — выводные лепестки (контакты), 4 — центрирующая шайба, 5 — передний флянец магнитопровода, 6 — звуковая катушка 7— магнитопровод (стакан), 8 — полюсной наконечник магнита, 9 — магнит. Аналогичны конструкции и внешний вид других громкоговорителей мощностью до 0,2 ва (0,1ГД-3, 0,15ГД-1 и 0,2ГД-1), незначительно различающихся главным образом в размерах. Громкоговорители мощностью 0,25 ва имеют магнитные системы совершенно иной конструкции. Громкоговоритель 0,25ГД-1 собран на керновом магните с магнитопроводом в виде скобы, а громкоговоритель 0,25ГД-2 имеет кольцевой магнит. Внешний вид громкоговорителей на мощность до 0,2 ва показан на рис. 2, а, на рис. 2, б — громкоговоритель типа 0,25ГД-1.

Отличительной особенностью всех малогабаритных громкоговорителей является достаточно высокая частота собственного резонанса подвижной системы, зависящая в первую очередь от размера диффузора. Как видно из таблицы 1, номинальная резонансная частота находится в пределах 300—500 гц, фактическое же ее значение в отдельных экземплярах громкоговорителей, особенно типов 0,15ГД-1 и 0,2ГД-1 иногда превышает 600 гц. Это приводит к ухудшению воспроизведения низших частот, так как отдача громкоговорителя резко снижается в области лежащей ниже частоты резонанса.

Поэтому, несмотря на то, что от малогабаритного громкоговорителя нельзя требовать хорошего воспроизведения самых низших частот, все же необходимо обеспечить рабочий диапазон от 300 гц. Для этого при установленном допуске на неравномерность частотной характеристики 15—18 дб частота собственного резонанса громкоговорителя не должна быть выше 400— 450 гц. Добиваться значительного понижения частоты резонанса не следует из-за уменьшения среднего уровня громкости. По этой причине для таких громкоговорителей низший предел резонансной частоты не должен быть ниже 250 гц. В подтверждение изложенных соображений на рис. 3 приведены частотноамплитудные характеристики двух одинаковых громкоговорителей с диффузором диаметром 60 мм, имеющих разные частоты собственного резонанса подвижной системы. Как видно из рис. 3, нижняя характеристика, которая фиксирует резонансную частоту порядка 190 гц, показывает худшую отдачу громкоговорителя как в области низших частот, так и меньшую среднюю отдачу по сравнению с громкоговорителем, имеющим резонанс на частоте 300 гц (верхняя характеристика на рис. 3). Указанное на этих характеристиках стандартное звуковое давление (при 0,1 ва приведенное к расстоянию 1 м) измерено на частоте 1500 гц и отмечено точкой с указанием значения в ньютонах на квадратный метр (1 н/м2= 10 бар). Это позволяет с учетом масштаба (50 дб) рассчитать среднее звуковое давление в рабочем диапазоне частот.

В области верхних частот (выше 2000—2500 гц) наблюдается колебание отдачи, однако чаще всего отклонения не превышают установленного допуска (18 дб) вплоть до 8—10 кгц. Выше этих частот отдача начинает резко снижаться. Поэтому нормируемый верхний предел рабочего диапазона — 3000 гц в действительности бывает значительно выше. На рис. 4 приводятся частотно-амплитудные характеристики малогабаритных громкоговорителей, электроакустические данные которых имеются в таблице 1. Следует отметить, что это характеристики случайных экземпляров громкоговорителей, которые во время измерений устанавливались в плоском щите (акустическом экране) размером 22X16 см, эквивалентном небольшому футляру от карманного приемника. Измерения проводились в звукомерной камере. На характеристиках явно видны частоты собственных резонансов, определяемых по первому подъему (пику) в области низших частот. Так на рис. 4,а видно, что громкоговоритель 0,25ГД-1 имеет частоту резонанса порядка 450 гц, а 0,1ГД-6—350 гц; соответственно на рис. 4, б громкоговоритель 0,2ГД-1—400 гц, а 0,15ГД-1 — 650 гц. Разброс характеристик в других экземплярах однотипных громкоговорителей в области низших частот зависит от частоты собственного резонанса так же, как это видно на рис. 4 для разных типов громкоговорителей, которые специально были подобраны с разными резонансными частотами.

В области верхних частот вид характеристики зависит от свойств диффузора и центрирующей шайбы. Для громкоговорителей 0Д5ГД-1 и 0,2ГД-1, имеющих совершенно одинаковую конструкцию и почти все размеры, характерен значительный провал на частотно-амплитудной характеристики в области 2,5—3 кгц (см. рис. 4,б), достигающий в некоторых экземплярах 20—22 дб относительно точки, где наблюдается наибольшая отдача. Описанные типы громкоговорителей имеют звуковую катушку с сопротивлением от 6 до 10 ом, исключение составляют некоторые образцы громкоговорителей 0,25ГД-2 сопротивление звуковой катушки, у которых равно 25 ом. Звуковые катушки в 6—10 ом могут подключаться в обычные выходные каскады транзисторных приемников только через выходной согласующий трансформатор. Последний должен быть небольшого размера, что обычно приводит к дополнительному снижению отдачи, особенно на низших частотах. К громкоговорителям 0,15ГД-1 выпускаются трансформаторы, сердечник которых набран из пластин Ш—4 Х7 мм. Первичная обмотка их содержит 900 витков провода ПЭЛ 0,1 со средним выводом (2 Х450), а вторичная из 100 витков провода ПЭЛ 0,2. Такой трансформатор может применяться как в однотактных выходных каскадах на транзисторах П13, П14 и П16 при полностью включенной первичной обмотке, так и в маломощных двухтактных каскадах на тех же транзисторах. Однако трансформаторы лучше рассчитывать специально для каждой выбранной схемы или изготовлять согласно соответствующему описанию.





