ИСПЫТАТЕЛЬ РАДИОЛАМП
В. Македон, Радио №5/1964, ст.51
При ремонте и налаживании радиоаппаратуры часто требуется проверить исправность радиоламп. В этом случае можно воспользоваться описанным ниже испытателем ламп. Прибор предназначен для проверки обрыва электродов, замыкания между ними, а также тока эмиссии семи-, восьми- и дев яти штырь новых ламп шестивольтовой серии.
Поскольку электроды различных радиоламп соединены с различными штырьками (от первого до седьмого, восьмого, девятого), а комбинации электродов внутри лампы могут быть самыми разнообразными, то, чтобы обойтись тремя ламповыми панелями (для 7,8 и 9-штырьковых ламп), в каждом конкретном случае необходима соответствующая коммутация штырьков. Для этой цели применен специальный переключатель
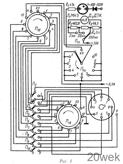
Схема прибора приведена на рис. 1. Если требуется проверить, нет ли короткого замыкания между электродами лампы, переключатель П1 ставят в положение КЗ. При этом левые контакты тумблеров П2—/71() замкнуты между собой переключателем П1б, на них подается напряжение + 120 в. Правые контакты замкнуты между собой переключателем П1в и соединены с шасси.

Если перевести П2—П10 в правое положение, то все электроды радиолампы окажутся замкнутыми на шасси. Если теперь вернуть одни из них в левое положение, то на соответствующий электрод будет подано напряжение + 120 в. В том случае, когда он замкнут на какой- либо другой электрод, по цепи + 120 в, замкнутые электроды, шасси потечет ток. При этом загорается индикаторная лампа МН-5. Перед испытанием радиоламп на «обрыв электродов» и измерением тока эмиссии переключатель П1 устанавливают в одно из 9 положений, при этом на соответствующий электрод лампы подается напряжение накала. Положение тумблера (одного из П2—П10), связанного с этим электродом, безразлично. Например, напряжение накала подается на четвертый штырек радиолампы. Выпрямленное напряжение +20 в по цепи шунт, миллиамперметр, переключатель П2а подается на контакт 10 переключателя П1б. Кольцевой контакт переключателя П1б замыкает между собой все неподвижные контакты, кроме 4. Таким образом ко всем левым контактам тумблеров П2—П10) (кроме П5) приложено напряжение +20 в, все их правые контакты замкнуты па шасси.
Переводя поочередно П2—П10 (кроме П5) в левое положение, по отклонению стрелки прибора можно судить об отсутствии обрыва того или иного электрода.
Чтобы измерить ток эмиссии, в левое положение переводят все тумблеры П2—П10, кроме тех, которые соединены с катодом и нитью накала.
Индикатором в испытателе радиоламп служит миллиамперметр, ток полного отклонения которого 1,15мА, а сопротивление рамки 396,5 ома. Шкала миллиамперметра разделена на 200 делений.
Для перехода с одного предела измерений на другой (а их три: 2, 20, 200 ма) служит универсальный шунт.
Следует учесть, что не всегда ток полного отклонения соответствует паспортным данным, и лучше всего проверить прибор. Сопротивления универсального шунта можно рассчитать по формулам:

Конструкция прибора. Прибор смонтирован в металлическом ящике размерами 202 X 140 х 70 мм. Все детали смонтированы на обратной стороне передней панели.

В приборе (как уже указывалось) применен специальный переключатель П1. Он состоит из двух комбинированных плат (П1б, П1в) и одной обычной на 10 положений.

Конструкция колец для комбинированных переключателей показана на рис. 2. Надо изготовить четыре кольца и в двух из них сделать вырезы. Переключатель в собранном виде показан на рис. 3.

К верхней части (где находятся все десять лепестков) приклепывают кольцо с разрезом а, а в месте разреза — контакт в. К нижней части платы приклепывают кольцо (без разреза). Чтобы кольца не соприкасались друг с другом заклепками, их поворачивают вокруг вертикальной оси на 60° относительно друг друга. Нижнее кольцо соединено с лепестком 11 и контактом в.
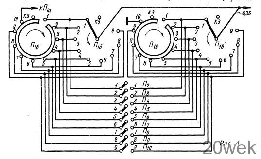
Если радиолюбителю не под силу переделка плат переключателя, то комбинированные платы можно упростить: потребуется только два кольца. Однако в этом случае число плат увеличивается до 5. Схема прибора с пятиплатным переключателем приведена на рис. 4.

В качестве переключателей П1—П10 использованы тумблеры ТВ2—1. Шунтовые сопротивления прибора смонтированы на текстолитовой панели размерами 75 X 65 мм, которая прикреплена к корпусу миллиамперметра.
В качестве переключателя П11 можно использовать переключатель на 3 положения. Можно применить любой силовой трансформатор, имеющий вторичные обмотки, рассчитанные на 6,3 в, 20 в, 100—120 в, причем напряжение 20 в под нагрузкой должно быть достаточно стабильным, иначе нельзя будет пользоваться таблицей минимально допустимых токов эмиссии.
Работа с прибором. Перед тем как вставить в панель испытуемую радиолампу, тумблеры П2—П10 переводят в правое положение (все электроды на шасси). Переключатель П1 ставят в положение КЗ. Затем включают прибор и вставляют радиолампу. Если радиолампа имеет на цоколе вывод, то его соединяют проводом со специальным гнездом, которое в свою очередь соединено с П10. Переводя поочередно П2—П10 из правого положения в левое и обратно, наблюдают за индикаторной лампой Л1. Если лампа загорится, значит через лампу проходит ток. Это может быть в том случае, когда какие-либо электроды имеют по два вывода или же окажется подсоединенной нить накала. Если же данный электрод не имеет второго вывода, а лампа Л1 загорается, значит этот электрод замкнут с другим. Чтобы отыскать другой электрод, переключатели, соединенные с остальными электродами, поочередно переводят из правого положения в левое и обратно. При переводе какого-либо переключателя в левое положение лампа погаснет. Электрод, связанный с этим переключателем, замкнут с первым, уже известным электродом. При отыскании обрыва электродов предварительно подают напряжение на нить накала. Переводя поочередноП22-П10 из правого положения в левое, следят за отклонением стрелки миллиамперметра. При проверке обрыва, анода и экранирующей сетки переключатель П11 может находиться в положениях 2 ма или 20 ма, зато при проверке обрыва управляющей сетки его обязательно надо перевести в положение 200 ма во избежании выхода из строя миллиамперметра. Если стрелка прибора отклоняется во всех описанных выше случаях, то обрывов нет. После этого измеряют ток эмиссии. Переводят переключатели, связанные с анодом и сетками, в левое положение и отсчитывают величину тока эмиссии по шкале миллиамперметра. Если ток эмиссии окажется выше минимально допустимого для данного типа ламп лампа доброкачественная.

Таблица минимально допустимых значений тока эмиссии составлена автором в результате сравнения нескольких десятков экземпляров ламп каждой марки. Автор брал 50 экземпляров ламп каждого наименования, из них 20 совершенно новых, 20 бывших в эксплуатации, но работоспособных и 10 негодных с весьма малым током эмиссии. Предварительно проверив их прибором МИЛУ, он находил средние значения тока эмиссии 40 работоспособных ламп и максимальные — 10 отработанных, определял среднее арифметическое этих двух величин. Это и есть минимально допустимая величина тока эмиссии





