ИСКАТЕЛИ АРМАТУРЫ
К. КАЧУРИН Радио №/1964, ст.34
Строителям нередко бывает необходимо определять расположение арматуры в железобетонных конструкциях.
Особые трудности приходится испытывать лицам, занимающимся испытанием готовых сооружений — заводских цехов, перекрытий зданий, мостов и т. д. В этих случаях, в особенности, если сооружение неоднократно перестраивалось, восстанавливалось и не имеет подробной технической документации, исследователи вынуждены искать арматурные стержни, снимая защитный слой. Этого можно избежать, используя несложный электронный прибор, описание которого приводится ниже.
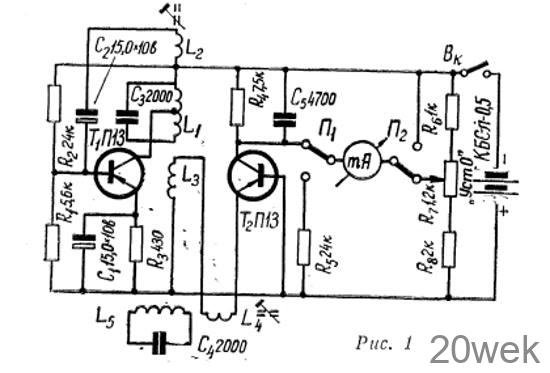
Искатель арматуры ИА-4 — предназначен для определения расположения сетки арматуры, без вскрытия защитного слоя бетона. Прибор не требует каких-либо дефицитных или дорогих деталей и вполне может быть изготовлен для нужд своего предприятия радиолюбителем средней квалификации. Принципиальная схема прибора изображена на рис. 1. Генератор собран на транзисторе T1. Колебательный контур L1C3 включен в цепь коллектора. По цепи обратной связи (L2С2), колебания попадают из коллекторной цепи на базу транзистора. Колебания с контура генератора, через катушки связи L3L4, поступают на эмиттер триодного детектора, выполненного на транзистореT2. В цепи связи имеется второй колебательный контур L5C4, находящийся в выносной головке, связанной с корпусом прибора мягким двухжильным проводом. Колебательный контур в выносной головке L5C4 настроен в резонанс с контуром генератора L1C3. (В действительности, контуры настроены не совсем точно в резонанс, объяснение этого дается при описании настройки прибора). При приближении поисковой головки к стальному стержню арматуры, контур L5C4 расстраивается относительно частоты генератора, его резонансное сопротивление падает, и ток в цепи связи L3L4 растет. Растет и ток в нагрузке детектора R4. Возрастание тока через сопротивление R4 приводит к разбалансу моста, плечами которого являются сопротивления R6R8R4 и транзистор Т2. В диагонали моста появляется ток, регистрируемый микроамперметром мА. Сопротивление R7 служит для установки нуля, а тумблер — переключатель П1П2 дает возможность подключать микроамперметр через сопротивление R5 к цепи питания, что необходимо для периодического контроля напряжения батареи.

Искатель арматуры ИА-4 собран в алюминиевом кожухе размером 198X 126X57 мм. На лицевой панели расположен микроамперметр М-494 на 200 мка, тумблер включения, тумблер — переключатель для контроля напряжения батареи, рукоятка сопротивления R7 для установки нуля и гнезда штепсельного разъема, для подключения поисковой головки. К лицевой панели, внутри прибора, укреплена плата с монтажом. Плата изготовлена из гетннакса толщиной 2 мм, размер платы 110 X 80 мм. На нижней крышке установлено гнездо для батареи питания — типа КБС-Л-0,5. Контакты в гнезде для батареи расположены таким образом, что при замене батареи исключается неправильная полярность включения. Катушка контура генератора L1, катушка обратной связи L2 и катушка L3, намотаны на стандартном трехсекционном каркасе и помещены в карбонильный сердечник СБ-ЗА. Все катушки намотаны проводом ПЭЛ-0,12, катушка L1 имеет 90 + 710 витков; меньшая часть катушки включается между коллектором транзистора Т1 и минусом батареи. Катушка L2 содержит 5 витков, катушка L3—35 витков. Катушка контура в выносной головке намотана на ферритовом полукольце DHap=63м dвн=51мм h =27 мм: Катушка L5 имеет 480 витков провода ПЭЛ-0.20, катушка разделена на две равные части, намотанные по бокам катушки L5, число витков ее — 80, провод ПЭЛ-0,15. Резонансный контур в выносной головке может быть намотан на стандартном ферритовом сердечнике от магнитной антенны, диаметром 8 мм, длиной 100-120 мм, проницаемость материала m-1000. В этом случае число витков катушек L5 и L4 необходимо подобрать экспериментально. Замена ферритового полукольца цилиндрическим сердечником ухудшает направленность магнитного потока, в связи с чем чувствительность прибора несколько снижается. Корпус выносной головки изготовлен из оргстекла или какого-либо иного неметаллического материала.
В приборе могут быть использованы любые низкочастотные маломощные транзисторы с небольшим коэффициентом усиления.
Налаживание прибора нужно начинать с запуска генератора. Если колебания в генераторе не возникают, следует поменять местами концы катушки L2. Коллекторный ток транзистора Т1 при работе генератора должен быть равен 1 -2 ма. Оптимальный ток коллектора устанавливается подбором сопротивления R2. Частота колебаний генератора некритична и может находиться в пределах 15—20 кгц. Затем изменением индуктивности L1 и подбором емкостей С3С4 добиваются совпадения резонансных частот генератора и контура поисковой головки. При точной настройке контура L5C4 в резонанс с частотой генератора, ток коллектора транзистора T2 резко уменьшается, и становится равным 150—200 мка. Наилучшей настройкой, обеспечивающей максимальную чувствительность прибора, будет такая, когда частота генератора смещена с вершины, и находится на боковой ветви резонансной кривой контура L5С4. Для этого после достижения точной настройки контуров частоту генератора несколько повышают, вывинчивая подстроечный сердечник катушки L1, и наблюдая при этом за током транзистора T2. У правильно настроенного прибора коллекторный ток транзистора T2 должен увеличиться до 200-300 мка, причем он должен резко возрастать при поднесении к контуру L5С4 какого- либо стального или железного предмета. Если у настроенного искателя арматуры стрелка микроамперметра не устанавливается на нуль, следует несколько изменить величину сопротивлений R6 или R8. Налаживание заканчивается подбором сопротивления R5, оно должно быть такой величины, чтобы стрелка микроамперметра, при напряжении питания, равном 4,5 в, устанавливалась на последнее деление шкалы прибора. На шкале прибора участок, соответствующий рабочему напряжению питания от 3,9 до 4,5 в, закрашивается красной краской. Хорошо настроенный искатель должен обнаруживать стальной арматурный стержень диаметром 15—18 мм с расстояния 4— 5 см.
Перед началом работы производится включение искателя тумблером Вк. После включения необходимо проверить напряжение батареи, которая считается годной для работы в том случае, если стрелка прибора устанавливается в пределах красного участка шкалы. Если напряжение батареи недостаточно, следует выключить прибор и заменить батарею. После проверки батареи устанавливается на нуль стрелка прибора рукояткой «Уст. О», при этом нужно обратить внимание на то, чтобы вблизи от выносной головки не находились металлические предметы. После установки на нуль можно начинать работу с прибором.
Расположение арматуры определяется по максимальному отклонению стрелки микроамперметра. Максимальное отклонение получается в том случае, когда головка находится над стержнем, и полукольцевой сердечник головки ориентирован точно вдоль стержня арматуры. Таким образом, прибор позволяет не только находить положение арматуры, но и по повороту головки определять направление стержней. В процессе обнаружения план сетки арматуры фиксируется на поверхности конструкции мелом или какой-либо краской. Величина отклонения стрелки микроамперметра не зависит от качества бетона и благодаря выбору достаточно высокой рабочей частоты в малой степени зависит от диаметра, марки стали и профиля арматуры. Прибор в основном реагирует на глубину заложения арматуры, что дает возможность оператору не только определять расположение арматуры, но и оценивать приближенно толщину защитного слоя бетона.





