ГРОМКОГОВОРЯЩЕЕ ПЕРЕГОВОРНОЕ УСТРОЙСТВО
В. Смирнов, Радио №7/1964, ст.33
Громкоговорящая связь применяется для осуществления диспетчерских переговоров на небольших расстояниях (до 300—500 м). Она может быть одностороннего (однонаправленная связь) и двухстороннего действия.
В статье приводится описание симплексного переговорного устройства, которое предназначено для двухсторонней связи между двумя абонентами на расстоянии до 500 м. Работает переговорное устройство следующим образом (см. блок-схему рис. 1). С, выхода передающих усилителей, которые находятся у каждого абонента, напряжение звуковой частоты (30 в) поступает в линию и затем на громкоговоритель одного из абонентов. Для устранения акустической обратной связи в схеме предусмотрена автоматическая блокировка того усилителя, который в данный момент в передаче не участвует. Предположим, что абонент 2 произнес перед микрофоном фразу. С микрофона напряжение звуковой частоты через усилитель 2 и линию поступит на громкоговоритель абонента 1 (Гр1). Это же напряжение после выпрямления запирает усилитель 1, благодаря чему сигнал от микрофона Л2 через микрофон M, и усилитель 1 не может попасть на громкоговоритель Гр-.’., чем и исключена возможность возникновения акустической обратной связи.

Постоянная времени выпрямителя выбрана такой, что спустя примерно 0,3—0,5 сек после окончания фразы абонентом 2 усилитель 1 отпивается и абонент 1 может вести передачу. Практически абонент обычно произносит ответную фразу через время гораздо большее, чем 0,2—0,5 сек, и поэтому, как показала длительная эксплуатация этой системы, абоненты при работе совершенно не замечают, что их усилители запираются.
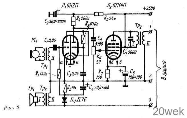
Важным достоинством такого переговорного устройства является то, что микрофон и громкоговоритель у абонента могут быть расположены рядом, например, на одном пульте. Принципиальная схема абонентского устройства (которые совершенно идентичны) показана на рис. 2. Усилитель абонентского устройства имеет два каскада. Первый каскад выполнен по каскодной схеме на двойном триоде 6Н2П, а оконечный каскад — по обычной схеме на лампе 6П14П.

При прослушивании запирание усилителя осуществляется подачей на управляющую сетку лампы первого каскада отрицательного напряжения, получаемого в результате выпрямления звукового сигнала, поступающего с линии. Выпрямление осуществляется диодом Д1, к сопротивлению нагрузки которого R2 подключен нижний по схеме вывод сопротивления утечки R1. Заряд конденсатора С4 происходит через диод Д1 практически мгновенно, а время разряда определяется величиной сопротивления Д2.
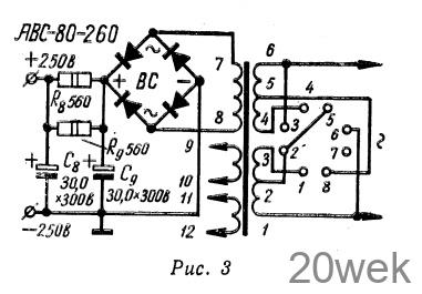
Питание усилителя производится от мостикового выпрямителя на селеновом столбике АВС—80 — 270 (рис. 3). В качестве силового применен трансформатор от радиоприемника «Маяк». Можно использовать силовой трансформатор от любого другого радиоприемника или использовать самодельный, который имеет следующие данные. Сечение сердечника 7 -10 см2, повышающая обмотка содержит 1400 витков провода ПЭЛ 0,21, накальная обмотка — 38 витков провода ПЭЛ 0,8, сетевая— 1150 витков с отводом от 650 витка (для сети 127 в).

Выходной трансформатор Тр2 выполнен на сердечнике из пластин УШ-16, толщина набора пластин 16—20 мм. Первичная обмотка I имеет 1000 витков провода ПЭЛ 0,18, а вторичная обмотка II — 250 витков провода ПЭЛ 0,41. Микрофонный трансформатор Tp1 собран на сердечнике из пластин Ш-9, толщина набора пластин 10 мм. Обмотка I имеет 200 витков провода ПЭЛ 0,1, а обмотка II имеет 5000 витков провода ПЭЛ 0,1.
В переговорном устройстве используются трансляционные громкоговорители на напряжение 30 в. Можно применить и громкоговорители на напряжение 15 в, в этом случае число витков вторичной обмотки выходного трансформатора Тр2 следует уменьшить до 180.
Схема транзисторного усилителя для симплексного переговорного устройства по блок-схеме рис. 1 приведена на рис. 4.

Усилитель выполнен на трех транзисторах типа П13А и двух транзисторах типа П4Б. Выходная мощность усилителя 3 вт при коэффициенте нелинейных искажений не более 10%, чувствительность 2 мв. Полоса пропускания усилителя 300—5000 гц. Питание усилителя может производится как от аккумуляторов напряжением 12 в, так и от сети переменного тока через выпрямитель. Ток, потребляемый усилителем в режиме молчания, не превышает 20 ма, ток при максимальной громкости равен 750 ма
Усилитель рассчитан на работу с микрофоном типа МД-44, МД-55, МД-57, МД-ЗЗА или МЭМ-60. Усилитель имеет три каскада усиления и выходной двухтактный каскад, работающий в режиме класса В. Температурная стабилизации в предварительных каскадах осуществляется благодаря применению отрицательной обратной связи по постоянному току. В оконечном каскаде термостабилизация осуществляется с помощью полупроводникового плоскостного диода типа Д7Ж. Напряжение смещения на базы транзисторов оконечного каскада снимается с диода Д1, включенного в прямом направлении. Сопротивление диода, а следовательно и напряжение смещения, в значительной степени зависит от температуры. Например, при повышении температуры происходит увеличение коллекторных токов транзисторов Т4 и Т5. Поскольку сопротивление диода при повышении температуры уменьшается, то уменьшается и напряжение смещения, что приводит к уменьшению коллекторных токов транзисторов Т4 и Т5. Использование такой схемы подачи смещения обеспечивает устойчивую работу каскада в диапазоне температур от— —20° С до +45°С.
Запирание усилителя осуществляется в первом каскаде. Напряжение звуковой частоты, соступающее с линии, выпрямляется диодом Д2 и в положительной полярности через сопротивление R1 поступает на базу транзистора T1. Время запирания усилителя после прекращения сигнала с линии определяется постоянной времени цепочкой R2Сз и не превышает долей секунды.
Трансформатор Tp1 выполнен на сердечнике из пластин Ш-7 с 45% содержанием пермаллоя, толщина набора пластин 10 мм. Обмотка I имеет 900 витков провода ПЭЛ 0,1, обмотки II, а и 11,6 имеют по 200 витков провода ПЭЛ 0,18.
Трансформатор Тр3 выполнен на сердечнике из пластин Ш-12 с 75% содержанием пермаллоя, толщина набора пластин 15 мм. Обмотки I и II намотаны проводом ПЭЛ 0,42 и имеют по 150 витков. Обмотка III имеет 400 витков провода ПЭЛ 0,42 и рассчитана на подключение трансляционных громкоговорителей ‘ на напряжение 15 в. Налаживание работы переговорного устройства сводится только к налаживанию усилителей низкой частоты которые при исправных деталях и правильном монтаже обычно начинают работать сразу
В заключение укажем, что по предложенному принципу можно осуществить связь не только между двумя, но и большим числом абонентов. В этом случае абоненты подключаются параллельно одной трехпроводной линии. При отсутствии соответствующего коммутатора работа любого абонента будет прослушиваться в громкоговорителях всех остальных абонентов, что бывает удобно при проведении различных совещаний.





