АНТЕННЫЕ УСИЛИТЕЛИ С ЭЛЕКТРОННОЙ НАСТРОЙКОЙ
Радио №7/1965, ст. 26
Антенный усилитель, установленный непосредственно на антенне, улучшает качество приема. Однако такая установка неудобна, так как при расположении резонансного антенного усилителя на антенной мачте или на чердаке осуществить его дистанционную настройку из комнаты очень трудно. Широкополосные усилители в диапазонах до 230 Мгц применять невыгодно, так как при использовании таких усилителей очень возможно возникновение помех от перекрестной модуляции телевизионного сигнала другими передатчиками. В диапазонах выше 300 Мгц широкополосные усилители вообще неприменимы.
Электронная настройка с помощью диодов дает нам возможность дистанционно настраивать большие установки, содержащие в своем составе до пяти антенных усилителей, на входе которых установлены резонансные контуры. Схемы этих усилите- лей, предназначенных для работы в различных диапазонах частот, имеют в своей основе схему широкополосного антенного усилителя. Коэффициент усиления по мощности этого усилителя в диапазоне частот 20— 220 Мгц составляет около 16 дб. Но, как уже было сказано ранее, применение такого широкополосного усилителя нежелательно ввиду опасности возникновения в нем перекрестной модуляции. Чтобы предотвратить это, к входу усилителя подключается резонансный контур, настраиваемый на нужную частоту путем изменения емкости диода ВА121.
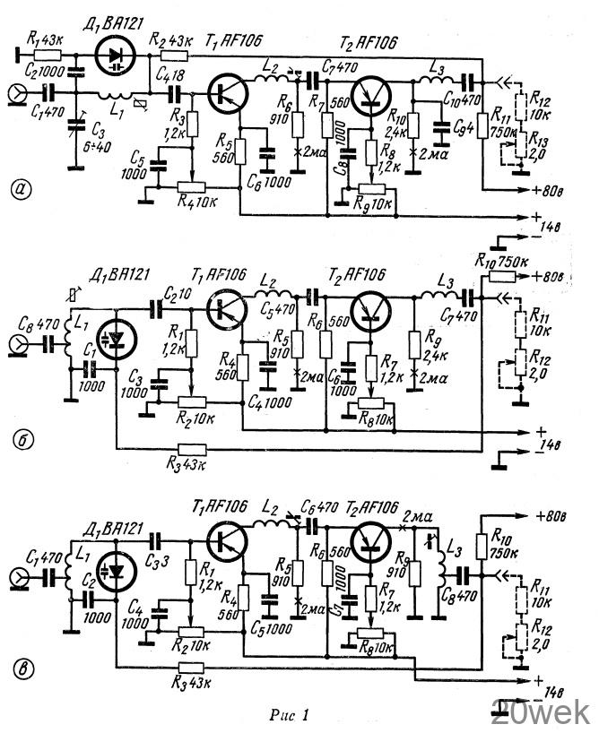
На рис. 1,а изображена схема антенного усилителя, предназначенного для работы в диапазоне 47— 68 Мгц (1 и 2 телевизионные каналы СССР. Ред.). Входной резонансный контур состоит из катушки L1 и диода ВА121 (Д1). Конденсатор С2 установлен для того, чтобы цепь питания диода Д1 постоянным током не замыкалась накоротко через катушку L1. Постоянное напряжение, которое служит для изменения емкости диода Д1, подводится к нему через два одинаковых по величине развязывающих сопротивления R1 и R2. Это напряжение снимается с делителя R11R12R13- Напряжение на диоде Д1 почти не зависит от сопротивления R12, величина которого мала по сравнению с другими сопротивлениями делителя. Это сопротивление служит в качестве развязывающего. На делитель подается напряжение 80 в от выпрямителя. Потенциометр R13 и сопротивление R12 обозначены на схеме рис. 1,а пунктиром в знак того, что эти детали не смонтированы в антенном усилителе, а находятся в комнате около телевизора и связаны с усилителем соединительными проводниками.

Путем изменения емкости подстроечного конденсатора С3 осуществляется согласование антенны с входным контуром L1Д1. Это нельзя сделать обычным способом — при помощи отвода от катушки L1, так как в этом случае сузится диапазон перестройки контура L1Д1
П-контур между транзисторами T1 и Т2 рассчитан на граничную частоту около 80 Мгц, чтобы коэффициент усиления усилителя в пределах рабочего диапазона мало менялся. Коэффициент усиления по мощности этого усилителя в диапазоне от 48 до 66 Мгц выше 20 дб. На рис. 1,6 изображена схема усилителя для диапазона частот 87— 104 Мгц (4 и 5 телевизионные каналы СССР. Ред.). Она отличается от схемы рис. 1,а только данными катушек и тем, что согласование антенны и входного контура осуществляется при помощи отвода от катушки L1. Граничная частота П-контура — порядка 120 Мгц. Коэффициент усиления по мощности данного усилителя в указанном выше диапазоне выше 20 дб.
Для работы в диапазоне 175—223 Мгц (6—12 телевизионные каналы СССР. Ред.) предназначен усилитель, схема которого изображена на рис. 1, в. Эта схема также мало отличается от предыдущих, но граничная частота П — контура между транзисторами Т1 и Т2 составляет примерно 250 Мгц. В коллекторную цепь транзистора Т2 включен широкополосный резонансный контур, который состоит из катушки L1 и выходной емкости транзистора. Этот контур шунтирован сопротивлением R9 , что бы расширить его полосу пропускания до необходимых пределов. Согласование контура с входом телевизора достигается при помощи отвода от катушки L3. Усиление по мощности, которое дает этот усилитель в диапазоне 175—230 Мгц, лежит в пределах 20 ±3 дб.

Для питания всех описанных выше усилителей применяется выпрямитель на два напряжения (рис. 2). Напряжением 14 в питаются транзисторы усилителей, а напряжение 80 в служит для осуществления электронной настройки.

На рис. 3 показано, как соединяются между собой антенный усилитель, выпрямитель, телевизор и органы электронной настройки усилителя. Проводник от точки соединения конденсатора 470 ч-1000 пф и сопротивления 10 ком подключается во всех усилителях к выходному гнезду, к которому присоединено сопротивление 750 ком. В том случае, когда ведется прием нескольких телецентров на различные антенны, к каждой из них можно подключить отдельный антенный усилитель (рис.4). Настройка всех усилителей будет производиться одним и тем же потенциометром. Этот потенциометр подключается к сопротивлению делителя 750 ком только какого- либо одного усилителя. Снимаемое с этого делителя напряжение поступает через соединительные кабели усилитель — телевизор на все остальные усилители.

Катушки усилителей наматываются на каркасах диаметром 5 мм. Их намоточные данные приводятся в таблице. Трансформатор Тр1 (рис. 2) наматывается на сердечнике сечением 1,8 см2. Обмотка I этого трансформатора содержит 5000 витков провода ПЭЛ 0,09, обмотка II — 2800 витков ПЭЛ 0,08 и обмотка III—300 витков ПЭЛ 0,18.

