ТРАССОИСКАТЕЛЬ
В. Трояновский, Радио №1/1965, ст. 43
Электрические трассоискатели находят широкое применение в различных отраслях народного хозяйства. Однако, несмотря на многолетнее совершенствование этих приборов, даже последние разработки [1, 2] имеют ряд существенных недостатков.
Одним из них является плохая избирательность приемника. Конденсатор антенного контура приемника не пропускает на вход усилителя сигналы с частотами выше резонансной. Сигналы же более низких частот, уловленных антенной, в том числе и наиболее активные наводки промышленной частоты свободно проходят на вход усилителя и усиливаются им в равной мере с полезным сигналом. По этой причине для улучшения соотношения сигнал/помеха приходится значительно увеличивать мощность а иногда еще и вводить стрелочный прибор [1].
Описываемая схема трассоискателя переработана с целью устранения указанных недостатков. В предлагаемом виде прибор позволяет с точностью до 10 см определять осевую линию залегания телефонных кабелей, проложенных на глубине до 1 м, а также ориентировочно определять глубину залегания кабеля и места некоторых повреждений. Дальность действия прибора 3—4 км.
Прибор состоит из двух блоков — генератора и приемника. Для питания генератора применяется аккумуляторная батарея напряжением 24 в. Приемник рассчитан на питание от батареи КБС-0,5 но может работать и от 2-3 элементов ФБС, а в крайнем случае— и от одного элемента ФБС. Емкость батареи КБС-0,5 обеспечивает не менее 100 часов непрерывной работы приемника.
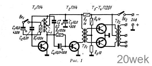
Схема. Принципиальная схема генератора представлена на рис. 1. Задающий генератор с модулятором собран на транзисторе T1 (П14). При разомкнутом выключателе Bk1 транзистор T1 с контуром L1C3 в цепи коллектора и элементами R1C2 в цепи базы образует одну из разновидностей трехточечного LC генератора с рабочей частотой 1000 гц. Частичное включение контура в коллекторную цепь позволяет подключать значительные нагрузки непосредственно к коллектору транзистора T1 без заметного снижения добротности контура в целом. Постоянная времени базовой цепи выбирается близкой к периоду колебаний. При подключении с помощью Bk1 конденсатора C1 постоянная времени базовой цепи резко возрастает и генератор превращается в широко известный по применению в УКВ диапазоне сверхрегенератор, только в данном случае частота модуляции составляет необходимые 2—3 гц. Каскад на транзисторе Т2 (П14) является буферным между генератором и мощным двухтактным выходным каскадом, собранным на транзисторах Тз, T4 (П201). Сопротивление R2 создает необходимый начальный режим транзистору Т2 по току; сопротивление Rз служит для понижения напряжения питания, подаваемого на первые два маломощные транзисторы в целях предохранения от перегрузок по предельно допустимым параметрам (особенно при работе с модуляцией). Сопротивления R4, R5 создают необходимый начальный режим транзисторам выходного каскада с целью максимального их использования по неискаженной отдаваемой мощности. Секционированная обмотка выходного трансформатора позволяет согласовать выход генератора с нагрузкой в 1 — 2 ома, 50 ом и 200 ом. Выходная мощность генератора составляет 5—8 вт. При необходимости повышения мощности генератора выходные транзисторы можно заменить на П4, а между транзистором Т2 и выходным каскадом добавить один каскад, собранный по схеме с общим эмиттером на транзисторе П201.

Принципиальная схема приемника с магнитной антенной представлена на рис. 2. Антенный контур L1C1 настроен на частоту генератора. Напряжение звуковой частоты поступает через сопротивление R1 на вход усилителя, собранного на четырех маломощных транзисторах (П14 или других). Первые два транзистора образуют вместе с двойным Т-образным мостом в цепи отрицательной обратной связи избирательный усилитель. При этом использование проводимости моста позволяет избавиться от переходных емкостей и получить температурно стабильную схему [3]. Сопротивление R1 необходимо для обеспечения нормальных условий работы избирательного усилителя с таким мостом. Два каскада на транзисторах Тз и T4 обеспечивают необходимое усиление. Начальный режим этих транзисторов определяется сопротивлениями R6 и R11. Телефоны — высокоомные, типа ТОН-2.

Конструкция и детали. Генератор смонтирован на гетинаксовой плате, прикрепленной на уголках к передней панели и вставляемой в корпус на салазках. Размеры платы 150х X100 мм, толщина 2 мм. Применение платы из изоляционного материала позволяет расположить монтажные лепестки в наиболее удобных местах и тем самым резко сократить количество соединительных проводов либо применить печатный монтаж. На передней панели размещены тумблеры Bk1 и Вк-2, выходные клеммы и клеммы подключения питания. Остальные детали укреплены на плате. Мощные транзисторы приподняты над платой с помощью втулок и имеют небольшие подковообразные радиаторы из алюминия. Катушка L1 содержит 500 + 500 витков провода ПЭЛ 0,1 и выполнена на сердечнике СБ-3. Трансформатор Tp1 намотан на ферритовом кольце наружным диаметром 8 мм и сечением 2×3 мм; первичная обмотка содержит 300 витков провода ПЭЛ 0,1, а вторичная — 80 + 80 витков провода ПЭЛ 0,15. Трансформатор Тр2 собран на сердечнике из пластин трансформаторной стали Ш-19, толщинa набора 25 мм. Первичная обмотка его содержит 130 + 130 витков провода ПЭЛ 0,51, а вторичная — 40 + 160 + 200 витков из провода соответственно ПЭЛ 1,2, ПЭЛ 0,51, ПЭЛ 0,33.
Монтаж приемника вместе с конденсатором антенного контура C1 выполнен на плате из гетинакса толщиной 1—2 мм, закрепленной с помощью шпилек внутри винипластовой трубки внешним диаметром 24 мм, служащей одновременно держателем корпуса с магнитной антенной. Этот корпус может поворачиваться относительно держателя на угол до 120° и фиксироваться в любом положении, что необходимо для различных режимов поиска. Антенная катушка намотана на стандартном ферритовом стержне Ф-600 размерами 140 X 8 мм и содержит 9 секций по 200 витков в каждой, выполненных проводом ПЭЛШО 0,15; намотка типа «универсаль». В верхней части держателя имеется коробка для батареи КБС и телефонные гнезда.
Транзисторы Тз и T4 желательно подобрать с b = 40 — 70.
Налаживание прибора. Методика налаживания прибора в принципе не отличается от описанной В. Ло- мановичем и И. Стрижевским [2]. Необходимо только учесть следующее. Частота генератора регулируется с помощью сердечника катушки L1 и подбором конденсатора Сз. Сопротивление R2 необходимо подобрать таким, чтобы при отключенном транзисторе T1 ток коллектора транзистора Т2 составлял 8 — 10 ма, Желательно, чтобы транзисторы T3 и T4 были с одинаковыми параметрами. Ток, потребляемый от аккумуляторов, зависит от нагрузки и может достигать 1 а.
При налаживании приемника особое внимание следует уделить тщательному подбору элементов моста — от этого зависит усиление на «несущей» частоте. Лучше всего следовать методике, предложенной Е. Куфлевским [3]. Режим первых двух каскадов устанавливается автоматически за счет обратной связи по постоянному току, режим оконечных каскадов следует подобрать с помощью сопротивлений R6 и R11 так, чтобы напряжение на коллекторе транзистора Tз составляло около четверти напряжения питания, а на коллекторе транзистора T4 — около половины этого напряжения. При напряжении питания 4,5 в приемник потребляет ток 4 -5 ма.
ЛИТЕРАТУРА:
[1] Зотов А. А. Трассоискатель подземных газопроводов, «Газовая промышленность», 1962, № 9.
[2] Л о м а н о в и ч В., Стрижевский И. Трассоискатель, «Радио», 1961, № 1.
[3] Куфлевский Е. И. Избирательный RС-усилитель на полупроводниковых триодах с непосредственной связью, «Радиотехника», 1961, № 9.





