ТРАНЗИСТОРНЫЙ УСИЛИТЕЛЬ ПОСТОЯННОГО ТОКА
В. Ломанович, Радио №6/1965, ст. 46
Транзисторные усилители постоянного тока (УПТ) являются важным элементом различных автоматических и контрольно-измерительных устройств. Обычно такие усилители характеризуются прямой зависимостью между силой тока в исполнительной (или измерительной) цепи и сигналом во входной цепи. Однако, в ряде случаев, необходимо иметь усилители с обратной характеристикой или же такие, у которых предусмотрена возможность компенсации посторонних эдс, наводимых на вход усилителя. Чаще всего это достигается путем введения в сигнальную цепь усилителя встречной (компенсирующей) эдс. Для этого обычно используются специальные гальванические батареи или стабилизированные выпрямители, включаемые последовательно в сигнальную цепь усилителя. Известны довольно сложные схемы таких компенсирующих устройств. Некоторые из них допускают подачу во входную цепь регулируемого напряжения любой полярности.
В настоящей статье приводится описание трехкаскадного транзисторного усилителя постоянного тока, который служит для автоматического контроля верхнего уровня сигнала управления. Выходной каскад можно нагружать исполнительным устройством мощностью до 30 вт. Питание усилителя производится от сети переменного тока напряжением 220 в, 50 гц.
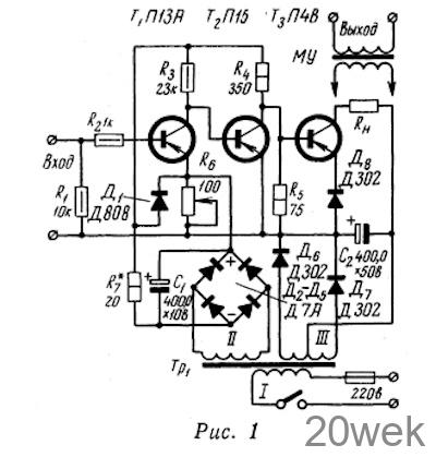
Усилитель (рис. 1) собран на трех германиевых транзисторах (Т1—Т3) типа р-п-р по простой схеме усилителя постоянного тока с непосредственной связью и общим эмиттером. Во входной цепи эмиттер — база транзистора Т1 (П13А) действует результирующее напряжение, состоящее из напряжения сигнала управления и падения напряжения на сопротивлении R6. Таким образом, у этого УПТ компенсирующее напряжение на входе создается автоматически за счет падения напряжения на сопротивлении R6, включенном в эмиттерную цепь транзисторов T1—Т2. Установка начальной рабочей точки (потенциала, при котором будет открываться транзистор T1), осуществляется регулировкой величины сопротивления Rб. При указанных на схеме рис. 1 электрических величинах деталей, автоматический контроль верхнего уровня входного сигнала обеспечивается в пределах от 0,3 до 1,6 в. Следует отметить, что при величине сопротивления Rб менее 20 ом транзистор T1 запирается (даже при открытом входе) и может быть открыт входным напряжением обратной полярности (то есть характеристика УПТ примет обычный вид).

Для питания первых двух каскадов усилителя (транзисторы П13А и П15) используется отдельный стабилизированный выпрямитель. Он собран по мостовой схеме на четырех германиевых диодах типа Д7А (Д2— Д5). Параметрический стабилизатор выполнен на кремниевом стабилитроне типа Д808 (Д1). Выпрямитель обеспечивает получение стабилизированного напряжения 8 в, при токе до 25 ма. Питание оконечного усилительного каскада, выполненного на транзисторе типа П4В (T3), производится от двухполупериодного выпрямителя, собранного на двух мощных германиевых выпрямительных диодах типа Д302 (Д6—Д7). Этот выпрямитель подключен к обмотке III трансформатора Тр1 со средней точкой. Он обеспечивает получение постоянного напряжения 25 в при токе до 1,5 а. Германиевый диод типа Д302 (Д8), включенный в эмиттерную цепь транзистора T3, значительно улучшает термостабилизацию усилителя, являясь одновременно ограничителем тока в выходной цепи устройства.
Нагрузка оконечного каскада может быть активной или же иметь активно-индуктивный характер. В частности, описываемый усилитель очень хорошо зарекомендовал себя в качестве предварительного усилителя для магнитного усилителя типа УМ 1П-32-64-51. Сопротивление постоянному току обмоток управления этого усилителя равно 32 ом.
На рис. 2 приведен график зависимости выходного тока оконечного каскада усилителя от напряжения сигнала на входе усилителя. Характеристика снята при нагрузке в цепи коллектора Т3 Rн=20 ом и установленной величине контролируемого потенциала, равной одному вольту.

Следует отметить, что крутизна нарастания тока на выходе устройства в большой степени зависит от величины коэффициента усиления по постоянному току (В) применяемых в схеме транзисторов (особенно T1). При выборе транзисторов с большой величиной В максимальный ток на выходе устройства может быть получен при отклонении контролируемого сигнала от заданной величины всего на 100—150 мв.
Работа УПТ происходит в следующей последовательности: снижение напряжения сигнала, поступающего на вход устройства, нарушает компенсацию напряжения на входе транзистора T1 и ток в цепи его коллектора растет. При этом падение напряжения на сопротивлении R3 увеличивается, закрывая постепенно транзистор T2, что в свою очередь вызывает увеличение отрицательного потенциала на базе транзистора Т3. Коллекторный ток транзистора Т3 в зависимости от величины коллекторной нагрузки возрастает с 10—20 ма до 800— 1300 ма.
Данные деталей схемы и налаживание УПТ
Все постоянные сопротивления берут типа МЛТ-0,5 и МЛТ-1, переменное проволочное сопротивление R6 — типа ППЗ-П. Номинальные величины сопротивлений R3 и R4 зависят от коэффициента усиления по току В транзисторов T1 и T2. Приведенные, на схеме данные справедливы при следующих значениях В для T1 B=30, для Т2 В=20 и Т3 В=20. Балластное сопротивление R6 подбирается при налаживании с таким расчетом, чтобы напряжение на выходе выпрямителя не выходило из границ напряжения стабилизации кремниевого стабилитрона Д808. Силовой трансформатор Тр1 выполнен на сердечнике из трансформаторной стали, пластины Ш-26, набор 35 мм. Его обмотка I содержит 1100 витков провода ПЭЛ 0,3, обмотка II— 40 витков провода ПЭЛ 0,3 и обмотка III — 12,5 витков провода ПЭЛ 1,0. Если необходимо предусмотреть возможность питания устройства также от сети напряжением 127 в, то первичную обмотку следует выполнить в виде двух секций по 550 витков провода ПЭЛ 0,2 в каждой и добавить переключатель сетевого напряжения, для включения этих обмоток последовательно или параллельно.
Усилитель монтируют на шасси из листовой стали толщиной 1 мм с размерами 225X110X40 мм. Силовой трансформатор Тр1, диоды Д2— Д7, конденсаторы фильтра выпрямителей С1 и С2 и транзистор Т3 с ребристым медным или алюминиевым радиатором диаметром 40 и высотой 30 мм устанавливаются на наружной горизонтальной панели шасси. Все остальные детали устройства размещаются в подвале шасси.
Перед установкой проверяют исправность всех полупроводниковых приборов. У транзисторов кроме измерения величины токов проводимости, определяют коэффициент усиления. Особое вниманиеследует уделить подбору транзистора Т3 (П4В). Начальный ток коллектора (/кн) у него не должен превышать 10 ма.
Налаживание устройства начинают с проверки напряжения на выходе выпрямителей (диод Д1 временно отключается). После этого на выход устройства подключается амперметр постоянного тока последовательно с сопротивлением величиной 20—30 ом. На вход транзистора Т1 подается контролируемое постоянное напряжение 0—1,5 в. Для этого можно воспользоваться переменным сопротивлением (470— 1000 ом), подключенным к гальваническому элементу или аккумулятору. Плюс снимаемого напряжения в этом случае должен быть подключен к средней точке сопротивлений R2 и R1, а минус — ко второму концу сопротивления R1.
Установив подвижной контакт переменного сопротивления R3 в среднее положение, изменяют напряжение на входе устройства до тех пор, пока ток в выходной цепи не начнет расти. Проверив работоспособность усилителя, следует подобрать оптимальные величины сопротивлений R3 и R4. Для этого их временно заменяют переменными сопротивлениями 33 ком и 470 ом соответственно. Подбирая оптимальные величин R3 и R4, следует добиться максимальной чувствительности входной цепи устройства к изменению сигнала. Одновременно полезно проконтролировать величину коллекторных токов транзисторов T1 и T2 при минимальном и максимальном токах на выходе устройства. В нормально налаженном устройстве коллекторный ток транзисторов в закрытом и открытом состоянии составляет соответственно для T1 300—450 мка, Т2 18—16 ма и для T3 7—1300 ма.
Далее проверяют диапазон регулировки начальной рабочей точки УПТ, обеспечиваемый сопротивлением R6. В дальнейшем ручка управления у этого сопротивления может быть снабжена соответствующей градуировкой. Подобрав оптимальную величину сопротивлений R3 и R4, заменяют их соответствующими постоянными сопротивлениями. При подборе балластного сопротивления R1 его также временно заменяют переменным сопротивлением величиной 50—100 ом, подключают стабилитрон Д808 и, контролируя напряжение на выходе выпрямителя с помощью вольтметра постоянного тока, определяют оптимальную величину сопротивления T7. Для оценки степени стабилизации напряжения на выходе этого выпрямителя можно рекомендовать его дополнительную проверку путем изменения напряжения на входе Tр1 на величину ±10—15%, например, с помощью ЛАТР-2.
Следует обратить внимание на температуру корпуса транзистора T3, которая при нормальном теплоотводе не должны превышать окружающую более чем на 15° С. Если будет обнаружен перегрев транзистора в первую очередь проверяют плотность его прилегания к поверхности радиатора (на «просвет» или с помощью щупа толщиной 0,03 мм). Иногда при высокой температуре окружающей среды и малом сопротивлении коллекторной нагрузки приходится применять принудительное охлаждение устройства. Практика показала, что для этого вполне достаточно обдува с помощью вентилятора мощностью 10—20 впг. Транзистор T2 также проверяется на перегрев. В некоторых случаях при значительном перегреве целесообразно заменить его более мощным транзистором, например П203, несмотря на значительно больший обратный ток коллекторного перехода у этого транзистора.





