СТАБИЛИЗИРОВАННЫЙ ИСТОЧНИК ПИТАНИЯ
А. Захаров, Радио №6/1965, ст. 50

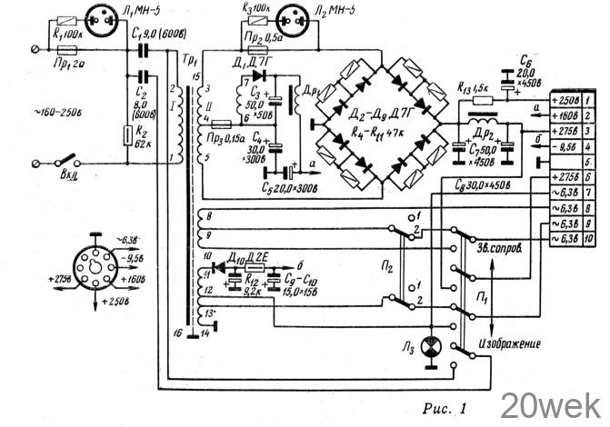
Стабилизированный выпрямитель, схема которого приведена на рис. 1, предназначен для питания телевизоров типа «Рубин», «Темп» и пр.

На выходе стабилизатора можно получить напряжение +275 в при токе нагрузки 180 ма; +250 в — при 40 ма, +160 в — при 50 ма; 6,3 в — при 8,75 а; 6,3 в — 0,6 а и напряжение — 9,5 в.
Конструктивно он выполнен в виде отдельного блока, его размеры 337X265X210 мм.
Данные блока питания можно рассчитать по формулам, приведенным в журнале «Радио» № 1, 1961 г., а число витков первичной обмотки подсчитывают по формуле п=7200/Qcm, где Q в см2. Число витков вторичных обмоток трансформатора рассчитывают так же, как для обычного силового трансформатора, то есть по заданным величинам напряжений и токов.
Сердечник трансформатора набран из нестандартных пластин с большим окном. Толщина набора 40 мм. Это позволяет свободно разместить все обмотки, ведь феррорезонансный стабилизатор и силовой трансформатор конструктивно выполнены в виде одного трансформатора.
Намоточные данные трансформатора сведены в таблицу. Для получения точных величин указанных выходных напряжений целесообразно сделать 2—3 дополнительных отвода, соответственно на 10 или 20 витков больше и меньше указанного в таблице числа витков.

Выпрямитель напряжения + 275 в выполнен по мостовой схеме на диодах Д2—Д9, а выпрямитель на 160V — по однополупериодной схеме на диоде Д1. Роль феррорезонансного стабилизатора выполняет первичная обмотка трансформатора Тр1 и конденсаторы C1 С2. При изменении напряжения сети в пределах 160—250 в выходные напряжения блока изменяются на +5,5% (табл. 2).
В процессе эксплуатации телевизора иногда удобно (в ожидании передач, в перерыве между передачами и пр.) выключать изображение и оставлять только звуковое сопровождение. Это экономит потребляемую телевизором энергию. Конструкция блока питания предусматривает это. Если переключатель П1 перевести в верхнее по схеме положение, отключается накал кинескопа и радиоламп блока развертки и видиоусилителя. Мощность, потребляемая от сети, падает, а емкость конденсаторов феррорезонансного стабилизатора изменяется с 17 до 8 мкф. Если переключатель П2 установить в положение 2, то на отключенные лампы и кинескоп будет подаваться пониженное напряжение накала (2,5—3 в). Таким образом лампы за период паузы не остынут и изображение при необходимости будет быстро включено
Радио №4/1966, ст.62








