РЕЛЕ УКАЗАТЕЛЯ ПОВОРОТОВ
В. КУЗНЕЦОВ, Радио №12/1966, ст.42
Опубликованные ранее схемы транзисторных реле указателя поворотов содержат, как правило, 2—3 транзистора, и не отвечают требованию, по которому в паузе лампа должна не выключаться полностью, а гореть с яркостью 60%.
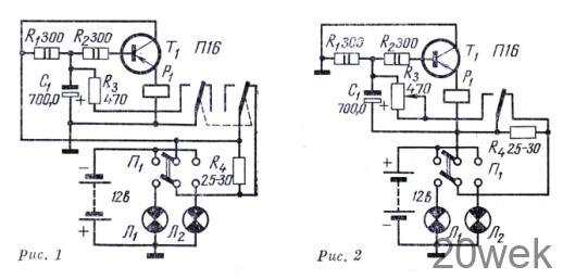
Предлагаемая схема реле собрана на одном транзисторе, в качестве которого может быть применен любой маломощный транзистор (П13— П16, П20, П25). Вариант схемы для автомобилей, у которых с шасси соединен положительный полюс батареи, приведен на рис. 1, с заземленным отрицательным полюсом — на рис. 2.

Реле Р — типа РКМ-1, с током срабатывания до 15 ма и напряжением срабатывания около 10 в. Резисторы R3 и R4 — проволочные. В случае использования реле на автомобилях или мотоциклах, имеющих напряжение батареи 6 в, сопротивление резисторов R1, R2 и R4 необходимо уменьшить вдвое. Реле в этом случае должно срабатывать при напряжении 6 в.





