М. Маклюков, Радио №2/1966, ст.35
Частотный фильтр — важный узел современной радиоэлектронной аппаратуры. Благодаря простоте и хорошим электрическим характеристикам большое распространение получили LC-фильтры. Их с успехом применяют в диапазоне частот от нескольких десятков герц до нескольких десятков мегагерц. Однако с понижением рабочей частоты размеры и вес LC-фильтра резко возрастают, так как индуктивности их в области низких частот довольно велики. Если рабочая частота составляет единицы или доли герца, необходимая величина индуктивности возрастает настолько, что выполнение LC-фильтра становится практически невозможным.
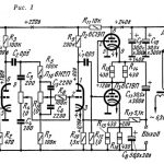
От этих недостатков свободны RC— фильтры. Однако пассивные RC— фильтры, состоящие только из сопротивлений и конденсаторов, имеют низкую избирательность и большое затухание в пределах полосы пропускания. Чтобы повысить избирательность и компенсировать потери, в состав фильтра включают активные элементы (электронную лампу или транзистор). Такие фильтры называются активными. Активные RC— фильтры при малых размерах имеют параметры не хуже, чем LС-фильтры, даже на самых низких частотах.




