ПОРТАТИВНЫЕ ИНДУКЦИОННЫЕ РЕЛЕ
Е. Мядлер, Радио№2/1966, ст.45
Описываемые ниже реле могут применяться как взрывобезопасные выключатели в шахтах, нефтяных производствах и т. д., так как при их включении и выключении и во время работы не возникает искры. Индукционный выключатель не подвержен электрическому старению, почти не разрушается механически, и поэтому его выгодно применять и в ответственном оборудовании на обычных заводах.
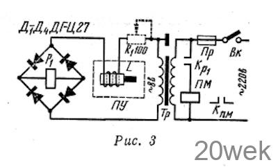
В исходном состоянии обмотка реле Р1 типа МРЦ (рис. 1) обесточена и напряжение на ее зажимах отсутствует (ток небаланса значения не имеет). При введении сердечника в катушку индукции L сопротивление катушки возрастает на 200 ом за счет увеличения индуктивности, на обмотке реле появляется напряжение величиной 4 в, реле срабатывает, контакты Kp1 замыкают цепь пускового магнита ПМ. При вытягивании сердечника реле Р1 выключается, его контакты Kp1 размыкаются и цепь пускового магнита ПМ отключается.

Напряжение 36 в можно получить либо за счет понижающего трансформатора Тр, либо включением в цепь питания гасящего сопротивления величиной в 2,6 ком (на 15 вт), но в этом случае повышается мощность, потребляемая устройством, и на пост управления ПУ подается сетевое напряжение (220 б).
Конструкция, схема которой приведена на рис. 1, надежно работает и при значительных колебаниях напряжения источника питания.
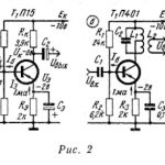
В установках, где применяется более стабилизированный источник питания (при автоматическом регулировании напряжения на силовых трансформаторах), можно применить более простые схемы индукционных реле. Схема первого из них приведена на рис. 2. В этом устройстве при введении сердечника в катушку L уменьшается падение напряжения на сопротивлении R1 что приводит к срабатыванию реле Р1. Схема имеет «нормально-открытое» исполнение, как и в схеме рис. 1.

Схема другого типа такого устройства приведена на рис. 3. При введенном сердечнике реле Р1 не срабатывает из-за большого сопротивления катушки L (контакты реле разомкнуты). При вытягивании сердечника сопротивление катушки L уменьшается, ток через катушку увеличивается и реле срабатывает. Эта схема имеет «нормально-закрытое» исполнение.

Во всех вариантах можно применить потенциометры для выбора длины хода сердечника на срабатывание (на схемах они показаны пунктиром).
В качестве сердечника можно применить ферритовый стержень марки Ф-600 длиной 8—10 см. Катушкой индукции L служит катушка напряжения счетчика с активным сопротивлением обмотки порядка 500 ом.
В качестве выпрямительных элементов можно применить диоды ДГ- Ц27 или другого типа, рассчитанные на выпрямленный ток 80 ма, но при этом может возникнуть необходимость в подборе величин сопротивлений.
Ток, потребляемый устройствами, не превышает 72 ма, поэтому в качестве понижающих трансформаторов можно использовать маломощные трансформаторы.
Все три описанные схемы индукционных реле, несмотря на отсутствие электронных усилителей, работают надежно. Применение вместо трансформатора Тр маломощного стабилизатора напряжения полностью обеспечит безотказность работы описанных устройств.





