МОДЕРНИЗАЦИЯ ТЕЛЕВИЗОРОВ УНТ-47 и УНТ-59
А. Юкер, Радио №3/1966, ст.25
1965 году радиопромышленность начала серийный выпуск унифицированных телевизоров II класса УНТ-47 и УНТ-59. Эти телевизоры собраны по единой схеме на унифицированном шасси и отличаются только внешним оформлением, а также типами кинескопов. Они выпускаются заводами под различными названиями: УНТ-47 — «Огонек», «Изумруд», «Чайка», «Березка», «Зорька», «Восход»; УНТ-59— «Электрон», «Рубин-106».
В настоящей статье приводится описание основных отличий модернизированной схемы унифицированных телевизоров УНТ-47-1 и УНТ- 59-1 от схемы, опубликованной в «Радио», 1964, №8.
Схема усилителя ПЧ изображения модернизированного телевизора соответствует изображенной в «Радио», 1964, № 8. В этом усилителе лишь изменены величины сопротивления резистрра R301 на 1,2 ком и емкости конденсатора С302 на 15 пф для получения оптимального согласования с выходом блока ПТК-7, а также лампа 6Ж1П (Л302) заменена лампой 6Ж38П, имеющей большую крутизну, что позволило увеличить запас чувствительности телевизора.
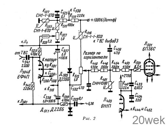
Изменения в схеме видеоусилителя (рис. 1) направлены на увеличение его коэффициента усиления и улучшение четкости изображения. Для этого установлены корректирующие дроссели Др303—95 мкгн (зашунтирован резистором R326 18 ком),ДР305-39 мкгн. Дроссель Др30б исключен из схемы. Вновь введен в цепь катода кинескопа дроссель ДР302 (95 мкгн), параллельно которому установлен резистор R545— 18 ком. Изменена схема питания анода и экранирующей сетки лампы видеоусилителя — пентодной части 6Ф4П (Л304a) и величина сопротивления ее анодной нагрузки (с 6,2 на 8,2 ком). Исключен из-за недостаточной эффективности корректор четкости (детали Вк502, Rз24, С320), а резисторы R31б, R32о и конденсатор С327 присоединены непосредственно к шасси. Потенциометр регулятора контрастности R529 для уменьшения паразитной монтажной емкости соединительных проводов, искажающей частотную характеристику видеоусилителя, расположен около лампы 6Ф4П (Л304). Резистор R313 исключен, а резистор R337 отсоединен от шасси и подключен к верхнему (по схеме) концу резистора R316. Таким образом, на управляющую сетку пентодной части лампы 6Ф4П (Л304а) подается напряжение обратной связи по постоянной составляющей, что позволяет полнее использовать динамическую характеристику лампы для повышения напряжения сигнала изображения, подаваемого на катод кинескопа. Цепь, состоящая из диода Д306, конденсатора С353, резисторов R345 и R351, служит для ограничения среднего тока луча кинескопа. Резистор R330 используется для измерения тока луча без разрыва цепи. Назначением цепи, состоящей из резистора R351 и конденсатора С511 и имеющей большую постоянную времени разряда, является поддержание положительного потенциала на катоде кинескопа (в течение ЗО-6О сек) после отключения телевизора от сети любым способом, что предотвращает прожог люминофора электронным лучом. Прежняя схема защищала люминофор от прожога только тогда, когда отключение производилось выключателем сети Вк501. Резистор R550 из схемы исключен.

Защита каналов изображения и звукового сопровождения от перегрузки в первое время после включения телевизора путем питания накала лампы Л302 от дополнительной обмотки L502 строчного автотрансформатора впоследствии была заменена включением накала ламп ПТК-7 через контакты реле МРЦ-2, обмотка которого включалась в цепь экранирующей сетки лампы 6П36С (Л501). Реле срабатывало лишь после того, как лампа Л501 начинала нормально работать. Однако ввиду недостаточной надежности реле в модернизированном телевизоре для защиты от перегрузок применено оригинальное устройство (рис. 2), которое работает следующим образом. Сразу после включения телевизора через конденсатор С333 на диоды Д305 и Д511, включенные по схеме удвоения, поступает напряжение накала. Выпрямленное напряжение, сглаженное фильтром С337 R339 С338, подается в цепь АРУ ламп Л1 и Л301 и запирает их. После прогрева лампы Л403 задающего генератора строчной развертки запирающее напряжение увеличивается за счет отрицательного напряжения, образующегося на управляющей сетке лампы 6П36С (Л501) выходного каскада строчной развертки. После прогрева Л501, а также демпферного диода 6Д20П (Л502) начинает работать система АРУ и появляется напряжение вольтодобавки (1000 в), которое открывает диод Д511, подключенный к источнику напряжения вольтодобавки через варистор R51б и потенциометр R512. Сопротивление открытого диода Д511 мало. Поэтому отрицательное напряжение, запирающее лампы Л1 и Л301, уменьшается до такой величины, при которой эти лампы отпираются.

В модернизированном телевизоре предусмотрена возможность перехода с автоматической на ручную подстройку частоты гетеродина (рис. 3). Для этого в схему введены тумблер Bк502 и потенциометр R523. В положении тумблера «ручная подстройка» отключается питание с анода и экранирующей сетки лампы 6Ж5П (Л305) и заземляется катушка L31б; Ручная подстройка гетеродина производится вращением движка потенциометра R523.

Для уменьшения уровня фона усилителя НЧ к нити накала лампы 6Ф5П (Л203) в телевизорах УНТ-47-1 и УНТ-59-1 подводится положительное напряжение с делителя, состоящего из резисторов R220 (560 ком) и R205 ( 220 ком). Делитель подключен к выходу «+150 в» выпрямителя. Резистор R224 — 3,3 ком заменен на 4,7 ком. Благодаря этому достигнуто уменьшение коэффициента нелинейных искажений усилителя НЧ. В цепи регулятора яркости резистор R51з исключен, а резистор R533 заменен на подстроечный величиной .1,5 Мом. Изменена схема включения приставки двухречевого сопровождения (рис. 4) и пульта дистанционного управления громкостью и яркостью (рис. 5).


В узле синхронизации изменены величины резисторов: R429 на 270 коm*, R436 на 100 ком, R437 на 3 ком. Резистор R434 и конденсатор С422 исключены из схемы, и анод пентод- ной части лампы 6Ф1П (Л402) соединен непосредственно с сеткой триодной части этой же лампы.
В узле строчной развертки изменены величины сопротивлений резисторов: R442 на 560 ком, R446 и R447 на 22 ком, R501 на 8,2 ком’, конденсаторов: С428 на 2200 пф, С434 на 220 пф, С433 на 0,022 мкф. Контур L401 С429 зашунтирован резистором R415 — 10 ком. Потенциометр регулировки частоты строк R546 установлен величиной 25 ком. В связи с этим резистор R452 заменен последовательно включенными двумя резисторами: подстроечным R452 — 120 ком (типа СП-0,4) и постоянным R450 — 22 ком. На сетку правого (по схеме) триода лампы 6Н1П (Л403) через конденсатор С408— 5,1 пф подано напряжение обратной связи с дополнительной обмотки (вывод 3) строчного автотрансформатора.
В устройстве гашения обратного хода строчной и кадровой разверток взамен полупроводникового диода Д226Б (Д404) применена лампа 6Х2П (Л404), которая включена так, как показано на рис. 6. Конденсаторы С430, С425 и резистор R435 из схемы телевизора исключены. Вторичная обмотка выходного трансформатора кадровой развертки Тр503 и резистор R527 отсоединены от шасси, и на них подается положительный потенциал с катода пентодной части лампы 6Ф5П (Л401). Остальные изменения схемы узла разверток, связанные с применением нового устройства защиты приемников телевизора от перегрузок, видны из рис.- 2.

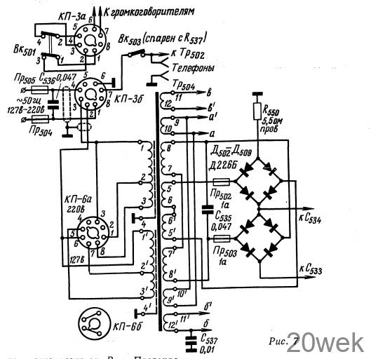
В выпрямителе телевизора произведены следующие изменения (рис. 7). Предохранители Пр502 и Пр503 установлены между соответствующими выводами обмоток силового трансформатора и выпрямительными мостами. Для уменьшения броска тока через Диоды и предохранители верхний (по схеме) измерительный мост заземлен через резистор R550. Предохранитель Пp5o установлен в цепи «+250 б», идущей к 3 ножке разъема КП-4а. Таким образом, через него питаются только лампы Л501, Л502 и регулятор яркости. Из фильтра выпрямителя исключен резистор R547. Изменено расположение выводов силового трансформатора Tр504

Намоточные данные трансформаторов телевизора приведены в табл. 1, контурных катушек — в табл. 2, корректирующих дросселей — в табл. 3.








