Маленькая радиола
Радио №11/1964, ст.61
Блок-схема радиолы приведена на рис. 1. Оконечный усилитель радиолы может работать от звукоснимателя, небольшого радиоприемника и микрофона. Конструкция и схема отдельных элементов радиолы настолько просты, что их может повторить любой радиолюбитель

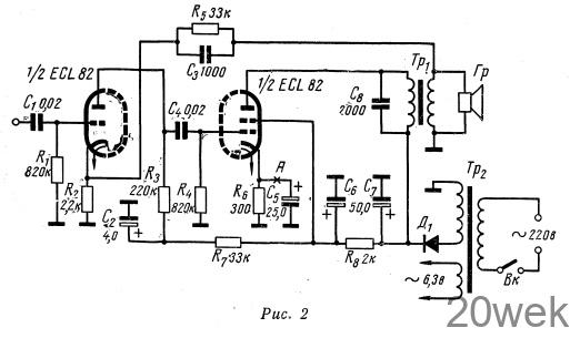
Принципиальная схема усилителя НЧ приведена на рис. 2. Он собран на лампе ECL82. Усилитель напряжения выполнен на триодной части этой лампы, а усилитель мощности — на пентодной. Весь усилитель охвачен отрицательной обратной связью, напряжение которой со вторичной обмотки выходного трансформатора через цепочку подается в катодную цепь триодной части лампы ECL82. Питается усилитель НЧ от селенового выпрямителя приемника «Figaro».

Усилитель смонтирован на алюминиевом шасси. Размещение основных деталей сверху шасси показано на рис. 3. Силовой трансформатор можно намотать на сердечнике с сечением железа 8 см2. Его сетевая обмотка должна содержать 1100 витков провода ПЭЛ 0,35, анодная — 1000 витков провода ПЭЛ 0,15 и “обмотка накала — 32 витка провода ПЭЛ 0,6.

Регуляторы громкости радиолы вынесены в отдельный блок. Схема включения регуляторов громкости показана на рис. 4. В качестве регурегуляторов громкости использованы логарифмические потенциометры сопротивлением 0,5 Мом. Смонтированы они на специальной планке толщиной 0,5—1 мм. (рис. 5). При таком способе крепления потенциометры надежно экранированы.


Приемник радиолы можно выполнить на одном транзисторе по схеме, приведенной на рис. 6. Для приема программы радиостанции «Варшава — 1» катушка L1 должна содержать 300 витков, а Ь2 — 20 витков провода ПЭЛ 0,2. Для приема других радиостанций число витков этих катушек нужно подобрать заново. При настройке приемника антенну следует ориентировать по максимуму громкости.

Приемник может питаться самостоятельно от батареи напряжением 4,5 в. Кроме того, его можно подключить к усилителю, для этого минусовой провод (см. рис. 6) нужно соединить с шасси усилителя, а плюсовой — с катодом пентодной части лампы ECL82 (точка А на схеме рис. 2).
Схема включения микрофона показана на рис. 7. Данные микрофонного трансформатора определяются типом примененного микрофона.

Громкоговоритель можно применить любой с сопротивлением звуковой катушки 4—8 ом, например громкоговоритель типа ГД18—132. Конструктивное оформление радиолы зависит от индивидуальных возможностей радиолюбителя.
От редакции: Лампу ECL82 можно заменить отечественной лампой 6ФЗП. В выпрямителе можно использовать два последовательно включенных диода Д7Ж- Выходной трансформатор подойдет от радиолы «Рекорд-60» или другого аналогичного приемника. Громкоговоритель можно применить типа 1 ГД-18 или 1ГД-9.





