КВ возбудитель
Л. Ляпин, Радио №5/1964, ст.18
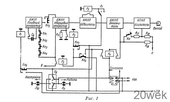
| Диапазонный возбудитель, описанный в этой статье, можно применять в любительских КВ радиостанциях I и II категории. Его выходная мощность в диапазонах 10, 14 и 20 м составляет около 3—4 вт, что вполне достаточно для нормальной работы предоконечного каскада передатчика I категории. Возбудитель (рис. 1) содержит 5 каскадов: генератор плавного диапазона (6Ж1П), кварцевый генератор (6Ж9П), удвоитель (6Ж9П), умножитель (6ЖИП), усилитель (6П14П). |

При работе телефоном возбудитель включается либо тумблером на лицевой панели, либо нажатием ножной тангенты. Предусмотрена возможность работы в комплекте с устройством автоматического включения передатчика от голоса оператора (одновременное нажатие кнопок Кн5, Кн6). Телеграфный ключ включен в цепь управляющей сетки оконечного каскада. Возбудитель может работать как с генератором плавного диапазона (нажатие кнопки Кн5), так и с кварцевым генератором (нажатие кнопки Кн6 и одной из кнопок Кн1-Кн4 — в зависимости от используемого кварца).
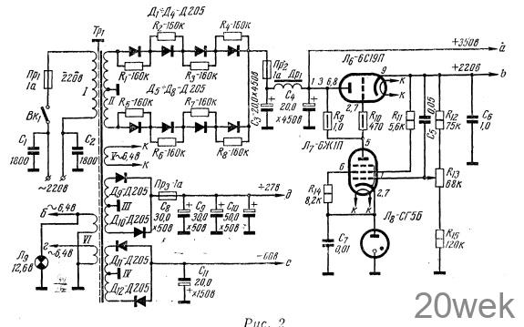
Анодные и экранные цепи всех ламп, кроме анодной цепи лампы Л5 питаются от электронного стабилизатора напряжения 220 в (рис. 2). При изменении напряжения сети на ± 10% от номинальной величины напряжение на выходе стабилизатора изменяется не более чем на ± 0,3%.

| Силовой трансформатор собран на сердечнике из пластин Ш—32, толщина набора 55 мм. Обмотки содержат: I—740 витков провода ПЭВ2 0,74; II—280×2 витков провода ПЭВ2 0,31; III—85×2 витков провода ПЭВ2 0,93; IV—180×2 витков провода ПЭВ 0,31; V,VI—22×3 витков провода ПЭВ2 1,45. Экранная обмотка содержит один слой провода ПЭВ2 0,31. |
Выпрямители питающего напряжения для анодных цепей собраны на диодах Д1 — Д8, для питания обмоток реле — на диодах Д9 — Д10 и выпрямитель напряжения смещения — на диодах Д11 — Д12. Принципиальная схема возбудителя приведена на рисунке. Генератор плавного диапазона собран на лампе Л1 по трехточечной схеме с автотрансформаторной обратной связью. Он работает в диапазоне 7 Мгц. Столь высокая частота генерации выбрана в основном из-за применения в контуре специальной катушки L1, изготовленной методом гальванического осаждения меди на каркасе из радиофарфора. В любительских условиях эту катушку можно изготовить, наматывая горячий медный провод на керамический каркас. Максимальная добротность контура наблюдается на частоте около 7 Мгц. Для повышения стабильности частоты генерируемых колебаний приняты следующие меры: каскад полностью экранирован, цепи питания хорошо развязаны по высокой частоте; в колебательном контуре генератора применены специальная катушка L1, полупеременный конденсатор с воздушным диэлектриком С2, прецезнойный переменный конденсатор с воздушным диэлектриком и очень малым ТКE C1; генераторная лампа Л1 работает в облегченном режиме, связь с буферным каскадом слабая. Благодаря этому уход частоты генератора после часового прогрева за час работы составляет около 20—25 гц.

В нерабочем режиме (например, при работе на прием) его частота генерации на 0,5 Мгц ниже рабочей частоты. При этом к контуру генератора подключен конденсатор C8. Когда же срабатывает реле P1, отключая С8 от контура, генератор возвращается в прежний режим работы с частотой генерации 7 Мгц.
Кварцевый генератор собран на лампе Л2. При работе возбудителя с плавным генератором он становится буферным каскадом, работающим в режиме А.
Третий каскад смонтирован на лампе Лз при работе возбудителя. В диапазоне 14 м он работает как буферный, а в диапазонах 10 и 20 м — как удвоитель. Одновременно с переключением диапазонов меняется режим работы каскада (реле Р5).
Каскад умножителя собран на лампе Л4. Он работает как удвоитель в диапазоне 10 м, как утроитель в диапазоне 14 м, и как усилитель в диапазоне 20 м. Во время пауз в работе возбудителя (например, при работе на прием) каскад заперт отрицательным напряжением— 80 в на управляющей сетке лампы, поступающим с выпрямителя. Во время работы отрицательное напряжение смещения создается только сеточным током лампы на сопротивлении утечки сетки.
Оконечный каскад возбудителя собран на лампе Л5. Анодная цепь ее питается нестабилизированным напряжением + 350 в. В цепи управляющей сетки осуществляется телеграфная манипуляция. Во время работы отрицательное напряжение смещения создается сеточным током лампы, и часть снимается с делителя напряжения R17—R19. Сопротивление R20 равно 33 ком. Анодный контур каскада связан с выходом возбудителя трансформаторной связью.
Электронные лампы 6Ж9П и 6ЖИП были разработаны для широкополосных усилителей. Использование их в описываемом возбудителе дало возможность применить очень слабую связь между каскадами и создать усилители с широкой полосой пропускания. Поэтому при перестройке генератора плавного диапазона в пределах любого диапазона требуется подстройка только контура оконечного каскада возбудителя.
При настройке и работе возбудителя можно контролировать анодные токи всех ламп, кроме Л1. Контрольный прибор (М-494) и переключатель П5 находятся на лицевой панели возбудителя.
Конструкция возбудителя. Конструктивно возбудитель выполнен на разборном шасси консольного типа размерами 370 х 290 х 210 мм. Шасси изготовлено из листовой стали толщиной 3 мм.
Все детали каждого каскада отделены экранами от соседних , Лампа Л1 расположена перпендикулярно к шасси, цоколем вниз, лампы Л2 и Л3 находятся в горизонтальном положении, а лампы и Ль вертикально, но цоколем вверх, Эта несколько необычная компановка возбудителя дала возможность экранировать каскад от каскада, развязать по высокой частоте цепи питания каскадов, что полностью исключило возможность самовозбуждения. В подвале шасси расположены монтажные провода цепей питания, смонтированы выпрямители и стабилизатор . Кроме того, здесь же расположены в отдельных экранированных отсеках кнопочный переключатель и кварцы. Намоточные данные катушек приведены в табл, 1, типы реле в табл. 2.


Передняя панель съемная и изготовлена из дюралюминия толщиной 4 мм. Верньерное устройство и обрамление шкалы генератора плавного диапазона применены от радиостанции А-7-Б. На переднюю панель выведены ручки управления и настройки всех каскадов и ось переключателя диапазонов. Переключатель прибора П5 на передней панели дает возможность при настройке и работе возбудителя контролировать по прибору анодные токи ламп всех каскадов (кроме генератора плавного диапазона).
Возбудитель помещается в стальном футляре размерами 400 X 310 х 260 мм.
Налаживание возбудителя. Смонтировав возбудитель, необходимо перед налаживанием проверить режимы ламп всех каскадов ламповым вольтметром постоянного тока. Возбудитель налаживают покаскадно.
Правильно собранный генератор плавного диапазона начинает работать сразу. Его налаживание сводится в основном, к установке рабочей частоты по гетеродинному волномеру.
При настройке прочих каскадов удобно пользоваться связным КВ приемником с сильно заниженной чувствительностью или гетеродинным волномером. О настройке в резонанс анодного контура каждого каскада можно судить по увеличению уровня принимаемого сигнала. Подобный метод дает возможность всесторонне оценить качество работы настраиваемого каскада. При настройке оконечного каскада удобно нагрузить его лампой накаливания напряжением 6—26 в и мощностью около 3 вт





