КАСКОДНЫЙ ПРЕДУСИЛИТЕЛЬ
А. Бояджан, Радио №11/1965, ст.34
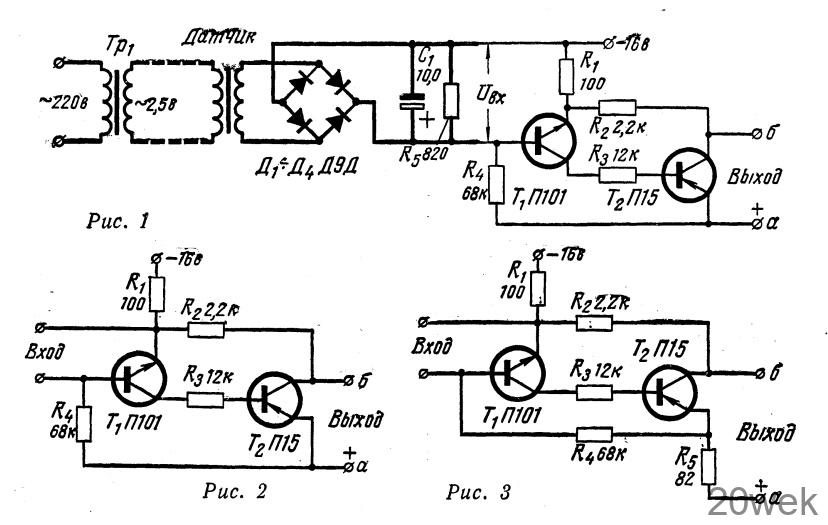
Схема усилительной ступени с постоянным усилением, приведенная в журнале «Радио» № 4 за 1965 год, была испытана с отечественными транзисторами типа П101 вместо 155NU70 и П15 вместо 0С71.
Такая замена повлекла за собой необходимость замены также величин некоторых сопротивлений в схеме (рис. 1). Оптимальный режим усиления получается при уменьшении сопротивления R3 до 12 ком, при увеличении сопротивления R2 до 2,2 ком.

Усилитель был испытан при работе его от индуктивного датчика, предполагаемого для применения в системе автоматического регулирования натяжения нитей основы на ткацких станках.
В зависимости от натяжения нитей на выходе моста напряжение меняется от 0,3 до 0,58 в. При. этом изменение напряжения на выходе усилителя (между точками а и 6) составляет от 0,1 до 7 в,

Небольшое изменение схемы входа (рис. 2), приводящее к некоторому уменьшению действия обратной связи, обеспечивает резкое повышение коэффициента усиления до 55.
Компенсация уменьшения действия существовавшей обратной связи достигается введением второй цепи отрицательной обратной связи (рис. 3). При этом стабильность усилителя возрастет, хотя коэффициент усиления снизится до 50. Он работает устойчиво с различными транзисторами типа П13, П14, П15 и П16 без предварительного их подбора по В или Ikо.
Описываемый каскодный предусилитель можно рекомендовать для широкого применения в различных системах автоматики. Например, если вместо сопротивления R5, подключить диагональ измерительного моста, то можно усилить сигнал, образованный от разбаланса его плеч.
Такие схемы часто применяются для измерения и регулирования температуры, влажности, освещенности и т. д.
Обмотка индукционного датчика намотана на каркасе из эбонита. Первичная обмотка содержит 2000 витков, вторичная’—3000 витков провода ПЭВ-1 0,19. Сердечник имеет форму цилиндра диаметром 15,5 мм и длиной 30 мм, изготовленный из электротехнической стали АРМКО или из стали Ст-3. Первичная обмотка датчика питается от сети переменного тока через понижающий трансформатор Тр1, который намотан на сердечнике из пластин Ш-16, толщина набора 22 мм. Первичная обмотка трансформатора имеет 2500 витков провода ПЭВ-1 0,19, вторичная — 30 витков провода ПЭВ-1 0,64.





