ИЗМЕРЕНИЕ ВЛАЖНОСТИ ВОЗДУХА
Б. ШЛИМОВИЧ, Радио №2/1964, ст.37
Дистанционный электропсихрометр ЭПГ — АФИ
Одним из наиболее точных приборов, применяемых для измерения влажности воздуха при положительных температурах, является аспирационный психрометр. Обычно психрометр состоит из двух ртутных термометров, закрепленных в корпусе, и вентилятора. Баллончик с ртутью у одного из термометров во время измерений непрерывно увлажняется. Сухой термометр показывает температуру воздуха t, а смоченный — температуру V, величина которой зависит от интенсивности испарения с поверхности термометра.
Абсолютная влажность воздуха е может быть вычислена, исходя из показаний термометров, по формуле:

где Е’— максимальная упругость паров при температуре t’, р — атмосферное давление, Л — постоянная психрометра.
Промышленные образцы аспирационных психрометров с ртутными термометрами не могут удовлетворить всем условиям, при которых бывает необходимо измерять влажность воздуха. Необходимость приближения наблюдателя к прибору для отсчета показаний ртутных термометров ограничивает возможность использования психрометра при измерениях среди растений, на значительных высотах над поверхностью почвы, в закрытых объемах воздуха и т. д. Воздействие, оказываемое присутствием наблюдателя, увеличивает погрешность измерений. Отсутствует также возможность автоматической регистрации влажности .
В последние годы были предложены конструкции психрометров с электрическими термометрами, которые позволяют частично преодолеть указанные затруднения. Один из таких приборов — электропсихрометр ЭПГ—АФИ, чувствительным элементом которого служит термосопротивление типа ММТ, обладает высокой точностью и чувствительностью, обеспечивает дистанционность измерений и позволяет простыми средствами осуществлять автоматическую регистрацию измеряемых величин.
Аспирация прибора производится с помощью вентилятора, приводимого во вращение малогабаритным электродвигателем постоянного тока типа МУ—010.
Двигатель вращается со скоростью до 3000 об/мин, что обеспечивает возможность регулировать скорость аспирации в пределах до 4 м/сек.
Смачивание батистовой материи, которой обернуто одно из термосопротивлений, производится автоматически и непрерывно при подаче воды из специального резервуара.
Термосопротивления типа ММТ-4 закреплены на стойках внутри всасывающих патрубков с помощью проволочных отводов из манганиновой проволоки диаметром 0,3 мм. Использование манганина обусловлено его малой теплопроводностью, благодаря чему практически ликвидируется теплоприток от корпуса прибора к термосопротивлению, что особенно важно для влажного термосопротивления.
Для предохранения от замыкания электрической цепи через влажный батист термосопротивление покрывают изоляционной эмалью. Измерительное устройство построено по схеме неравновесного моста.
Приборы, собранные по такой схеме, позволяют наиболее просто и быстро производить измерения температуры и влажности воздуха как в лаборатории, так и в полевых условиях.
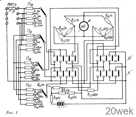
Схема моста показана на рис. 1. Диапазон измеряемых температур разбит на два интервала, каждому из которых соответствует полная шкала микроамперметра. Это достигается тем, что в схему прибора входит два неравновесных моста, составленных соответственно, из сопротивлений R21—R26 (четвертым плечом в обоих случаях служит измеряемое термосопротивление). Переключение диапазонов измерения температур производится с помощью ключа П1. Источником питания моста является батарея сухих элементов типа КБСЛ- 0,5 от карманного фонаря. Так как к мосту в процессе измерений необходимо подавать постоянное по величине напряжение, то предусмотрена возможность регулировки его с помощью переменного сопротивления R19.

Регулировка напряжения производится в то время, когда с помощью ключа «И — К» вместо термосонротивления в плечо моста включается постоянное сопротивление R27. Значение этого сопротивления подобрано таким образом, чтобы при его включении и правильно отрегулированном напряжении стрелка микроамперметра отклонялась до красной черты в конце шкалы прибора.
С помощью постоянных сопротивлений R1—R16 компенсируют различия в параметрах термосопротивлений.
Номиналы постоянных плеч моста и компенсационных сопротивлений рассчитываются по специальным формулам, опубликованным в литературе. В качестве чувствительных элементов взяты термосопротивления типа ММТ-4 с номинальным сопротивлением 3 ком.
Градуировка прибора производится в водяном термостате типа ТС-15 в диапазоне температур от 0° до +40°С. Контроль температуры ведется по ртутному лабораторному термометру с ценой деления 0,1°С. Регистрируются показания через каждые 3°С, а затем по этим данным строится график зависимости сопротивления термосопротивлений от температуры. Этот график служит основой для проведения расчета параметров моста.
При правильно рассчитанных элементах моста и безошибочном монтаже прибор не требует особой наладки и сразу же дает правильные показания после подключения питания. Проверка прибора производится сначала при обоих сухих термосопротивлениях. Оба они должны давать аналогичные показания в пределах точности прибора. Затем производится смачивание термосопротивления. Через четыре минуты после включения прибора он должен давать правильные показания температуры сухого и смоченного термосопротивления. По этим данным с помощью обычных психрометрических таблиц определяется относительная влажность воздуха.
Психрометр ППК — 1 — АФИ для измерения и регулирования относительной влажности воздуха Недостатком электропсихрометров с косвенным измерением влажности является невозможность непосредственного определения относительной влажности воздуха по шкале прибора. Необходимость перевода табличных данных показаний термометров в значения относительной влажности не дает возможности автоматизировать процесс измерения и регулирования влажности. От этого недостатка свободен предложенный в АФИ И. В. Коробочкиным прибор, предназначенный для дистанционного непосредственного измерения относительной влажности и для ее автоматического регулирования. Показания прибора зависят от двух величин: разности температур сухого и смоченного термометров и температуры измеряемого воздуха.
Принципиальная схема психрометра ППК-1-АФИ, предназначенного для непосредственного измерения относительной влажности в диапазоне 30—100% при температурах от +15 до +45°С, показана на рис. 2.

В качестве сухого термометра использованы два термосопротивления, соединенные между собой параллельно. Как показали исследования, такой нессиметричный мост позволяет получить меньшую погрешность при значительно большем отношении тока, идущего через микроамперметр, к току, идущему через любое термосопротивление моста.
В индикаторную цепь моста включен микроамперметр типа Ml 17/1 с током полного отклонения не более 5 мка при сопротивлении рамки 3000 ом.
Последовательно с микроамперметром в измерительную диагональ моста включено постоянное сопротивление Rз, величина которого определяется по формуле:
R3 = 18 000 — Rr, ом,
где Rr — внутреннее сопротивление микроамперметра в омах. Напряжение питания моста выбирается так, что бы стрелка прибора при выключенных контрольных сопротивлениях установилась на красной черте шкалы. Шкала микроамперметра разделена на 70 делений для диапазона относительной влажности 30—100%.
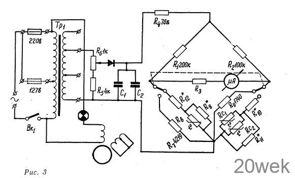
Схема прибора, приспособленного для питания от сети переменного тока, показана на рис. 3.

Прибор рассчитан на работу в диапазоне температур от 15 до 40сС без специальной шкалы для измерения температур. «Сухое» (Rc1 и Rc2), «мокрое» (RB) термосопротивления имеют идентичные характеристики (температурный коэффициент и номинальное сопротивление). Идентичность достигается с помощью компенсационных постоянных сопротивлений R8, R10, R11 и R12.
Постоянные сопротивления R7 и R9 служат для контроля величины напряжения, подаваемого на мост. Регулировка напряжения питания моста производится с помощью сопротивления R6 при отключенных с помощью кнопки К «сухого» и «мокрого» термосопротивлений и подключенных соответственно вместо них постоянных сопротивлений R7 и R9.





