Электро-гитара
Л. НИКОЛЬСКИЙ, Радио №7/1967, ст. 41
Адаптеризованная гитара или электрогитара состоит из собственно гитары, звукоснимателя (датчика) и усилителя НЧ.

Гитару можно использовать любую, важно только, чтобы она имела стальные струны, поскольку в данной конструкции применяется электромагнитный датчик. Лучшие результаты позволяет получить инструмент «немого» типа, без акустического резонатора.
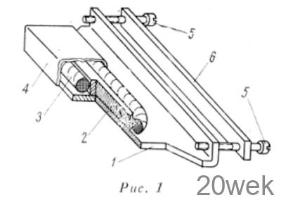
Электромагнитный датчик служит для преобразования механических колебаний струн гитары в электрические сигналы звуковой частоты. Конструкция датчика (разрез) показана на рис. 1. Он состоит из основания 1 и сердечника 2 с обмоткой 3. Обмотка с сердечником закрыты кожухом 4. Сердечник датчика образует с его основанием подковообразную магнитную систему, один полюс которой находится на верхней грани сердечника, другой — на отогнутой кверху полочке основания. Эту особенность нужно иметь в виду при намагничивании сердечника, для чего, в крайнем случае, можно воспользоваться хорошим постоянным магнитом

Намагничивать сердечник следует после сборки датчика. Датчик крепится иод струнами на подставке с помощью винтов 5 и планки 6 (рис. 2). Основание 1 и планку 6 изготавливают из мягкой листовой стали толщиной 2-4-2,5 мм. В конструктивном отношении сердечник датчика представляет собою брусок прямоугольного сечения из какого-либо магнитного сплава или из твердой углеродистой стали. Его можно изготовить, с помощью наждачного круга, из куска плоского напильника. Для плотного прилегания к основанию нижняя грань сердечника должна иметь плоскую и гладкую поверхность. К основанию сердечник крепится клеем БФ-2. Обмотка датчика должна содержать 2000—4000 витков провода ПЭЛ или ПЭВ 0,1-0,05. Ее можно намотать на деревянную болванку со съемными щечками. Снятую с болванки обмотку с целью уплотнения витков и защиты провода от повреждений рекомендуется обмотать лентой из лакоткани; выводы обмотки следует сделать тонким многожильным проводом.

Кожух изготавливают из любого немагнитного материала. Например, из листовой меди пли латуни толщиной 0,3-4-0,5 мм. Правда, такой кожух представляет собой коротко- замкнутый виток, но влияние его невелико. Пластмассовый кожух следует оклеить изнутри кусочками фольги, которые будут для обмотки электростатическим экраном, поэтому их нужно соединить проводничками с основанием.
Размеры датчика и его деталей не критичны. Они определяются конкретной конструкцией гитары и потому в описании и на рисунках не приводятся.
Датчик подключается к усилителю с помощью экранированного провода длиною 2-3 м со штеккером или штепсельной вилкой. Экранную оплетку провода следует соединить с основанием датчика. При игре на инструменте нужно помнить, что данный датчик, как и все прочие электромагнитные датчики, подвержен наводкам от силовых трансформаторов и других подобных устройств.
Усилитель служит для усиления сигналов датчика гитары и для их последующего воспроизведения динамическим громкоговорителем. Для придания звучанию инструмента различной окраски и большей выразительности усилитель снабжен тембровым устройством и амплитудно-фазовым модулятором (рис. 3). Предварительный усилитель собран на лампе Л1 типа 6Н2П. Между первым и вторым каскадами включен ручной регулятор громкости R6. Сигнал со второго каскада усиления подается на вход амплитудно-фазового модулятора, который выполняет функции трех устройств: манипулятора для управления атакой и затуханием звука, амплитудного модулятора для придания звуку громкостной вибрации, фазового модулятора для «оживления» звука вибрацией по высоте. Модулятор собран на одной половине лампы Л2 типа 6Н1П и может быть включен между двумя каскадами усиления любого усилителя.

На схеме (рис. 3) корректирующие цепочки в выходном каскаде не показаны.
Работает это устройство следующим образом. Сигнал с анода лампы Л1 через разделительный конденсатор С3 поступает на сетку лампы фазоинвертора Л2, в катодную цепь которой через разделительный конденсатор С6 включен управляемый делитель напряжения, состоящий из фоторезистора Rф и резистора R13. Поскольку электрическое сопротивление фоторезистора зависит от интенсивности его освещения, то изменяя накал лампочки подсвета фоторезистора R5 можно управлять амплитудой сигнала на резисторе R13, а значит изменять громкость звучания инструмента. Благодаря большой инерционности фоторезистора и тепловой инерции нити лампочки подсвета, управление освещенностью фоторезистора можно свести к простому включению и выключению лампы подсвета с помощью ножной педали-кнопки Кн1.
Таким образом описанное устройство работает как управляемый манипулятор и с его помощью можно управлять атакой и затуханием звука. В цепь лампочки подсвета включены нормально замкнутые контакты реле P1. При замыкании ключа K1 включается релаксационный генератор, состоящий из обмотки реле P1, конденсатора С16 и резистора R26 с выпрямительным диодом Д1. Генератор разрывает цепь накала лампочки подсвета Л5 с частотой 5-7 гц. В этом режиме устройство модулирует сигнал подтональной частотой н модулятор работает как автоматический громкостный вибратор. При замыкании ключа К2 амплитудный модулятор превращается в фазовый. Цепочка Rф—С7 представляет собой обычную фазовращающую «RС» — цепочку с переменным резистором Rф, благодаря чему на резисторе R13 периодически изменяется уже не амплитуда, а фаза сигнала, что и создает эффект высотной вибрации звука.
Релаксационный генератор собран на поляризованном реле типа РП-4. Частота колебаний, а значит и частота мигания лампочки Л5 зависит от емкости конденсатора С16 и сопротивления резистора R26- Питается релаксационный генератор от отдельной обмотки силового трансформатора напряжением 6,3 в через диод типа Д7Ж.
Между нредоконечным и выходным каскадами усилителя включен клавишный переключатель тембров, с помощью которого изменяется частотная характеристика усилителя, и в результате звук приобретает различные тембровые оттенки. Переключатель тембров имеет три клавиши: «Б» — бас, «К» — концерт и «В»— высшие частоты с двумя контактными группами на переключение на каждой клавише (1Б и 2Б, 1К и 2К, 1В и 2В). При переключении обеспечивается пять вариантов частотных характеристик усилителя.
Выходной каскад выполнен по схеме усилителя радиоприемника «Фестиваль» («Радио», № 5, № 6, 1958 г.)
Конструктивно усилитель выполняется в портативном корпусе. Усилитель и блок питания монтируются на отдельных шасси (рис. 4). С целью уменьшения микрофонного эффекта панелька лампы Л1 и громкоговоритель устанавливают на резиновых амортизаторах. Релаксационный генератор собирается на отдельной плате и крепится к шасси усилителя также через амортизаторы. Подвал шасси усилителя следует экранировать для уменьшения наводок на элементы монтажа. Фоторезистор необходимо экранировать от лампы подсвета металлической мелкой сеточкой. Кроме того, фоторезистор нужно защищать от влияния постороннего света, разместив его в подвале шасси.

Налаживание усилителя в основном сводится к налаживанию модулятора, путем подбора емкости конденсатора С7 и сопротивления резистора R13. Причем от величины последнего зависит глубина амплитудной вибрации, от величины емкости конденсатора С7— глубина фазовой модуляции. Для модулятора следует применять фоторезистор с наибольшим диапазоном изменения сопротивления. В данном усилителе применен фоторезистор типа ФСК-I. Для модулятора нужно подобрать подходящий экземпляр фоторезистора опытным путем. При настройке модулятора иногда помогает и подбор лампочки подсвета, хотя в основном плавность вибрации зависит от соотношения длительности освещения и затемнения фоторезистора, то есть от режима работы релаксационного генератора. В большинстве случаев скважность колебаний должна быть порядка 0,5.
Модулятор сложен в настройке, зато он предельно прост конструктивно, кроме того, в отличие от прочих манипуляторов и модуляторов, он не создает специфической помехи, прослушиваемой на выходе усилителя как характерное «топтание», так как не влияет па режим работы усилительных каскадов.
Усилитель может питаться от любого выпрямителя, обеспечивающего постоянное напряжение порядка ЗООв.
Выходной трансформатор собран на сердечнике из пластин Ш 20, толщина набора 30 мм. Секции 1—2 и 4—5 этого трансформатора содержат по 1000 витков, а секции 2—3 и 3—4 ио 250 витков провода ПЭЛ 0,14. Вторичная обмотка секции 6—7′, 7—8′, 8—9 и 9—40) имеют 35 + 15+ 30+20 витков провода ПЭЛ 0,6. Громкоговорители можно использовать типа 5ГД-14 и 4ГД-1 и другие.
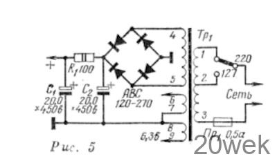
Выпрямитель электрогитары(рис. 5) выполнен на селеновых вентилях АВС 120—270. Силовой трансформатор собран на сердечнике из пластин Ш19 толщина набора 40 мм. Секция 1-2 сетевой обмотки содержит 510 витков, а 2—3—600 витков провода ПЭЛ 0,33, повышающая обмотка содержит 1400 витков провода ПЭЛ 0,19, а накальные — по 37 витков провода ПЭЛ 1,0.

