Чувствительный миниатюрный приемник
Радио №10/1965, ст.60
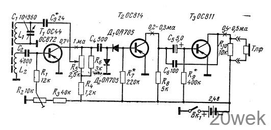
Приемник предназначен для приема радиостанций в диапазоне средних волн. Прием осуществляется на пьезоэлектрический малогабаритный телефон. Источником питания служат два дисковых аккумулятора, соединенных последовательно. Потребляемый ток составляет 1,0—1,5 ма. Размещен приемник в футляре размерами 85 X 43 X 20 мм. Схема приемника приведена на рисунке. Он собран по схеме прямого усиления на трех транзисторах. Первый регенеративный каскад усиления ВЧ собран на транзисторе Т1 типа ОС872, который можно заменить транзистором типа П401. Благодаря обратной связи, регулируемой сопротивлением R5, достигается высокая чувствительность и хорошая избирательность приемника. Детектор собран по схеме удвоения напряжения на диодах типа ОА705, вместо которых можно использовать диоды Д2В или Д2Е. Усилитель НЧ двухкаскадный (T2, Т3). В нем использованы транзисторы типов ОС814, ОС811. Их можно заменить транзисторами типа П14.

Катушка входного контура намотана на ферритовом стержне диаметром 8 мм и длиной 78 мм. Она содержит 75 витков литцендрата ЛЭШО 30 X 0,05. Катушка связи L2 составляет 1/9 часть катушки то есть около 8 витков, намотанных проводом ПЭВ 0,3.
Сопротивление R2 (10 ком) служит для установки коллекторного тока (в пределах 1 ма) транзистора T1. Вместо пьезоэлектрического телефона можно применить электромагнитный телефон типа ТМ-2м, при этом сопротивление R10 можно исключить.





