БЕСТРАНСФОРМАТОРНЫЙ УСИЛИТЕЛЬ НЧ
В. НОСОВ, Радио №3/1964, ст.41
Усилитель низкой частоты (рис. 1) предназначен для радиограммофона или радиоприемника на транзисторах.

Основные параметры усилителя: выходная мощность 130 мВт при нелинейных искажениях не более 5% и около 150 мВт при искажениях порядка 10—12%. Указанные номинальные значения мощностей могут быть получены при подведении на вход усилителя напряжения НЧ равного 10 мв. Неравномерность частотной характеристики ±1 дб в пределах 50—7000 гц. При снижении напряжения источника питания с 6 до 4,5 в выходная мощность усилителя падает примерно в 1,5 раза. При этом потребляемый ток в режиме молчания снижается с 10—12 ма до 5 ма.
Усилитель имеет четыре каскада. Входной каскад выполнен по схеме с общим коллектором на транзисторе Т1 типа П13Б, имеющем пониженный уровень собственных шумов. Входное сопротивление каскада около 9 ком. При необходимости оно может быть повышено при применении сопротивлений R1, R2, R3 с большими номиналами и транзистора с коэффициентом усиления по току а=0,98 (b=50). Температурная стабильность каскада при этом несколько ухудшится. Так, например, при Rвх=40 ком сопротивление R1 увеличивается до 510 ком, R2 — до 100 ком и R3 — до 6,2 ком.
Второй каскад выполнен на транзисторе Т2 типа П13Б по схеме с общим эмиттером. В цепь эмиттера с выхода усилителя через сопротивление R17 и конденсатор Сз подается напряжение отрицательной обратной связи. Температурная стабилизация рабочей точки транзистора осуществляется с помощью делителя напряжения, образованного сопротивлениями R4, R5. Транзистор Т2 имеет коэффициент усиления по току a=0,98 (b=50—60).
Третий каскад усилителя выполнен по схеме с общим эмиттером на транзисторе Тз типа П13, с коэффициентом усиления по току a=0,98 (b=50—60). В качестве коллекторной нагрузки используются сопротивления R16, R12 и R13. Они же служат и для подбора рабочей точки транзисторов T4 (П13) и Т5 (П11). Связь между каскадами гальваническая, что обеспечивает хорошее пропускание самых низких частот. Через конденсатор С6 осуществляется отрицательная обратная связь по напряжению в области высоких частот. Положение рабочей точки транзистора Тз определяется сопротивлениями R8, R9, R10 и R14. Конденсатор С9 и сопротивление R14 образуют фильтр низких частот.
Выходной каскад собран по схеме, обеспечивающей низкое выходное сопротивление. Применение транзисторов п—р—п и р—п—р проводимости позволило исключить из схемы согласующий и выходной трансформаторы. Эти транзисторы (Т4—П13 и Т5—П11) подбираются по идентичности параметров а(b) и Iko. Величина Iков этом случае должна быть не более 2—3 мка. Коэффициент усиления транзисторов по току а= 0,985—0,995 (b=65—200).
В качестве нагрузки выходного каскада используется громкоговоритель типа 0,15 ГД-1 (сопротивление звуковой катушки 6 ом) или 0,1 ГД-6 (сопротивление звуковой катушки 10 ом). Оптимальная величина сопротивления нагрузки — 8 ом при напряжении источника питания 6 в или 6 ом при напряжении источника питания 4—4,5 в.
В усилителе могут быть применены и громкоговорители других типов, имеющих сопротивление звуковой катушки от 6 до 12 ом.
Детали и конструкция
В усилителе применены электролитические конденсаторы типа ЭМ (C1, С2, Сз, С5) и типа ОП (С4, С7, С8, С9, C10), Конденсаторы типа ОП можно заменить конденсаторами типа ЭМ. Конденсатор С6 — типа КТК (можно заменить КДК)
Сопротивления R15 и R18— выполнены из константанового провода диаметром 0,1 мм, намотанного на сопротивлениях типа МЛТ—0,25— 100 ом. Остальные сопротивления— типа УЛМ, Их можно заменить сопротивлениями типов МЛТ—0,25 или КИМ.
Электролитические конденсаторы емкостью 30 мкф можно заменить конденсаторами емкостью 25,0 мкф на рабочее напряжение 4—6 в. Конденсатор C10 емкостью 100,0 мкф можно заменить емкостью 75,0— 80,0 мкф, но в этом случае полоса пропускания усилителя ограничивается в пределах от 150—250 до 7000 гц.
Транзисторы Т1 и Т2 можно заменить на П14, П15, а Tз,T4— на П14, П15, П16А, П16Б. Транзистор П11 можно заменить транзисторами типов П9 или П10. .
Усилитель собран на гетинаксовой плате толщиной 2 мм размером 60×65 мм.
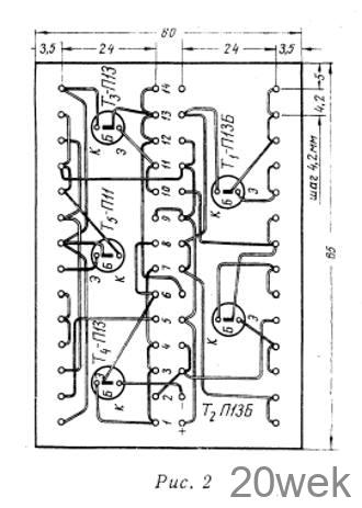
Размеры монтажной платы, расположение монтажных штырьков, транзисторов и соединения между штырьками показаны на рис. 2, а размещение деталей на плате — на рис. 3.


На монтажной плате высверлены пять отверстий диаметром около 8,5 мм, в которые вставляются транзисторы (выводами в сторону монтажа). Монтажные штырьки изготовляются из медной (лучше луженой или посеребренной) проволоки диаметром 1 мм. Высота штырьков над платой со стороны монтажа не превышает 4 мм. Общая высота монтажа— 15—18 мм.
После заготовки монтажной платы, набивки монтажных штырьков и установки транзисторов, производится распайка всех соединений согласно рис. 2, Распайка сопротивлений и конденсаторов производится в последнюю очередь.
На выводы транзисторов лучше надеть кембриковые или полихлорвиниловые трубочки разных цветов, например, белые — на выводы коллекторов, черные — на выводы баз и красные — на выводы эмиттеров. Это ускоряет процесс монтажа и исключает ошибки. На все электролитические конденсаторы тоже необходимо надеть полихлорвиниловые трубочки.
Налаживание
Для налаживания усилителя лучше пользоваться генератором ЗГ-11 (или другим звуковым генератором), осциллографом и ламповым вольтметром.
Перед тем, как приступить к налаживанию усилителя, звуковую катушку громкоговорителя нужно отключить и заменить ее эквивалентным сопротивлением.
Налаживание начинается с установки коллекторных токов всех транзисторов (они приведены на схеме рис. 1) в режиме молчания подбором величин сопротивлений R1, R2 (Tз); R4, R5 (T2); R8, R9 (Тз) и R13, R16 (Т4, Т5). После этого от коллектора транзистора Т2 отключают конденсатор С5 и на базу транзистора Тз подают с генератора низкой частоты сигнал напряжением 20—150 мв частотой 400 гц для получения на эквиваленте нагрузки напряжения звуковой чистоты равного 1 в. Форма выходного сигнала контролируется на экране осциллографа, включенного параллельно с экквивалентом нагрузки. Если форма синусоиды будет сильно искажена, следует подобрать транзисторы Т4 и Т5 или варьировать сопротивлениями 7R10, R12, R13, контролируя при этом величину потребляемого тока по миллиамперметру, который в режиме отдачи максимальной выходной мощности не должен превышать 35 ма.
Правильно налаженный выходной каскад должен симметрично ограничивать положительную и отрицательную полуволны синусоиды сигнала при подаче на вход повышенного уровня НЧ. Если положительная полуволна синусоиды начнет ограничиваться (искажаться) раньше, чем отрицательная, необходимо несколько уменьшить величину сопротивления R10 в цепи эмиттера транзистора Тз. Если, наоборот, начнет раньше ограничиваться отрицательный полупериод синусоиды, то следует уменьшить величину сопротивления R13 в цепи базы транзистора Т4.
После окончания налаживания выходного каскада конденсатор С5 подсоединяется к коллектору транзистора Т2 и напряжение порядка 3—10 мв частотой 400 гц подают на вход усилителя и контролируют на экране осциллографа форму сигнала НЧ на выходе усилителя. Обычно, ограничение сигнала в первых каскадах усилителя не наступает из-за небольшой амплитуды сигнала, и все искажения вносит, как правило, выходная ступень. Поэтому предварительные каскады налаживания не требуют, за исключением подбора коллекторных токов.
При желании можно снять частотную характеристику всего усилителя. Подавая на вход усилителя сигнал с частотой от 50 до 7000 гц, по ламповому вольтметру контролируют равномерность частотной характеристики (стрелка должна отклоняться в пределах ±1 дб).
После снятия частотной характеристики вместо эквивалента нагрузки подсоединяют громкоговоритель и налаживание усилителя на этом заканчивается. Если в распоряжении радиолюбителя не имеется рекомендованных измерительных приборов, для налаживания усилителя вместо звукового генератора можно использовать осветительную сеть, вместо лампового вольтметра — тестер или любой вольтметр, пригодный для измерения переменного напряжения, со шкалой на 3 в. Громкоговоритель при этом так же заменяется эквивалентным сопротивлением порядка 8—10 ом. Вольтметр подсоединяется параллельно эквиваленту. Подавая сигнал на вход усилителя, добиваются получения отсчета вольтметра в пределах 0,5 в. Далее, подбором сопротивлений R10, R13 добиваются максимального увеличения выходного напряжения.
Схема подключения к осветительной сети, вместо звукового генератора, приведена на рис. 4 и особых пояснений не требует.

Последний способ налаживания усилителя не позволяет, конечно, судить о степени искажений, вносимых усилителем (она определяется только на слух) и других его параметрах, однако позволяет добиться некоторого повышения выходной мощности усилителя. Опыт продолжительной эксплуатации усилителя показал, что он работает в широком диапазоне питающих напряжений (от 9 B до 3 B), причем при напряжении 9 в его выходная мощность значительно повышается, а потребляемый ток при этом составляет не более 50 ма (в режиме молчания 17—25 ма).





