«Юпитер» и «Сигнал»
А. Дормидонтов, В. Кухаренко, Радио №8/1964, ст.49
Карманные радиоприемники «Юпитер» и «Сигнал» (см. вкладку в журнал) построены по супергетеродинной схеме на семи транзисторах. Их габаритные размеры — 113 X 70 ХЗЗ мм. Вес «Юпитера» — 300 г, «Сигнала» — 370 г. По принципиальной схеме оба приемника одинаковы, но отличаются по внешнему оформлению и конструкции. В «Сигнале» установлены часы, позволяющие автоматически в заданное время включать и выключать приемник. «Юпитер» и «Сигнал» питаются от батареи «Крона» (или «Крона-1 Л») и работают без замены батареи при средней громкости звучания около 20 часов. В приемниках установлен громкоговоритель 0,1ГД-8. Кроме того слушать передачи можно на малогабаритный телефон типа ТМ-4, который включается в специальное гнездо. При подключении телефона громкоговоритель автоматически отключается. Другое гнездо предназначено для подключения наружной антенны, что несколько повышает чувствительность приемника.

«Юпитер» и «Сигнал» имеют два диапазона: длинноволновый (150— 408 кгц) и средневолновый (525— 1605 кгц). Их максимальная чувствительность в ДВ диапазоне не хуже 600 мкв/м, а в СВ диапазоне — 250 мкв/м. Ослабление соседнего канала при расстройке на ± 10 кгц в диапазонах ДВ не менее 24 дб и СВ — не менее 20 дб, а зеркального канала на ДВ не менее 35 дб и на СВ — 30 дб. При изменении напряжения сигнала на входе приемника в 20 раз благодаря работе АРУ это напряжение на выходе изменяется не более чем в два раза. Номинальная выходная мощность равна 60 мет и сохраняется при снижении напряжения питания до 7,2 в. Ток потребления в режиме покоя порядка 4 ма.
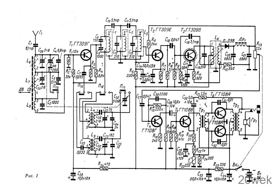
Принципиальная схема приемников представлена на рис. 1.

Входная цепь на обоих диапазонах собрана по схеме комбинированной связи с базовой цепью транзистора ГТ309Г (Т1) преобразователя частоты. Основным элементом связи служит конденсатор С2, включенный последовательно в колебательный контур, состоящий из катушек ферритовой антенны L7L8 и конденсаторов Сза, Сзв, Сзг, C4, С5. Индуктивная связь при помощи катушки носит вспомогательный характер. Для принимаемого сигнала транзистор T1 включен по схеме с общим эмиттером, а для гетеродинного напряжения — по схеме с общей базой (катушка связи антенны имеет незначительное сопротивление). Гетеродин собран по трехточечной схеме с индуктивной связью. Напряжение гетеродина, определяющее режим преобразования частоты, выделяется на сопротивлении Rз, которое одновременно служит для температурной стабилизации каскада.
Нагрузкой преобразователя частоты является трехконтурный фильтр сосредоточенной селекции (ФСС), который включен в коллекторную цепь транзистора T1 через емкостной делитель (С8, С9) для согласования выходного сопротивления каскада преобразователя с входным сопротивлением ФСС. Избирательность приемников по соседнему каналу определяется этим фильтром, так как два последующих каскада усилителя ПЧ не обладают селективными свойствами. Автотрансформаторная связь ФСС с первым каскадом усилителя ПЧ, собранном на транзисторе ГТ309Е (Т2), выбрана для согласования выходного сопротивления фильтра с входным сопротивлением каскада с транзистором T2. Первый каскад усилителя ПЧ — апериодический. С сопротивления нагрузки R8 коллектора Т2 напряжение ПЧ через конденсатор C16 подводится к базе транзистора ГТ309В (Тз) второго каскада усилителя ПЧ, нагрузкой которого служит широкополосный контур L6С19 с полосой пропускания около 40-50 кгц. Связи этого контура с транзистором Тз и с детектором подобраны так, чтобы контур был нагружен одинаково как выходным сопротивлением транзистора, так и входным сопротивлением детектора. Это соответствует условию передачи максимальной мощности.
В приемнике применен детектор на диоде Д9В (Д1). В цепь детектора включен П-образный фильтр, состоящий из дросселя Др1 и конденсаторов С20 и С21. Нагрузкой детектора служит переменное сопротивление R13 регулятора громкости. Постоянная составляющая тока диода Д1 используется для АРУ путем регулировки тока базы транзистора Т2.
Усилитель НЧ в приемниках трехкаскадный. Первый каскад предварительного усиления НЧ собран на транзисторе ГТ108Г (Т4), второй — на транзисторе ГТ108Б (Т5) и оконечный двухтактный каскад на транзисторах ГТ108А (Т6 и T7). Смещение на базы транзисторов Т6 и T7 оконечного каскада для экономии энергии источника питания создается на сопротивлениях R23 и R24 за счет эмиттерного тока транзистора Т5. Для температурной стабилизации оконечного каскада НЧ установлено термосопротивление СТЗ-17 (R23). Два последних каскада НЧ охвачены отрицательной обратной связью, которая снимается со вторичной обмотки выходного трансформатора и через цепь R21С30 подается на эмиттер транзистора Т5. В первом каскаде предварительного усиления НЧ цепь отрицательной обратной связи составляют сопротивление R15 и конденсатора С36.
Приемники смонтированы на печатной плате из фольгированного гетинакса. В них применены новые малогабаритные узлы и детали. Расположение деталей на печатной плате показано на вкладке.
Контурные катушки L7 и L8 ДВ и СВ диапазонов, а также катушка связи намотаны на гильзах из прессшпана, которые размещены на плоском стержне магнитной антенны. Этот стержень выполнен из феррита 600 НН сечением 20 х 3 мм и длиной 100 мм. Конструкция контурных катушек L1, L2, L3, L4, L5, L8 и дросселя Др1 одинакова. Катушки L1, L2, Lз и L6 экранированы. Катушки гетеродина L4 и L5, а также дроссель Др1 не имеют экрана. Они закрыты предохранительным колпачком, конструктивно оформленным в виде экрана. Намоточные данные контурных катушек приемника приведены в табл. 1. Размещение намотки на каркасах показано на рис. 2, и на магнитной антенне — на рис. 3.




Сердечники согласующего и выходного трансформаторов собраны из пластин ШЗ пермаллоя 50Н, толщина набора 6 мм. Намоточные данные трансформаторов приведены в табл. 2, распайка выводов показана на рис. 4. Режимы транзисторов приведены в табл. 3.

Корпус приемника выполнен из небьющейся пластмассы (сополимер).





