ВЫПРЯМИТЕЛЬ ДЛЯ ЗАРЯДКИ МАЛОГАБАРИТНЫХ АККУМУЛЯТОРОВ
Е. КУЧИС, Радио №3/1964, ст.37
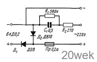
Особенностью схемы выпрямителя (рис. 1) по сравнению с ранее опубликованными является включение кремниевого стабилитрона Д2, напряжение стабилизации которого выше максимального напряжения заряженной батареи аккумуляторов на 1 — 2 в. Это уменьшает ток саморазряда аккумуляторов и тем самым позволяет длительное время спокойно оставлять их под зарядкой. Кроме того, кремниевый стабилитрон предохраняет приемник от перенапряжений и позволяет производить зарядку аккумуляторов, не отключая их от приемника. Вследствие фильтрующего действия аккумуляторов и диода Д2 выпрямитель можно использовать для питания приемника непосредственно от сети.

На случай отсутствия сети переменного тока предусмотрена возможность зарядки аккумуляторов от других аккумуляторов или батарей — они подключаются к верхнему и нижнему правым (по схеме) зажимам.





