Выносной регулятор стереобаланса
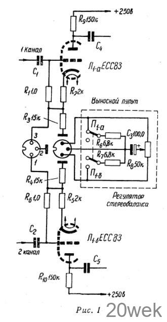
При прослушивании стереофонических записей необходима точная установка равенства громкостей звука в обоих каналах. Превышение громкости одного из каналов создает впечатление пространственного смещения звука в сторону этого канала. Наиболее удобен выносной регулятор стереобаланса. Пользуясь им, можно точно установить необходимый стереобаланс во время воспроизведения испытательной грампластинки, находясь на месте постоянного прослушивания. Схема выносного пульта регулятора стереобаланса показана на рис. 1 (дополнительный сдвоенный переключатель служит для скачкообразного изменения громкости). Этот регулятор работает следующим образом. В катодных цепях ламп каскадов предварительного усиления обоих каналов установлены большие не зашунтированные конденсаторами сопротивления Rз и R4, что Приводит К возникновению глубокой отрицательной обратной связи по току, значительно снижающей усиление. Через соответствующие гнезда разъема сопротивления Rз и R4 соединены с концами потенциометра R8 регулятора стереобаланса. Движок регулятора заземлен по переменному току через конденсатор большой емкости Сз. При перемещении движка потенциометра вверх или вниз (по схеме), соответственно одно из сопротивлений Rз или R4 окажется зашунтированным конденсатором Сз в большей степени, чем другое, и поэтому усиление одного каскада увеличится, а другого — уменьшится. Указанные на схеме величины деталей обеспечивают достаточную для практики глубину регулировки стереобаланса.

ОТ РЕДАКЦИИ: Лампу ЕСС83 можно заменить на 6Н2П.





