ВЫХОДНОЙ КАСКАД НА 430—440 Мгц
Радио №6/1965, ст. 20
Выходной каскад сконструирован как приставка к перепередатчику на 144—146 Мгц с кварцевой стабилизацией частоты и выходной мощностью 5 вт. При анодном напряжении 300 в выходная мощность каскада равна 5 вт.
Принципиальная схема Схема (рис. 1). Каскад собран по схеме с заземленной сеткой на лампе ГИ12Б (Л1) и работает в режиме утроения частоты. Дроссели Др1 и Др2 блокируют цепи катода и накала по высокой частоте. Конденсаторы С1 и С2 — развязывающие. Конденсатор С3 применяется тогда, когда контур связи с антенной в передатчике на 144—146 Мгц заземлен. Если этот контур заземлен через конденсатор переменной емкости, то конденсатор С3 можно не устанавливать. Сопротивление R1 в цепи катода позволяет устанавливать напряжение смещения, необходимое для нормальной работы каскада. Дроссель Др3 блокирует цепь анода по высокой частоте. Конденсатор С4 создает короткое замыкание для токов высокой частоты у короткозамкнутого конца анодного контура. Анодный контур L1 коаксиального типа. Он настраивается на частоту в диапазоне 430—440 Мгц. L2 — петля связи, служит для отбора энергии в антенну.

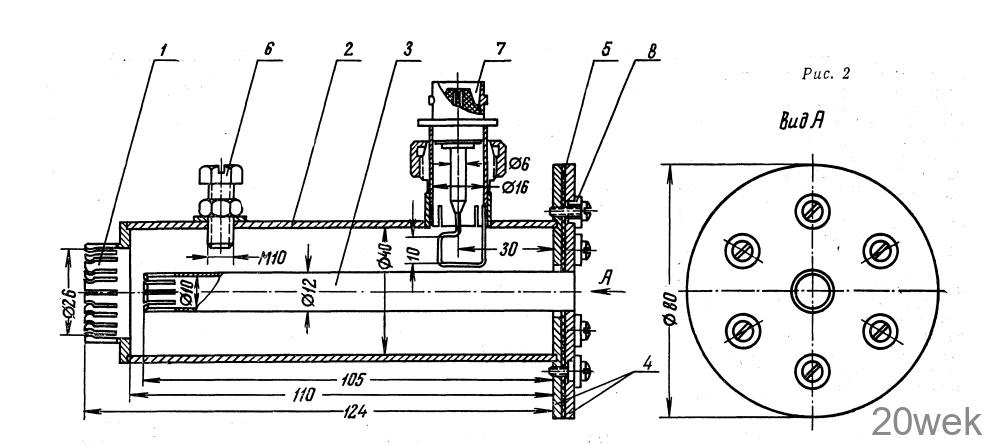
Конструкция. Анодный контур (рис. 2) представляет собой короткозамкнутый четвертьволновый отрезок коаксиальной линии, образованный внешней трубой 2 и внутренней 3. Припаянные к трубам 2 и 3 фланцы 4, между которыми проложена диэлектрическая прокладка 5 из фторопласта, слюды или лакоткани толщиной 0,1—0,2 мм, образуют конденсатор С4. Эти фланцы скреплены друг с другом винтами через изолирующие шайбы 3. К фланцу трубы 3 привинчен лепесток для подпайки дросселя Др3. Петля устройства связи 7 ориентируется вдоль оси трубы 3. Она изготовляется из медной посеребренной проволоки диаметром 1 мм. Конструкция устройства связи должна быть такова, чтобы его петля не прикасалась к внутренней трубе 3, на которую подается напряжение +300 в. Трубы контура L1 изготовляются из медной или латунной трубки. Открытые концы их заканчиваются цангами 1 в которые вставляются анодный и сеточный контакты лампы ГИ12Б.

Настройка контура L1 осуществляется подстроечным винтом 6, который при полном ввинчивании не должен касаться трубы 3. Минимальный зазор между винтом 6 и трубой 3 должен быть не менее 0,5 мм. После изготовления и настройки все детали контура желательно посеребрить.
Детали каскада, показанные на рис. 1 внутри пунктирной линии, размещены в медном или латунном закрытом шасси размерами 100Х80Х 100 мм. Это шасси соединяется с сеткой лампы также при помощи цанги.
Контур L1 и шасси прикрепляются к металлическому листу толщиной 5 мм и размерами 150X250 мм и закрываются кожухом с жалюзи. Дроссели Др1Др2Др3 намотаны на сопротивлениях ВС—1 вт 68 ком проводом ПЭВ 0,51 в один слой по всей длине сопротивления.
Настройка. Настройка генератора производится при помощи индикатора напряженности поля, в качестве которого можно использовать резонансный волномер (типа ВМТ-Д или ВСТ-2Д).
Перед настройкой нужно установить величину сопротивления порядка 3—4 ком, присоединить к каскаду антенну и проверить отсутствие коротких замыканий между трубой 3 и петлей связи, а также между винтом 6 и этой же трубой. После этого подают на лампу ГИ12Б анодное напряженней напряжение возбуждения от передатчика на 144—146 Мгц. Затем, вращая винт 6, добиваются максимальных показаний прибора индикатора напряженности поля.
Конструктивные размеры контура таковы, что он может настраиваться только на третью гармонику передатчика на 144—146 Мгц, то есть на 432—438 Мгц, но может быть случай когда, ввиду отличия размеров контура от указанных на рис. 2, осуществить настройку каскада винтом 6 будет невозможно. В этом случае следует сделать трубу 2 длиннее на 3—4 мм и при настройке, в случае необходимости, укоротить ее со стороны цанги.
Результаты испытаний. Каскад был установлен на радиостанции UB5KYU (гор. Новомосковск, Днепропетровской области) и подключен к антенне, находившейся в помещении радиостанции на втором этаже здания
Сигналы в диапазоне 430— 440 Мгц принимались радиостанцией UB5KDO в Днепропетровске (расстояние более 30 км) на КВ приемник с конвертером и одновременно на сверхрегенератор. Слышимость оценивалась соответственно баллами 595 и 585. Сигнал был стабильным и в течение всего эксперимента (около двух часов) подстраивать приемную аппаратуру не приходилось.





