УСИЛИТЕЛЬ НЧ
Э. Вальтсготт, Радио №10/1964, ст.41
Основные технические данные. Усилитель НЧ рассчитан на работу от микрофона и звукоснимателя. Чувствительность его с первого входа (вход 1) равна 20 мв, а со второго (вход 2) — 10 мв. Выходная мощность усилителя 14 вт. Раздельные регуляторы тембра позволяют изменять уровень сигнала в области высших и низших звуковых частот в пределах от —15 до +15 дб. Усилитель питается от сети переменного тока напряжением 220 в. Смонтирован он в корпусе размером 48X48X35 см, вес его 25 кг. Громкоговорители размещены в двух отдельных ящиках (рис. 1) так, что их можно установить в любом удобном месте.

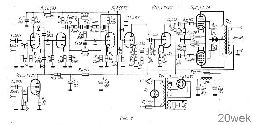
Принципиальная схема. Усилитель НЧ собран на шести лампах (рис. 2). Оба триода лампы Л1 типа ЕСС83 используются в первых каскадах раздельных для каждого входа предварительных усилителей НЧ. Второй и третий каскады усилителя также выполнены на двух триодах лампы Л2 типа ЕСС83. Между ними включены регуляторы тембра высших и низших звуковых частот. Третья лампа типа ЕСС83 работает в четвертом каскаде предварительного усилителя напряжения и фазоинверторе. Выходной каскад усилителя НЧ собран по двухтактной схеме на двух лампах типа ЕА84. Чтобы усилитель не возбуждался на УКВ в цепи этих ламп включены сопротивления R27 и R29 по 100 ом. Экранирующие сетки ламп выходного каскада через сопротивления R31 и R32 подключены к индикаторной лампе Л7. Нормальный ток через лампу 50 ма. Если напряжение на управляющих сетках выходных ламп слишком велико, то ток экранирующих сеток, составляющий в нормальном режиме 8 ма, может возрасти до 50 ма. В этом случае загорается лампа Л7, что свидетельствует о перегрузке выходного каскада. Чтобы этого не произошло, регуляторы громкости R1 и R33 должны быть установлены в такое положение, при котором лампа Л7 не горит. От этого контроля ни в коем случае нельзя отказываться, так как при чрезмерном токе экранирующих сеток лампы EL84 могут выйти из строя.

Усилитель нагружен на два громкоговорителя с сопротивлением звуковых катушек 7 ом. Оба громкоговорителя соединены последовательно, так что полное сопротивление нагрузки становится равным 14 ом.
Детали и конструкция. Корпус усилителя НЧ изготовлен из листового алюминия. Размеры его (рис. 3, б) следует считать ориентировочными. Передняя и задняя панели корпуса отполированы. На передней панели (слева направо) размещены переключатель входа (он может быть заменен вторым регулятором громкости и поэтому не показан на принципиальной схеме), регулятор громкости, указатель уровня, регулятор тембра низших частот, регулятор тембра высших частот, контрольная неоновая лампа и выключатель сети. На задней панели (слева направо) расположены фишка для включения сетевого шнура, предохранитель анодной цепи (не показан на принципиальной схеме, но может быть установлен для повышения безопасности), сетевой предохранитель, отверстие, за которым находится переменное сопротивление 100 ом, уменьшающее фон переменного тока; гнездо входа 1; гнездо входа 2 и гнезда для включения громкоговорителей. Несколько замечаний следует сделать о монтаже усилителя. Присоединять к общей шине цепи одного каскада необходимо в одной точке, чтобы предотвратить фон переменного’ тока. Оплетка экранированных проводников также должна быть присоединена к минусовой шине лишь в одном месте — в точке заземления соответствующего каскада. Ни в коем случае нельзя присоединять к оплетке. экранированных проводов заземленные выводы деталей. Общий вид и монтаж усилителя НЧ показан на рис. 4,5.



Намоточные данные выходного трансформатора приведены в табл. 1, а схема его намотки на рис. 6. Выводы 2 и 4 обмотки выходного трансформатора оставляют свободными, а 6—8 присоединяют к минусовой шине. Данные силового трансформатора приведены в табл. 2.


Дроссель в выпрямителе можно применить любой, нужно только, чтобы он был рассчитан на ток 140 ма и имел возможно большую индуктивность. Ящик для громкоговорителей сделан из дерева и оклеен зеленым дерматином. Он состоит из двух половин, которые связаны между собой шарнирами (рис. 1). Отражательные доски привернуты к специальным планкам. На каждой доске установлен один громкоговоритель. При перевозке обе половины футляра соединяют так, чтобы отражательные доски были направлены в противоположные стороны. Кроме того, доски закрываются откидными крышками, которые при работе установки открываются и увеличивают площадь отражательных досок

ОТ РЕДАКЦИИ: Лампу ЕСС83 можно заменить лампой 6Н2П, а лампу EL84 лампой 6П14П. В выпрямителе может быть применен любой двуханодный кенотрон с анодным током порядка 140 ма. Силовой и выходной трансформаторы можно намотать на сердечниках из пластин Ш85.





