Триодный усилитель класса В
Е. ЗЕЛЬДИН, Радио №4/1967, ст.25
Преимущественное применение лучевых тетродов и пентодов в оконечных каскадах усилителей НЧ промышленной и любительской аппаратуры принято объяснять тем, что эти лампы, в сравнении с триодами при той же выходной мощности, требуют меньшего раскачивающего напряжения на управляющих сетках и обладают большим к.п.д. Между тем в последние годы появились триоды с большой крутизной, применение которых позволяет выполнять усилители, по большинству показателей (включая экономичность и к.п.д.) превосходящие аналогичные устройства на лучевых тетродах и пентодах.
Оконечные каскады на триодах обладают низким уровнем нелинейных искажений даже без введения отрицательной обратной связи, малым выходным сопротивлением, благодаря чему уменьшаются переходные искажения и могут быть существенно сокращены габариты выходного трансформатора.
Большим достоинством триодов является и то, что при значительных отклонениях величины приведенного сопротивления анодной нагрузки от оптимальных значений характеристики усилителей меняются мало. В случае применения двойных триодов в двухтактных каскадах одна сдвоенная лампа, помимо выигрыша места, хороша и тем, что разброс параметров обеих ее половин, как правило, меньше, чем двух независимых случайных ламп. Ниже описывается простой двухламповый усилитель (рис. 1), который может быть установлен в радиоприемниках, магнитофонах, переговорных устройствах, электропроигрывателях и другой аппаратуре.

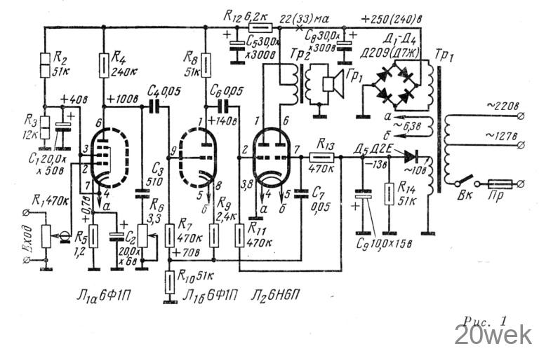
В оконечном каскаде усилителя используется двойной триод типа 6К6П, работающий в режиме класса В1. В этом режиме лампа развивает мощность 2,5 вт при напряжении анодного питания 250 в и анодном токе менее 35 ма, с эффективным напряжением на сетках около 9 в. При анодном напряжении 300 в выходная мощность каскада 3,5 вт. Коэффициент нелинейных искажений без отрицательной обратной связи не превышает 3—4% и менее 1% с неглубокой обратной связью. Полная выходная мощность обеспечивается при входном сигнале 25— ЗОмв. Уровень собственных шумов— 48 дб. Частотная характеристика линейна в пределах 40—15 000 гц с завалом — 2 дб по краям диапазона.
Чтобы не снижать чувствительность, усилитель выполнен без отрицательной обратной связи. Достоинства триодного каскада в полной мере раскрываются при работе на хорошие динамические громкоговорители с низкой резонансной частотой подвижной системы.
Пентод лампы Л1 типа 6Ф1П работает в каскаде предварительного усиления напряжения. Коэффициент усиления каскада составляет 280-350, что обеспечивается выбором начального смещения в области максимальной крутизны пентода. Так как входной сигнал мал, искажения, вносимые этим каскадом, практически, ничтожны. С целью уменьшения уровня фона накальная обмотка трансформатора не заземлена, а имеет относительно шасси потенциал 40 в (один из ее концов подключен к экранной сетке).
Следует отметить, что на уровень фока существенно влияет и величина емкости конденсатора С1, которая должна быть по возможности большей. Триод лампы Л1 работает в каскаде фазоинвертора с раздельной нагрузкой.
Потенциометр R6 служит регулятором тембра в области высших звуковых частот. При введенном резисторе R6 ослабление усиления на частоте 5 кгц превышает 8 дб. В случае надобности молено применить также и регулировку по низшим частотам.
На сетки обоих триодов оконечного каскада (лампа Л2 типа 6Н6П) подано фиксированное смещение, создающееся диодом Д5 и фильтрующей цепочкой R14С9, подключенными к специальной обмотке смещения силового трансформатора. Для хорошей работы оконечного каскада величину напряжения смещения следует выдерживать возможно точнее. Если напряжение смещения будет больше требуемой величины — появятся искажения, при малом смещении резко возрастет анодный ток и снизится выходная мощность. В небольших пределах напряжение смещения молено изменять подбором резистора R14.

В тех случаях, когда предполагается использовать уже готовый силовой трансформатор, обмотку смещения можно намотать любым изолированным проводом поверх имеющихся обметок. Если домотка связана с трудностями, можно применить комбинированное смещение (см. вариант схемы на рис. 3) за счет выпрямления накального напряжения и падения напряжения на катодном резисторе R8. Накальная обмотка уже не подключается к экранирующей сетке пентода, а конец ее заземляется. Уровень фона при этом возрастает.

Для усилителей, работающих в режиме класса В, характерна зависимость анодного тока оконечного каскада от мощности, рассеиваемой на нагрузке, что ведет, в свою очередь, к колебаниям анодного напряжения. Преимущество описываемой схемы состоит в том, что изменения анодного тока происходят в небольших пределах — от 22 ма в режиме молчания до 30—33 ма при максимальной мощности — и на величину анодного напряжения влияют мало. Кроме того, в таких усилителях влияние индуктивности рассеяния обмоток выходного трансформатора сказывается гораздо сильнее, чем в усилителях, работающих в режиме класса А. Вредное действие ее проявляется в росте нелинейных искажений в области высших частот, начиная примерно с 7—8 кгц. Особых мер по уменьшению индуктивности рассеяния можно не принимать, важно только соблюсти определенный порядок размещения обмоток, так как искажения рассматриваемого вида обусловлены третьей и более высокими гармониками сигнала (частотой 20 кгц и выше), которые находятся вне полосы воспроизведения динамических громкоговорителей.
Выходной трансформатор собран на сердечнике из пластин Ш-12 (окно 12X30 мм), толщина набора 20 мм. Первичная обмотка состоит из двух секций, каждая из которых содержит по 2 300 витков провода ПЭВ 0,12; вторичная обмотка имеет 74 витка провода ПЭЛ 0,74. При изготовлении трансформатора вторичная обмотка наматывается между обеими секциями первичной обмотки и тщательно изолируется от них. В ходе монтажа к плюсовому проводу анодного питания подключаются конец первой секции и начало второй секции первичной обмотки. Обе секции первичной обмотки можно намотать без прокладок. Сердечник трансформатора собирается без зазора (пластины набираются впере- крышку).
Оптимальной нагрузкой для трансформатора с точки зрения максимальной отдачи являются громкоговорители с сопротивлением звуковой катушки 3—5 ом (например, типа 1ГД-19, ЗГД-28, 4ГД-7), что соответствует приведенному сопротивлению нагрузки на одну лампу 3— 5 ком, Однако усилитель будет хорошо работать и с громкоговорителями, сопротивления которых находятся в пределах 2—10 ом. Как при этом меняется выходная мощность и коэффициент нелинейных искажений, показано на рис. 2. Если сопротивление нагрузки существенно отличается от указанных пределов, следует изменить число витков вторичной обмотки, пересчитав его по следующей формуле: WII=37√Rr где Rr сопротивление звуковой катушки, ом.
Выпрямитель собран по обычной мостовой схеме, что не исключает возможности использования двух- полупериодного выпрямителя по схеме со средней точкой. Применять в выпрямителе селеновые столбики и кенотроны, имеющие по сравнению с германиевыми и кремниевыми диодами значительно большее сопротивление, — нежелательно. При составлении монтажной схемы следует иметь в виду, что у лампы 6Ф1П ножки управляющей сетки пентода и анода триода расположены рядом, поэтому при неудачном монтаже усилитель может возбудиться. По этой причине налаживать усилитель следует при отключенной цепочке регулировки тембра С3R6.
Если от усилителя не требуется высокая чувствительность, в схему может быть введена отрицательная обратная связь, например со вторичной обмотки выходного трансформатора в катод входной лампы (конденсатор, шунтирующий катодное сопротивление, исключается). Нелинейные искажения при этом уменьшаются.
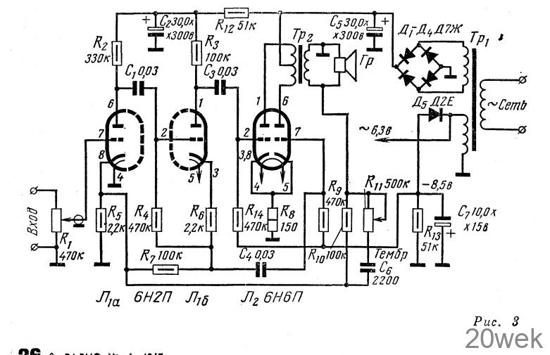
Вместо лампы 6Ф1П в первых каскадах может быть использована лампа 6Н2П (рис. 3). Номинальная выходная мощность такого усилителя — 2,5 вт при коэффициенте нелинейных искажений 0,7—1% (на частоте 1 кгц) и входном сигнале 150—200 мв. Выходной трансформатор в этом варианте за счет введения отрицательной обратной связи может быть сделан более компактным, чем описанный выше,— пластины Ш-12 (окно 12X26 мм), толщина набора 18 мм, первичная обмотка состоит из двух секций по 1 800 витков каждая провода ПЭВ 0,13; вторичная содержит 95 витков провода ПЭЛ 0,59 (для оптимальной нагрузки 13 ом — два громкоговорителя 1ГД-18 или 1ГД-19). Вторичная обмотка наматывается между секциями первичной, как было описано выше.
Второй вариант усилителя может быть с успехом использован с электропроигрывателями и магнитофонными приставками («Нота», «МП-64»).
Силовой трансформатор собран на сердечнике из пластин Ш-16 (окно 16X40 мм), толщина набора 32 мм. Сетевая обмотка содержит 1 200 витков провода ПЭВ 0,28 (127 б)+880 витков провода ПЭВ 0,23, анодная — 2040 витков провода ПЭВ 0,16; накальная — 68 витков провода ПЭЛ 0,84; обмотка смещения — 97 витков провода ПЭЛ 0,12.
В тех случаях, когда анодное напряжение отличается от 250 в, режим оконечного каскада можно определить по графикам, приведенным на рис. 4. Чтобы сохранить неизменным режим первой лампы, потребуется также подобрать величину резистора R12

