ЭКОНОМИЧНЫЙ КАРМАННЫЙ ПРИЕМНИК
Э. БУЯНОВ, Радио №4/1967, ст.27
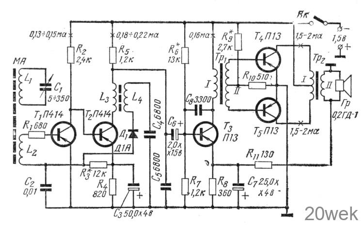
Приемник собран по схеме прямого усиления с рефлексным использованием первых двух транзисторов. Он рассчитан на прием местных и мощных дальних радиостанций, работающих в диапазоне волн 600—1700 м. Чувствительность приемника 10 мв/м, номинальная выходная мощность — не менее 30 мет. Источник питания — батарея напряжением 1,5 в. Принципиальная схема приемника приведена на рисунке.

Катушки L1 и L2 магнитной антенны намотаны на ферритовом стержне Ф-600 длиной 70 мм. Контурная катушка L1 имеет 7 секций по 50 витков в каждой, намотанных проводом ПЭЛШО 7X0,06 (можно применить и провод ПЭЛШО 0,12). Длина на мотки каждой секции 4 мм, расстояние между секциями 2 мм. Катушка связи L2 размещена между третьей и четвертой и четвертой и пятой секциями контурной катушки и содержит 15—25 витков провода ПЭЛШО 0,12. В качестве С1 применен конденсатор переменной емкости чехословацкой фирмы «Тесла».
Высокочастотный трансформатор L3L4 намотан на ферритовом кольце Ф-600 диаметром 8 мм. Катушка L3 содержит 60 витков, а — 240 витков провода ПЭЛ 0,1. Согласующий Тр1 и выходной Тр2, трансформаторы использованы готовые, типов ТСМ и ТВМ, выпускаемые промышленностью. Для самостоятельного изготовления данные их следующие: Tp2— обмотка I—2X450 витков провода ПЭВ 0,09; обмотка II — 80 витков ПЭВ 0,23; Тр1 — обмотка I — 2100 витков ПЭВ 0,06; обмотка II—2X290 витков ПЭВ 0,06. Сердечники обоих трансформаторов — из стандартных пермаллоевых пластин Ш4, толщина набора 6 мм.
В приемнике применены два высокочастотных транзистора типа П414 и три низкочастотных типа П13. Первые из них можно заменить транзисторами П401—П403, П421—П422, вторые — П14—П16, П39—П42. Рекомендуемые коэффициенты усиления по току транзисторов (В) следующие: для Т1, Т2., В— 40-80; для Т3 £=30-:-50; для Т4, Т5 В= 25-40.
Режимы транзисторов по постоянному току указаны на схеме. Они устанавливаются подбором величин резисторов R3, Rб, R9 При использовании деталей с номиналами, указанными на схеме, приемник не требует подгонки режимов.
Если собранный приемник будет возбуждаться, то в первую очередь необходимо попробовать повернуть кольцо с катушками L3, L4 вокруг своей оси до прекращения генерации, а затем закрепить его в этом положении каплей клея БФ-2. Если эта мера не поможет, то нужно последовательно проделать следующие операции: поменять местами концы катушки L4; увеличить сопротивление резисторов R1 и R3, поменять местами концы катушки L2.
Для снижения нелинейных искажений в приемнике применена отрицательная обратная связь со вторичной обмотки Тр2 на эмиттер Т3. Здесь необходимо опытным путем (по качеству звучания) установить, какой конец вторичной обмотки Тр1, следует подключить к резистору R11. Подбором величины этого резистора можно установить и нужный тембр звучания.
Для питания приемника может быть использован любой источник питания напряжением от 1,1 до 2 В, например элементы 1,3-ФМЦ-0,25; «316» и другие. Можно использовать и один элемент от батареи КБС-Л-0,5. В режиме молчания приемник потребляет ток 3,5—4,5 ма.
Приемник смонтирован в корпусе с внутренними размерами 80Х70Х35 мм. Монтаж приемника выполнен на гетинаксовой плате толщиной 1,5 мм и размерами 80X70 мм.
