Транзистор регулирует температуру
За рубежом. Радио №2/1963 ст.53
Известно, что параметры транзисторов некоторых типов очень сильно зависят от температуры. Это свойство может быть использовано для создания, термостата. Схема такого термостата очень проста и обеспечивает регулирование температуры в пределах 15° С (от +20° до +35° С) с чувствительностью не хуже +0,3°.
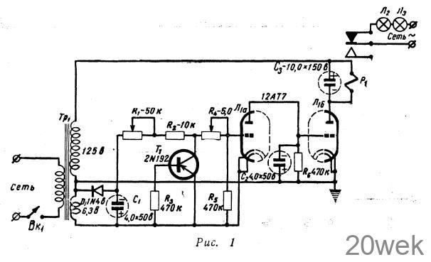
Термостат рассчитан на длительную непрерывную работу. Питание схемы осуществляется от сети переменного тока (см. рис. 1).

Транзистор включен по схеме усилителя с заземленным эмиттером и играет роль переменного сопротивления, величина которого зависит от окружающей температуры. Сопротивления транзистора совместно с сопротивлениями R1, R2, R4 и R5 образуют делитель напряжения смещения лампы Л. Выпрямитель напряжения смещения питается от накальной обмотки трансформатора Тр1 и создает на конденсаторе фильтра С1 напряжение постоянного тока около 8в.
Так как при изменении температуры окружающей среды меняется ток коллектора транзистора T1, то напряжение на сетке лампы Л1а, может изменяться от —0,8 в до —7 в. Сопротивление R1 регулирует отрицательное напряжение на коллекторе транзистора и таким образом служит регулятором средней температуры термостата.
Сопротивление R4 совместно с R5 регулирует смещение лампы Л1а и таким образом служит регулятором чувствительности (то есть точности поддержания средней температуры). Усилитель постоянного тока с гальванической связью, собранный на лампе Л1б (1/2 12АТ7), служит для управления работой реле Р1.
Так как анод триода Л1а заземлен через сопротивление R6 и конденсатор С2, то ток через эту лампу появляется лишь в моменты отрицательных полуволн переменного напряжения 6,3 в, подаваемого на ее катод. При этом величина падения напряжения на сопротивлении R6, являющаяся напряжением смещения триода Л1б, зависит от величины смещения триода Л1а, которая в свою очередь определяется делителем напряжения с транзистором, работа которого описана выше.
Через триод Л1б ток протекает лишь в положительные полупериоды напряжения на верхнем (по схеме) конце повышающей обмотки трансформатора Тр1. Он зависит от напряжения на сетке этой лампы. При достижении некоторой определенной величины тока срабатывает реле Р1, к контактам которого подключен нагревающий элемент (осветительные лампы и др.).
Транзистор Т1 подключается через переходной кабель к колодке на шасси, что позволяет устанавливать его в необходимом месте.
Налаживание прибора достаточно просто. Для этого необходимо изготовить из картона такую коробку, чтобы в ней можно было бы разместить две осветительные лампы, обычный термометр и транзистор Т1. Расстояние от ламп до термометра, транзистора и стенок ящика должно быть по возможности больше. Осветительные лампы подключаются к сети через контакты реле Р1. Для наблюдения за показаниями термометра в коробке делают окно и закрывают его стеклом или целлофаном.
Процесс налаживания состоит в следующем: движки сопротивлений R1 и R4 устанавливают в правое крайнее (по схеме) положение и включают прибор. Реле Р1 при этом должно быть замкнуто и осветительные лампы будут гореть. За температурой внутри ящика следят по обыкновенному термометру. Когда температура достигнет 35° С, поворачивают влево движок R1, пока не погаснут лампы. Затем ожидают, когда лампы зажгутся снова, и замечают температуру внутри ящика. Температуру внутри ящика при включении и выключении ламп надо измерить несколько раз и вывести средние данные наблюдений. Измерения и вычисления производят в разных положениях движка потенциометра R1 и R4 . Полученные данные отмечают на шкалах потенциометров.
Popular Electronics», № 4, 1962 г.
ОТ РЕДАКЦИИ: Вместо транзистора 2N192 можно применить П13—П15, а лампу 12АТ7 заменить 6Н1П. Из транзисторов П13—П15 нужно подобрать экземпляр, наиболее хорошо работающий в данном устройстве.





