Стабилизаторы напряжения с защитой от коротких замыканий
А. Буденко, Радио №9/1964, ст.44
Практика показывает, что большинство стабилизаторов очень чувствительно к короткому замыканию нагрузки. Даже при самой осторожной работе можно, например, уронить пинцет или проводник на монтаж, что может вызвать короткое замыкание и в большинстве случаев выход из строя либо стабилизатора, либо выпрямителя.
Известно несколько способов защиты стабилизаторов от короткого замыкания, но все они сравнительно сложные.
На рис. 1 показана схема стабилизатора, не боящегося коротких замыканий. С выхода стабилизатора снимается регулируемое напряжение от О до 15 в при нестабильности питающего напряжения в пределах+/- 10% —20%. Номинальный ток стабилизатора составляет 100 ма.

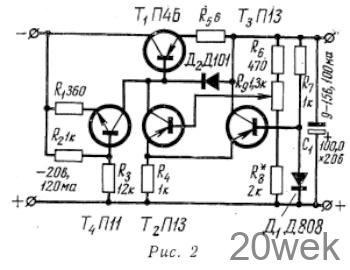
При увеличении тока сверх 100 ма падение напряжения на сопротивлении R5 увеличивается, кремниевый диод Д2 открывается, препятствуя увеличению тока базы транзистора T1 и увеличению тока его нагрузки. Выходное сопротивление стабилизатора в зоне стабилизации около 2 ом, а при увеличении тока нагрузки оно резко возрастает, в результате чего этот ток уменьшается. Подбором сопротивления R5 устанавливают величину предельного тока. При коротком замыкании ток не превосходит своей предельной величины.
Ток нагрузки транзистора не зависит от изменения напряжения на его коллекторе, вызываемого регулировкой выходного напряжения от 0 до 15 в.
Транзистор П11 (Т4) можно заменить любым другим маломощным транзистором, например П8—П10.
Вместо Д101 (Д2) можно использовать любой точечный кремниевый диод Д102—Д106.
Транзистор T1 выбирают, исходя из требуемой величины тока нагрузки, Тз и Тз— маломощные транзисторы П13—П16.
Если брать стабилитроны с меньшим напряжением стабилизации, то необходимо уменьшить величину сопротивления R8. Стабилитроны обычно имеют значительный разброс параметров, поэтому при желании регулировать напряжение в определенных пределах (например от 0 до 15 в), необходимо точно подобрать величину сопротивления R8. Для этого сопротивлением R9 устанавливают максимальное выходное напряжение стабилизатора, а затем подбирают величину сопротивления R8 до получения необходимой величины напряжения на выходе, увеличению сопротивления R8 соответствует уменьшение выходного напряжения. Сопротивление R5 намотано высокоомным проводом.
Достоинством стабилизатора (рис. 1) является довольно широкий диапазон изменения выходного напряжения (от 15 в до нескольких десятых долей вольта), а недостатком — необходимость двух источников питания. Если регулировать выходное напряжение в таких широких пределах нет необходимости, то можно рекомендовать более простую схему стабилизатора (рис. 2), напряжение которого можно изменять в пределах 9—15 в. Этот стабилизатор питается только от одного источника питания. Все сказанное выше о работе и налаживании предыдущего стабилизатора в полной мере относится и к этому.

Иногда требуется стабилизатор какого-то определенного, фиксированного напряжения. В этом случае схема может быть еще более упрощена (рис.З). Подбирая величину сопротивления R4, можно установить любое фиксированное выходное напряжение в пределах от 9 до 15 в, в данном случае оно равно 10 в.

Все описанные стабилизаторы предназначены для экспериментальной работы и поэтому снабжены защитой, предохраняющей их от коротких замыканий. Выходное сопротивление их составляет 2—3 ом, а коэффициент стабилизации 20—50 в зависимости от выходного напряжения и качества транзисторов.
Эти стабилизаторы рассчитаны на ток не более 100 ма. Используемые в них мощные транзисторы П4Б не нуждаются в радиаторах (только в первом стабилизаторе радиатор может быть полезен). Это существенно упрощает конструкцию прибора.
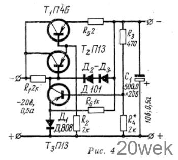
Если требуется больший ток нагрузки, то можно рекомендовать стабилизатор, собранный по схеме рис. 4. Выходное напряжение 10 в, ток нагрузки до 0,5 а. Транзисторы T1 и Т2 монтируются на общем радиаторе площадью не менее 20 см2. Стабилизатор защищен от коротких замыканий.

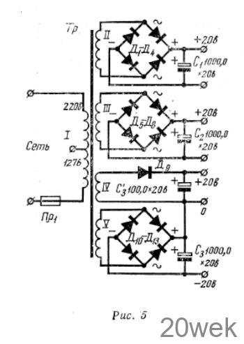
Все описанные стабилизаторы питаются выпрямленным напряжением 20 в. Выпрямитель собран по мостовой схеме (рис. 5).

Трансформатор Tp1 выполнен на сердечнике Ш-20, толщина набора 20 мм. Обмотки содержат: I—1590+ + 1140 витков провода ПЭВ 0,1; II, III и V — по 195 витков провода ПЭВ 0,25; а IV—195 витков провода ПЭВ 0,1. Диоды Д1—Д13 типа Д7А—Д7Ж. На выходе стабилизаторов включены конденсаторы для уменьшения выходного сопротивления в области высоких частот и для развязки при импульсной нагрузке. Эти конденсаторы также уменьшают возможность самовозбуждения стабилизатора





