Система цветного телевидения SECAM
М. Локшин, Радио №10/1965, ст.15
Известно, что все оттенки любого цвета можно получить, комбинируя в различных пропорциях три так называемых основных цвета; синий, красный и зеленый. Это нашло практическое применение в различных областях техники, как то при печатании цветных иллюстраций, в цветной фотографии и др. Все современные системы цветного телевидения также используют этот принцип.
В системах цветного телевидения применяются передающие камеры с тремя трубками—по числу основных цветов. Камера имеет три выхода телевизионных сигналов. Сигнал каждого выхода (условимся называть его , в дальнейшем сигналом цветности) соответствует одному из перечисленных выше основных цветов изображения. Эти сигналы обозначаются: красный ЕR, зеленый EG и синий ЕB (в качестве индексов взяты начальные буквы английских слов: red— красный, green— зеленый и blue— синий). В процессе дальнейшего прохождения сигналов цветности оказалось необходимым несколько видоизменить их для того, чтобы сигналы цветного телецентра могли быть приняты в черно-белом виде на обычные, нецветные телевизоры и наоборот — на цветные телевизоры можно было принимать черно-белые сигналы обычных телецентров. Такие системы цветного телевидения называются совместимыми.
Изменение это заключается в том, что зеленый сигнал цветности EG в передающем тракте заменяется на так называемый яркостный сигнал Еу. Этот сигнал получается при смешивании в строго определенной пропорции всех трех сигналов цветности. Он эквивалентен сигналу чернобелого телевидения. Для приема на обычные (нецветные) телевизоры изображения, передаваемого в цвете, используется именно этот сигнал. Таким образом, в составе полного цветного телевизионного сигнала, излучаемого антенной телецентра, присутствуют два сигнала цветности красный ЕR и синий Ев, а также яркостный сигнал Еу. В цветном телевизоре зеленый сигнал цветности восстанавливается, и на кинескоп поступают все три сигнала: ER, Ев и EG.
Яркостный сигнал Еу занимает всю полосу частот телевизионного канала. Для передачи сигналов цветности в пределах полосы частот телевизионного канала выбирается специальная «цветовая» поднесущая частота fцв (рис. 1), которая модулируется сигналами цветности. Все известные в настоящее время системы цветного телевидения построены по описанному выше принципу и отличаются друг от друга лишь способами модуляции цветовой поднесущей частоты.

Ввиду того, что основные параметры совместимых систем цветного телевидения (Ширина полосы телевизионного канала, значение и расстояние несущих частот изображения и звукового сопровождения, частоты разверток) не отличаются от таких же параметров черно-белого телевидения, многие узлы цветных и чернобелых телевизионных передатчиков и приемников будут аналогичными. Отличие передатчиков и приемников цветного телевидения от черно-белых установок заключается в применении специальных цветных передающих и приемных трубок, а также в наличии устройств, кодирующих сигналы цветности (с передающей стороны) и декодирующих эти сигналы (с приемной стороны).
В настоящее время наиболее известны три совместимые системы цветного телевидения: американская NTSC, французская SECAM и западногерманская PAL. Система PAL появилась позже других и близка к системе NTSC. Первая по времени появления система NTSC имеет амплитудно-фазовую модуляцию цветовой поднесущей частоты, а система SECAM — частотную.
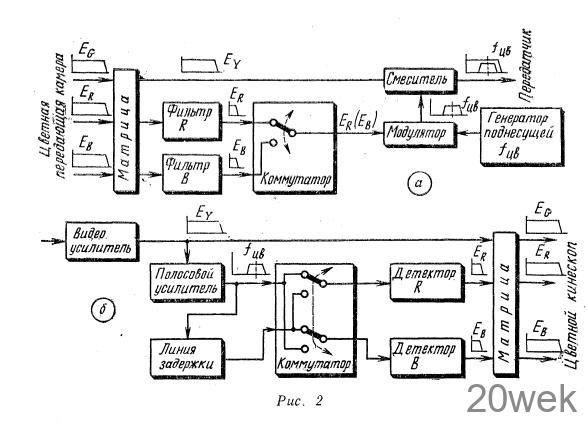
На рис. 2 изображены упрощенные блок-схемы кодирующего и декодирующего устройств системы SECAM. В кодирующем устройстве (рис. 2,а) выходы цветной передающей телевизионной камеры подключены к специальному устройству, так называемой матрице, где из сигналов цветности формируется яркостный сигнал Еу. Матрица имеет три выхода: яркостного сигнала Еу и сигналов цветности ER и Ев. Полосы частот всех сигналов на выходах матрицы имеют одинаковую ширину, равную ширине полосы частот телевизионного сигнала. Наш глаз видит в цвете только сравнительно крупные детали, а мелкие подробности изображения представляются ему в черно-белом виде. Поэтому оказывается возможным сузить полосу частот для сигналов ER и Ев, что и осуществляется при помощи фильтров, к которым подключены выходы матрицы, несущие эти сигналы.

Особенность системы SECAM состоит в том, что сигналы цветности ER и Ев передаются не одновременно в каждой строке, а поочередно, то есть, например, в течение первой строки передается только сигнал ER, второй строки — Ев, третьей строки— опять ER и т. д. Это упрощает аппаратуру системы, не влияя на качество изображения. Для того чтобы осуществить такую передачу, узкополосные сигналы цветности ER и EB с выходов соответствующих фильтров подаются на электронный коммутатор, который переключается по окончании каждой строки. Коммутатор подключен к модулятору, в котором происходит модуляция тем или иным сигналом цветности поднесущей частоты fцв, поступающей в модулятор с соответствующего генератора
Окончательное формирование полного цветного телевизионного сигнала по системе SECAM происходит в смесителе, куда поступает яркостный сигнал Еу с матрицы и промодулированная сигналами цветности поднесущая частота с модулятора. Сформированный сигнал подается на обычный телевизионный передатчик.
Для того чтобы получить правильное цветное изображение на экране цветного кинескопа, необходимо подать на этот кинескоп такие же сигналы цветности, которые мы получаем на выходах цветной передающей телевизионной камеры. Эту задачу выполняет декодирующее устройство, которое в телевизорах системы SECAM работает следующим образом (рис. 2,6).
С выхода видеоусилителя (или видеодетектора) полный цветной телевизионный сигнал поступает на полосовой усилитель, где выделяется полоса частот, в которой расположены сигналы цветности ЕR и EB. Выход полосового усилителя подключен к электронному коммутатору и линии задержки, проходя через которую сигнал задерживается на длительность одной строки. Выход линии задержки соединен также с электронным коммутатором. С электронного коммутатора сигналы подаются на частотные детекторы красного (R) и синего (В) сигналов цветности.
Представим себе теперь, что через полосовой усилитель проходит строка, где цветовая поднесущая частота модулирована сигналом ЕR- Эта строка поступит через коммутатор на соответствующий детектор (на рис. 2,6 коммутатор показан в этом положении) и на линию задержки, где будет задержана до начала следующей строки. Когда через полосовой усилитель будет проходить следующая строка, в которой поднесущая fцв модулирована сигналом EB, коммутатор переключится в нижнее (по схеме) положение, и эта строка пройдет на «синий» детектор. Одновременно предыдущая строка с сигналом цветности ЕR с выхода линии задержки поступит на «красный» детектор, а на эту линию будет подана и задержана в ней строка с сигналом цветности EB. При передаче следующей (третьей) строки с сигналом ЕR коммутатор будет переброшен в верхнее (по схеме) положение и описанный выше процесс повторится с изменением сигналов цветности, поступающих на коммутатор непосредственно и через линию задержки и т. д. Таким образом, на матрицу поступают одновременно два сигнала цветности ЕR и EB, но эти сигналы принадлежат двум расположенным рядом строкам. Одновременное сложение сигналов цветности двух смежных строк возможно потому, что при существующих телевизионных стандартах, когда число строк телевизионного изображения составляет несколько сотен (например, в СССР 625 строк), различия в содержании двух смежных строк настолько незначительны, что практически незаметны. Правильность этого положения подтверждена большим количеством проведенных экспериментов.
Для синхронизации коммутатора декодирующего устройства телевизора в кодирующем устройстве передатчика вырабатываются специальные управляющие импульсы.
Кроме сигналов цветности ЕR и EB, на матрицу декодирующего устройства непосредственно с видеоусилителя (или видеодетектора) поступает яркостный сигнал Еу. В матрице он преобразуется в сигнал цветности EG. С матрицы три сигнала цветности подаются на цветной кинескоп.





